TOP
|
特許
|
意匠
|
商標
特許ウォッチ
Twitter
他の特許を見る
10個以上の画像は省略されています。
公開番号
2025169542
公報種別
公開特許公報(A)
公開日
2025-11-14
出願番号
2024074312
出願日
2024-05-01
発明の名称
静翼セグメント、及びこれを備える蒸気タービン
出願人
三菱重工業株式会社
代理人
個人
,
個人
,
個人
,
個人
,
個人
主分類
F01D
25/32 20060101AFI20251107BHJP(機械または機関一般;機関設備一般;蒸気機関)
要約
【課題】蒸気流路内のドレンを効率的に蒸気流路外に排出する。
【解決手段】静翼セグメントは、翼環と、前記翼環に保持されている静翼列と、を備える。
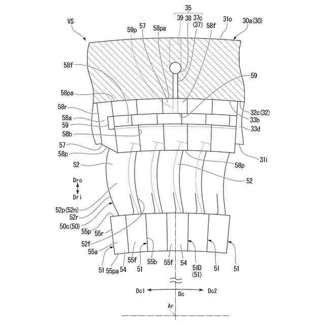
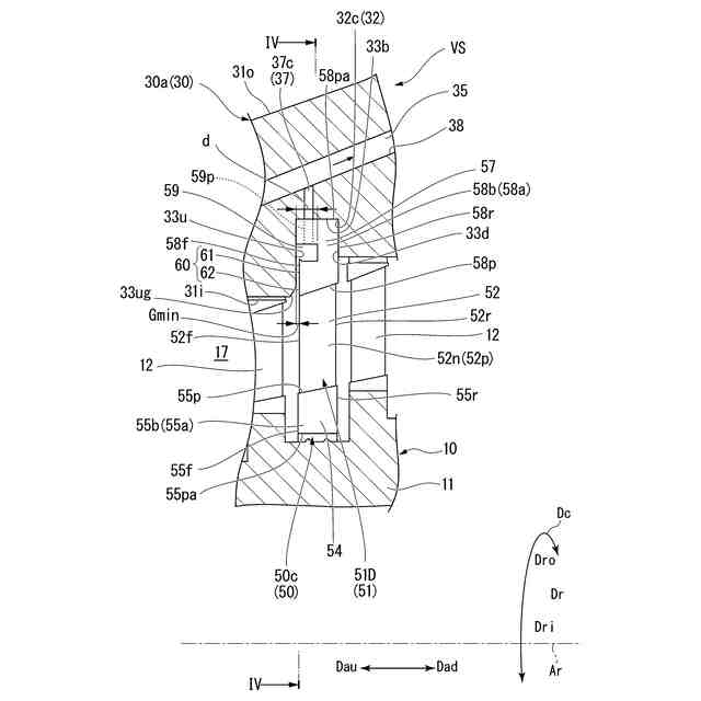
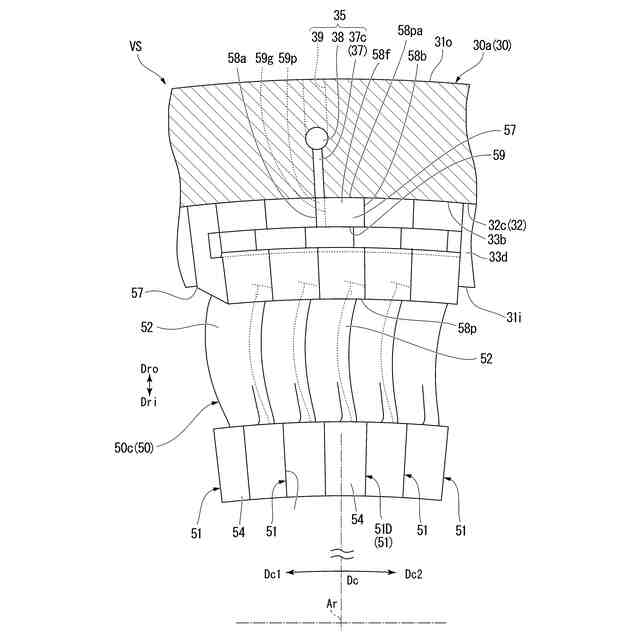
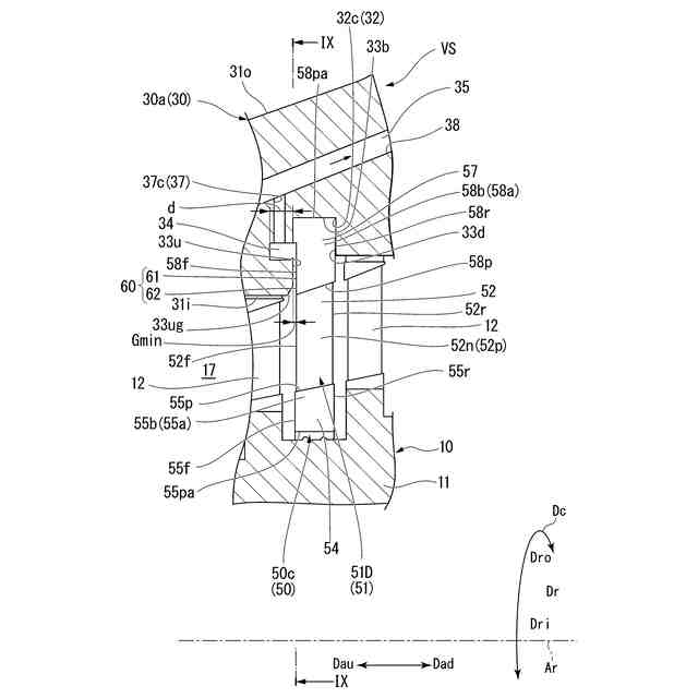
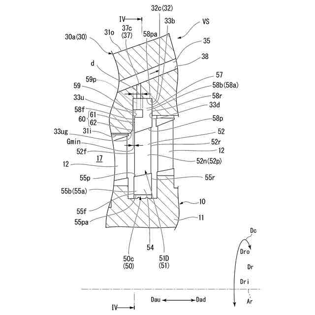
前記翼環は、前記静翼列が有する複数の静翼毎の外側シュラウドの少なくとも一部が入り込んでいる翼溝を有する。前記静翼列が有する複数の静翼毎の外側シュラウドは、前記外側シュラウドの前面から、軸線下流側に凹み、周方向に延びるドレン溜まり溝を有する。前記翼環の上流側溝側面と前記外側シュラウドにおける前記前面との間には、前記翼環の内周面の縁から前記ドレン溜まり溝にまで延びて、蒸気流路中のドレンを前記ドレン溜まり溝に導くことが可能なドレン移送隙間が形成されている。前記ドレン移送隙間における軸線方向の最小隙間は、ドレン溜まり溝における前記軸線方向の溝深さの1/2より狭い。
【選択図】図3
特許請求の範囲
【請求項1】
軸線に対する垂直な断面が環状で、内周側に蒸気が流通可能な蒸気流路を形成する翼環と、
前記翼環に保持されている静翼列と、
を備え、
前記静翼列は、前記軸線に対する周方向に並ぶ複数の静翼を有し、
前記複数の静翼は、いずれも、前記軸線に対する径方向に延びる翼体と、前記翼体の前記径方向における径方向内側と径方向外側とのうちの径方向外側に設けられている外側シュラウドと、を有し、
前記外側シュラウドは、前記径方向内側を向くガスパス面と、前記径方向外側を向く反ガスパス面と、前記軸線が延びる軸線方向における軸線上流側と軸線下流側とのうちで前記軸線上流側を向く前面と、前記軸線下流側を向く後面と、を有し、
前記翼環は、前記径方向内側を向く内周面と、前記径方向外側を向く外周面と、前記内周面から前記径方向外側に向かって凹み前記周方向に延びて、前記複数の静翼毎の前記外側シュラウドの少なくとも一部が入り込んでいる翼溝と、ドレン排出流路と、を有し、
前記翼溝は、前記軸線下流側を向いて前記複数の静翼毎の前記前面に対向している上流側溝側面と、前記軸線上流側を向いて前記複数の静翼毎の前記後面に対向している下流側溝側面と、前記径方向内側を向いて前記複数の静翼毎の前記反ガスパス面に対向している溝底面を有し、
前記翼環と、前記複数の静翼毎の前記外側シュラウドと、のうち、一方の部材のみが、他方の部材と前記軸線方向で対向する面から、前記軸線方向で前記他方の部材の側から前記一方の部材の側に凹み、前記周方向に延びるドレン溜まり溝を有し、
前記翼環の前記上流側溝側面と前記複数の静翼毎の前記外側シュラウドにおける前記前面との間には、前記翼環の前記内周面の縁から前記ドレン溜まり溝にまで前記径方向に延びて、前記蒸気流路中のドレンを前記ドレン溜まり溝に導くことが可能なドレン移送隙間が形成され、
前記ドレン排出流路は、前記ドレン溜まり溝に連通し、前記ドレン溜まり溝内のドレンを前記翼環の外周側に排出可能に構成され、
前記ドレン移送隙間における前記軸線方向の最小隙間は、前記ドレン溜まり溝における前記軸線方向の溝深さの1/2より狭い、
静翼セグメント。
続きを表示(約 2,700 文字)
【請求項2】
請求項1に記載の静翼セグメントにおいて、
前記最小隙間は、2mm以下である、
静翼セグメント。
【請求項3】
請求項1又は2に記載の静翼セグメントにおいて、
前記ドレン移送隙間は、最小隙間部と、前記最小隙間部の前記径方向内側の縁から前記翼環の前記内周面の縁にまで延びるドレン導入隙間部と、を有し、
前記最小隙間部における前記軸線方向の隙間は、前記最小隙間であり、
前記ドレン導入隙間部における前記軸線方向の隙間は、前記最小隙間より広い、
静翼セグメント。
【請求項4】
請求項3に記載の静翼セグメントにおいて、
前記最小隙間に対する前記最小隙間部の前記径方向の寸法の割合は、1以上である、
静翼セグメント。
【請求項5】
請求項1又は2に記載の静翼セグメントにおいて、
前記ドレン溜まり溝よりも前記径方向外側で、前記翼環の前記上流側溝側面と前記複数の静翼毎の前記外側シュラウドにおける前記前面との間の前記軸線方向の間隔は、前記最小隙間よりも狭い、
静翼セグメント。
【請求項6】
請求項1又は2に記載の静翼セグメントにおいて、
前記一方の部材は、前記複数の静翼毎の前記外側シュラウドであり、
前記他方の部材は、前記翼環であり、
前記複数の静翼毎の前記外側シュラウドは、前記ドレン溜まり溝を有し、
前記ドレン溜まり溝は、前記複数の静翼毎の前記外側シュラウドの前記前面から前記軸線下流側に凹み、前記周方向に延び、
前記複数の静翼毎の前記ドレン溜まり溝は、互いにつながるよう前記周方向に並び、
前記複数の静翼のうちの少なくとも一の静翼は、ドレン排出用静翼を成し、
前記ドレン排出用静翼の前記外側シュラウドは、静翼排出流路を有し、
前記静翼排出流路は、前記ドレン排出用静翼の前記外側シュラウドにおける前記ドレン溜まり溝から前記ドレン排出用静翼の前記外側シュラウドにおける前記前面と前記後面と前記反ガスパス面のうちのいずれか一の面まで延びて、前記一の面で開口し、前記翼環の前記ドレン排出流路と連通している、
静翼セグメント。
【請求項7】
請求項6に記載の静翼セグメントにおいて、
前記複数の静翼毎の前記外側シュラウドは、前記周方向に向いて互いに背合わせの関係にある一対の側面を有し、
前記ドレン排出用静翼の前記外側シュラウドは、前記ドレン排出用静翼の前記外側シュラウドにおける前記一対の側面のうちの一方の側面から他方の側面の側に凹み、前記ドレン排出用静翼の前記外側シュラウドにおける前記ドレン溜まり溝から前記反ガスパス面まで前記径方向外側に向かって延びる静翼排出溝を有し、
前記静翼排出流路は、前記静翼排出溝を形成する面を含む面により画定されている、
静翼セグメント。
【請求項8】
請求項1又は2に記載の静翼セグメントにおいて、
前記一方の部材は、前記翼環であり、
前記他方の部材は、前記複数の静翼毎の前記外側シュラウドであり、
前記ドレン溜まり溝は、前記翼環の前記上流側溝側面から前記軸線上流側に凹み、前記周方向に延びて前記軸線周りに環状である、
静翼セグメント。
【請求項9】
請求項1又は2に記載の静翼セグメントにおいて、
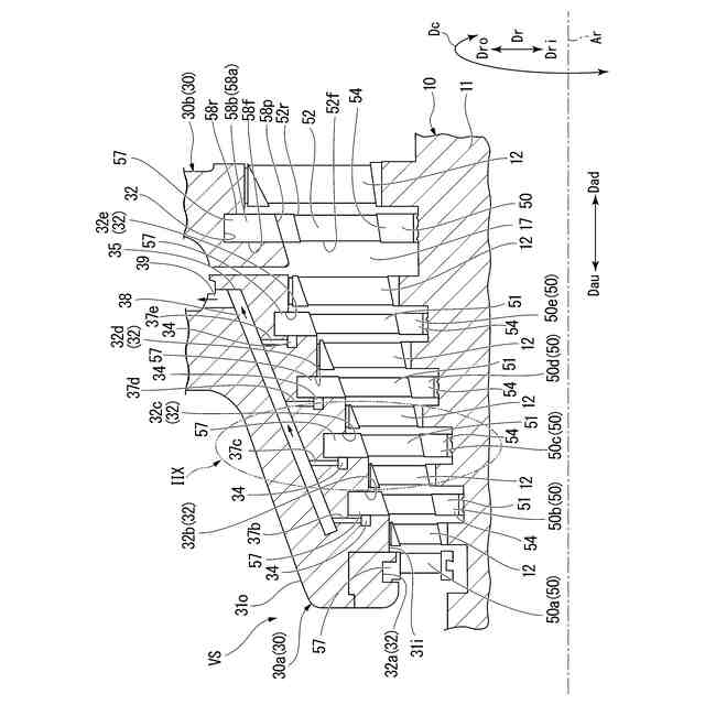
前記静翼列である第一静翼列の他に、第二静翼列を備え、
前記第二静翼列は、前記周方向に並ぶ複数の第二静翼を有し、
前記複数の第二静翼は、いずれも、前記径方向に延びる翼体と、前記翼体の前記径方向外側に設けられている外側シュラウドと、を有し、
前記複数の第二静翼毎の前記外側シュラウドは、前記径方向内側を向くガスパス面と、前記径方向外側を向く反ガスパス面と、前記軸線上流側を向く前面と、前記軸線下流側を向く後面と、を有し、
前記翼環は、前記複数の第二静翼毎の前記外側シュラウドの少なくとも一部が入り込んでいる第二翼溝を有し、
前記第二翼溝は、前記第一静翼列が有する前記複数の静翼である複数の第一静翼毎の前記外側シュラウドの少なくとも一部が入り込んでいる前記翼溝である第一翼溝から、前記軸線方向に離れており、
前記第二翼溝は、前記軸線下流側を向いて前記複数の第二静翼毎の前記前面に対向している第二上流側溝側面と、前記軸線上流側を向いて前記複数の第二静翼毎の前記後面に対向している第二下流側溝側面と、前記径方向内側を向いて前記複数の第二静翼毎の前記反ガスパス面に対向している第二溝底面を有し、
前記翼環と、前記複数の第二静翼毎の前記外側シュラウドと、のうち、一方の部材のみが、他方の部材と前記軸線方向で対向する面から、前記軸線方向で前記他方の部材の側から前記一方の部材の側に凹み、前記周方向に延びる第二ドレン溜まり溝を有し、
前記翼環の前記第二上流側溝側面と前記複数の第二静翼毎の前記外側シュラウドにおける前記前面との間には、前記翼環の前記内周面の縁から前記第二ドレン溜まり溝にまで前記径方向に延びて、前記蒸気流路中のドレンを前記第二ドレン溜まり溝に導くことが可能な第二ドレン移送隙間が形成され、
前記ドレン排出流路は、前記第二ドレン溜まり溝に連通し、前記第二ドレン溜まり溝内のドレンを前記翼環の外周側に排出可能に構成され、
前記第二ドレン移送隙間における前記軸線方向の最小隙間は、前記第二ドレン溜まり溝における前記軸線方向の溝深さの1/2より狭い、
静翼セグメント。
【請求項10】
請求項9に記載の静翼セグメントにおいて、
前記翼環と、前記第一静翼列が有する前記複数の第一静翼毎の前記外側シュラウドと、のうちで前記一方の部材のみが有する前記ドレン溜まり溝は、第一ドレン溜まり溝を成し、
前記ドレン排出流路は、前記第一ドレン溜まり溝に連通し、前記径方向の成分を有する方向に延びる第一内側流路と、前記第二ドレン溜まり溝に連通し、前記径方向の成分を有する方向に延びる第二内側流路と、前記径方向の成分を有する方向に延びて前記第一内側流路及び前記第二内側流路に連通している列間集合流路と、前記列間集合流路に連通し、前記翼環の前記外周面で開口している外側排出流路と、を有する、
静翼セグメント。
(【請求項11】以降は省略されています)
発明の詳細な説明
【技術分野】
【0001】
本開示は、複数の静翼を有する静翼セグメント、この静翼セグメントを備える蒸気タービンに関する。
続きを表示(約 1,300 文字)
【背景技術】
【0002】
蒸気タービンは、ロータと、複数の静翼列と、複数の静翼列を保持する翼環(又はケーシング)と、を備える。
【0003】
ロータは、軸線を中心として回転可能なロータ軸と、軸線が延びる軸線方向に並んでロータ軸に取り付けられている複数の動翼列と、を有する。複数の動翼列は、軸線方向に並んでいる。また、複数の静翼列も軸線方向に並んでいる。複数の静翼列のそれぞれは、複数の動翼列のうちいずれか一の動翼列の軸線上流側に配置されている。複数の動翼列は、いずれも、軸線に対する周方向に並ぶ複数の動翼を有する。また、複数の静翼列は、いずれも、周方向に並ぶ複数の静翼を有する。
【0004】
蒸気タービン内の蒸気流路中に蒸気のドレンが存在すると、このドレンによる湿り損失が生じるため、例えば、以下の特許文献1に開示されている蒸気タービンは、このドレンを排出する構造を有する。
【0005】
複数の静翼毎の外側シュラウド(又は複数の静翼の外輪)は、軸線に対する径方向内側を向くガスパス面と、軸線上流側を向く前面と、軸線下流側を向く後面と、軸線に対する径方向外側を向く外側面と、前面から軸線下流側に凹む第一ドレンキャッチャーと、を有する。
【0006】
翼環(又はケーシング)は、内周面と、外周面と、内周面から径方向外側に向かって凹み周方向に延びて、複数の静翼毎の外側シュラウド(又は複数の静翼の外輪)の少なくとも一部が入り込んでいる翼溝と、第二ドレンキャッチャーと、ドレン排出流路と、を有する。翼溝は、軸線下流側を向いて外側シュラウドの前面に対向している上流側溝側面と、軸線上流側を向いて外側シュラウドの後面に対向している下流側溝側面と、径方向内側に向いて外側シュラウドの外周面に対向している溝底面と、を有する。第二ドレンキャッチャーは、上流側溝側面から軸線上流側に凹んでいる。ドレン排出流路は、第二ドレンキャッチャーから、径方向外側に延びている。
【0007】
第二ドレンキャッチャーの径方向外側縁よりも径方向内側で、翼溝の上流側溝側面と外側シュラウドの前面との間は、蒸気流路内のドレン滴が流入可能なドレン回収空間を形成する。このドレン回収空間における軸線方向の間隔は、第一ドレンキャッチャーにおける軸線方向の溝深さよりも広くなっている。
【先行技術文献】
【特許文献】
【0008】
特開2010-031723号公報
【発明の概要】
【発明が解決しようとする課題】
【0009】
蒸気タービンでは、蒸気流路内のドレンをできる限り、蒸気流路外に排出して、ドレンによる湿り損失を抑えることが望まれている。
【0010】
そこで、本開示は、蒸気流路内のドレンを効率的に蒸気流路外に排出して、ドレンによる湿り損失を抑えることができる技術を提供することを目的とする。
【課題を解決するための手段】
(【0011】以降は省略されています)
この特許をJ-PlatPat(特許庁公式サイト)で参照する
関連特許
株式会社三五
排気浄化装置
3日前
株式会社SUBARU
排気浄化装置
10日前
スズキ株式会社
内燃機関の制御装置
10日前
トヨタ自動車株式会社
エンジン
10日前
トヨタ自動車株式会社
エンジン
19日前
トヨタ自動車株式会社
エンジン
18日前
株式会社三五
ハイブリッド車の排気システム
19日前
株式会社ミクニ
二次空気供給システム
4日前
株式会社SUBARU
エンジン制御装置
1か月前
トヨタ自動車株式会社
油量判定装置
1か月前
トヨタ自動車株式会社
水素エンジン
1か月前
トヨタ自動車株式会社
異常診断装置
1か月前
トヨタ自動車株式会社
排気浄化装置
19日前
トヨタ自動車株式会社
車両装置
10日前
株式会社アイシン
冷却モジュール
1か月前
トヨタ自動車株式会社
内燃機関の制御装置
1か月前
トヨタ自動車株式会社
内燃機関の制御装置
1か月前
日産自動車株式会社
内燃機関
1か月前
本田技研工業株式会社
冷却液タンク
10日前
トヨタ自動車株式会社
オイルタンク
19日前
井関農機株式会社
エンジン
18日前
株式会社三五
排気浄化装置
18日前
いすゞ自動車株式会社
排気処理装置
18日前
トヨタ自動車株式会社
過給機冷却システム
18日前
株式会社豊田自動織機
内燃機関の制御装置
1か月前
川崎重工業株式会社
多段ラジアルタービン
1か月前
カナデビア株式会社
排ガス処理システム
1か月前
ダイハツインフィニアース株式会社
カバーユニット
3日前
トヨタ自動車株式会社
冷却システム
1か月前
トヨタ自動車株式会社
車両の制御装置
18日前
スズキ株式会社
エンジンの排気浄化装置
26日前
トヨタ自動車株式会社
車両の制御装置
18日前
トヨタ自動車株式会社
車両の制御装置
18日前
ダイハツインフィニアース株式会社
エンジンフレーム
3日前
三菱重工業株式会社
蒸気タービンシステム
1か月前
三菱重工業株式会社
圧縮機の静翼セグメント、及び圧縮機
3日前
続きを見る
他の特許を見る