TOP
|
特許
|
意匠
|
商標
特許ウォッチ
Twitter
他の特許を見る
公開番号
2025161083
公報種別
公開特許公報(A)
公開日
2025-10-24
出願番号
2024063982
出願日
2024-04-11
発明の名称
水素エンジン
出願人
トヨタ自動車株式会社
代理人
個人
,
個人
主分類
F01M
13/00 20060101AFI20251017BHJP(機械または機関一般;機関設備一般;蒸気機関)
要約
【課題】クランクケースの換気システムに設けられた一方向弁でのエマルジョンの発生を抑制する。
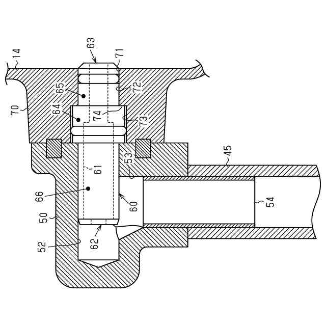
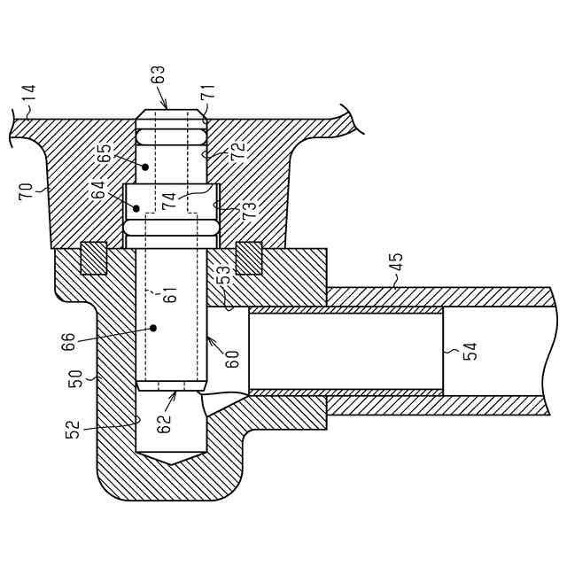
【解決手段】エンジンの換気システムは、吸気通路とクランクケースとを連通する空気導入路と、空気導入路を通じたクランクケースから吸気通路に向うガスの流れを制限する一方向弁60と、クランクケースの外壁を構成するオイルパン14に固定されたバルブハウジング50と、を備えている。一方向弁60は、オイルパン14とバルブハウジング50との間に挟み込まれた状態でクランクケースに取り付けられている。
【選択図】図3
特許請求の範囲
【請求項1】
吸気通路からクランクケースに空気を導入して前記クランクケースを換気するエンジンであって、
前記吸気通路と前記クランクケースとを連通する空気導入路と、
前記空気導入路を通じた前記クランクケースから前記吸気通路に向うガスの流れを制限する一方向弁と、
前記クランクケースの外壁に固定されたバルブハウジングと、
を備えており、かつ前記一方向弁は、前記クランクケースと前記バルブハウジングとの間に挟み込まれた状態で前記クランクケースに取り付けられている
エンジン。
続きを表示(約 190 文字)
【請求項2】
当該エンジンは車両に搭載されており、
前記一方向弁は、前記車両が水平面上で静止した状態にあるときに、当該一方向弁から前記クランクケースの内部への空気の吐出方向が水平方向となるように設置されている
請求項1に記載のエンジン。
【請求項3】
当該エンジンは、水素を燃焼して動力を発生する水素エンジンである請求項1に記載のエンジン。
発明の詳細な説明
【技術分野】
【0001】
本発明は、クランクケースの換気システムを備えるエンジンに関する。
続きを表示(約 2,200 文字)
【背景技術】
【0002】
特許文献1に見られるように、吸気通路からクランクケースに空気を導入することで、クランクケース内のブローバイガスを換気する換気システムを備えるエンジンが知られている。このエンジンの換気システムには、クランクケースから吸気通路へのガスの逆流を防止するため、一方向弁が設けられている。
【先行技術文献】
【特許文献】
【0003】
特開2011-185181号公報
【発明の概要】
【発明が解決しようとする課題】
【0004】
上記のような換気システムの一方向弁は、ブローバイガスに晒される。ブローバイガスには、水分と油分とが含まれている。一方向弁やその周辺の温度が低いと、ブローバイガス中の水分が凝縮する。そして、凝縮した水に油分が混入してエマルジョンが発生する虞がある。
【課題を解決するための手段】
【0005】
上記課題を解決するエンジンは、吸気通路からクランクケースに空気を導入して前記クランクケースを換気する換気システムを備えるエンジンであって、前記換気システムは、前記吸気通路と前記クランクケースとを連通する空気導入路と、前記空気導入路を通じた前記クランクケースから前記吸気通路に向うガスの流れを制限する一方向弁と、前記クランクケースの外壁に固定されたバルブハウジングと、を備えており、前記一方向弁は、前記クランクケースと前記バルブハウジングとの間に挟み込まれた状態で前記クランクケースに取り付けられている。
【発明の効果】
【0006】
上記エンジンには、エマルジョンの発生を抑制する効果がある。
【図面の簡単な説明】
【0007】
エンジンの一実施形態の構成を模式的に示す図である。
上記エンジンのオイルパン及びその近傍の側面図である。
上記エンジンのバルブハウジング及びその近傍の、図2の3-3線に沿った断面構造を示す断面図である。
上記エンジンのバルブハウジング及びその近傍の、図2の4-4線に沿った断面構造を示す断面図である。
エンジンの他の実施形態における一方向弁及びその近傍の断面図である。
【発明を実施するための形態】
【0008】
以下、エンジンの一実施形態を、図1~図4を参照して詳細に説明する。
<エンジン10の構成について>
まず、図1を参照して、エンジン10の構成を説明する。図1に示すエンジン10は、水素を燃焼して動力を発生する水素エンジンである。水素エンジンの場合、可燃な水素がブローバイガスに含まれる場合がある。そのため、水素エンジンには、ガソリンエンジンやディーゼルエンジンの場合よりも高いブローバイガスの換気性能が要求されている。
【0009】
エンジン10は、シリンダブロック11を備えている。シリンダブロック11の内部には、複数のシリンダ12が形成されている。図1には、複数のシリンダ12のうちの一つのみが表示されている。各シリンダ12にはそれぞれ、ピストン13が往復動自在に収容されている。シリンダ12におけるピストン13よりも上側の部分には、水素を燃焼する燃焼室17が形成されている。シリンダブロック11の下部には、オイルを貯留するオイルパン14が取り付けられている。シリンダブロック11の内部におけるシリンダ12よりも下側の部分には、クランクケース15が形成されている。シリンダブロック11の上部には、シリンダヘッド16が取り付けられている。シリンダヘッド16の内部には、シリンダ12毎にそれぞれ個別の吸気ポート18及び排気ポート19が形成されている。シリンダヘッド16の上側には、ヘッドカバー16Aが取り付けられている。ヘッドカバー16Aで覆われたシリンダヘッド16の上部内側には、動弁機構を収容する動弁室20が形成されている。
【0010】
エンジン10は、燃焼室17への空気の導入路である吸気通路21と、燃焼室17からの排気の排出路である排気通路22と、を備えている。吸気通路21には、空気中の塵等を濾過するエアクリーナ23が設けられている。吸気通路21におけるエアクリーナ23よりも下流側の部分には、コンプレッサ24が設置されている。コンプレッサ24は、排気通路22に設置されたタービン25と共にターボチャージャを構成する。吸気通路21におけるコンプレッサ24よりも下流側の部分には、インタークーラ26が設置されている。インタークーラ26は、コンプレッサ24での圧縮により高温となった空気を冷却するための熱交換器である。吸気通路21におけるインタークーラ26よりも下流側の部分には、スロットルバルブ27が設置されている。スロットルバルブ27は、吸気通路21を通じて燃焼室17に送られる空気の流量を調整するためのバルブである。吸気通路21は、スロットルバルブ27よりも下流側の部分に設けられたインテークマニホールド28において、シリンダ12別に分岐されている。インテークマニホールド28は、吸気ポート18を通じて燃焼室17に接続されている。
(【0011】以降は省略されています)
この特許をJ-PlatPat(特許庁公式サイト)で参照する
関連特許
トヨタ自動車株式会社
電池
18日前
トヨタ自動車株式会社
電池
24日前
トヨタ自動車株式会社
配管
19日前
トヨタ自動車株式会社
電池
10日前
トヨタ自動車株式会社
方法
3日前
トヨタ自動車株式会社
電池
10日前
トヨタ自動車株式会社
車両
18日前
トヨタ自動車株式会社
車両
4日前
トヨタ自動車株式会社
車両
19日前
トヨタ自動車株式会社
ロータ
19日前
トヨタ自動車株式会社
電動車
19日前
トヨタ自動車株式会社
タンク
3日前
トヨタ自動車株式会社
電動車
18日前
トヨタ自動車株式会社
制御装置
18日前
トヨタ自動車株式会社
反応容器
18日前
トヨタ自動車株式会社
蓄電装置
10日前
トヨタ自動車株式会社
蓄電装置
18日前
トヨタ自動車株式会社
蓄電装置
18日前
トヨタ自動車株式会社
蓄電装置
18日前
トヨタ自動車株式会社
蓄電装置
11日前
トヨタ自動車株式会社
エンジン
18日前
トヨタ自動車株式会社
制御装置
18日前
トヨタ自動車株式会社
判定装置
18日前
トヨタ自動車株式会社
処理装置
10日前
トヨタ自動車株式会社
蓄電装置
11日前
トヨタ自動車株式会社
車両装置
10日前
トヨタ自動車株式会社
蓄電装置
10日前
トヨタ自動車株式会社
蓄電装置
10日前
トヨタ自動車株式会社
蓄電装置
10日前
トヨタ自動車株式会社
蓄電装置
10日前
トヨタ自動車株式会社
蓄電装置
10日前
トヨタ自動車株式会社
蓄電装置
10日前
トヨタ自動車株式会社
塗工装置
10日前
トヨタ自動車株式会社
蓄電装置
10日前
トヨタ自動車株式会社
エンジン
10日前
トヨタ自動車株式会社
蓄電装置
10日前
続きを見る
他の特許を見る