TOP
|
特許
|
意匠
|
商標
特許ウォッチ
Twitter
他の特許を見る
公開番号
2025160734
公報種別
公開特許公報(A)
公開日
2025-10-23
出願番号
2024063493
出願日
2024-04-10
発明の名称
コネクタ
出願人
トヨタ自動車株式会社
代理人
弁理士法人 快友国際特許事務所
主分類
H01R
4/34 20060101AFI20251016BHJP(基本的電気素子)
要約
【課題】コネクタの端子を機器側の端子に接続する際に生じうる部品や組み付け作業に起因する三次元的な組み付け位置のバラツキを吸収してこれらの端子と機器とを締結固定する。
【解決手段】コネクタを機器に接続するための端子構造を、電線側に配置される第1端子と、前記第1端子に接続されて機器側に配置される第2端子と、前記第1端子と前記第2端子とを締結固定する、ボルト及び前記ボルトを受ける多角形のナットと、前記ナットを前記ボルトの軸方向に移動可能に収容するとともに、前記ナットの外接円よりも小さい内接円を規定する多角形の内壁を有するナット収容凹部を有するコネクタハウジングと、を備えるようにする。
【選択図】図1
特許請求の範囲
【請求項1】
電線を機器へ接続するためのコネクタであって、
前記電線側に配置される第1端子と、前記第1端子に接続されて前記機器側に配置される第2端子と、
前記第1端子と前記第2端子とを締結固定する、ボルト及び前記ボルトを受ける多角形のナットと、
前記ナットを前記ボルトの軸方向に移動可能に収容するとともに、前記ナットの外接円よりも小さい内接円を規定する多角形の内壁を有するナット収容凹部を有するコネクタハウジングと、
を備える、コネクタ。
発明の詳細な説明
【技術分野】
【0001】
本明細書に開示する技術は、電線を電気機器に接続するコネクタに関する。
続きを表示(約 1,500 文字)
【0002】
コネクタは、コネクタが備える端子をバスバなどの相手方端子に対して締結固定して、相互に電気的に接続する。こうした接続に際して、部品及び組み付け作業時のバラツキを吸収するために、端子を締結時のボルトの軸方向に移動可能に保持するコネクタが開示されている(特許文献1)。
【先行技術文献】
【特許文献】
【0003】
特開2007-123024号公報
【発明の概要】
【発明が解決しようとする課題】
【0004】
しかしながら、特許文献1の構造は、ボルトの軸方向に沿う方向のみにおいて可動性が確保されているだけである。このため、ボルトの軸方向に対して直交する面内におけるバラツキに対応することが困難であった。
【0005】
本明細書は、コネクタの端子を機器側の端子に接続する際に生じうる部品や組み付け作業に起因する三次元的な組み付け位置のバラツキを吸収してこれらの端子と機器とを締結固定する技術を提供する。
【課題を解決するための手段】
【0006】
本明細書に開示する技術は、コネクタを機器に接続するための端子構造に具現化される。この端子構造は、電線側に配置される第1端子と、前記第1端子に接続されて機器側に配置される第2端子と、前記第1端子と前記第2端子とを締結固定する、ボルト及び前記ボルトを受ける多角形のナットと、前記ナットを前記ボルトの軸方向に移動可能に収容するとともに、前記ナットの外接円よりも小さい内接円を規定する多角形の内壁を有するナット収容凹部を有するコネクタハウジングと、を備える。
【0007】
この端子構造では、前記ナット収容凹部は、ナットを軸方向に移動可能に収容される。このため、前記第2端子を前記機器に接続する際の前記軸方向に沿う組み付け時のバラツキが吸収される。また、前記ナット収容凹部は、前記ナットの外接円よりも小さい内接円を規定する多角形の内壁を有する。このため、前記第2端子を前記機器に接続する際の前記ボルトの軸方方向に直交する面ないにおける組み付け時のバラツキが吸収される。さらに、前記ナットは締結時の回転によって、前記ナット収容凹部の内壁に当接して回転が規制される。このため、前記ナットの位置が前記ナット収容凹部において固定され、前記第1端子と前記第2端子との締結固定構造が安定に保持される。
【図面の簡単な説明】
【0008】
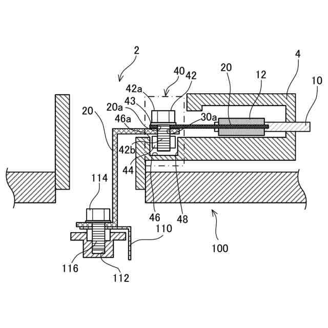
本明細書に開示される端子構造を断面図として示す図である。
端子構造におけるナットとナット収容凹部との関係を平面視で示す図である。
【発明を実施するための形態】
【0009】
以下、図面を参照してコネクタの端子構造について説明する。本明細書におけるコネクタは、例えば、高電圧ケーブルを電気機器に接続するのに適用される。電気機器としては、特に限定するモノではないが、例えば、車両に搭載される電気機器が挙げられる。
【0010】
図1には、コネクタ2における電気機器100側に配置される部分の断面図を示す。
電気機器100は、電気機器側の端子110と、端子110を締結固定するためのボルト孔112、ボルト114及びナット116を備えている。端子110は、特に限定するものではないが、例えば、バスバである。ボルト114を締結する際の軸方向は、後述するボルト42を締結する際の軸方向に一致するように形成されている。
(【0011】以降は省略されています)
この特許をJ-PlatPat(特許庁公式サイト)で参照する
関連特許
トヨタ自動車株式会社
車両
2日前
トヨタ自動車株式会社
電池
2日前
トヨタ自動車株式会社
電動車
2日前
トヨタ自動車株式会社
制御装置
2日前
トヨタ自動車株式会社
判定装置
2日前
トヨタ自動車株式会社
エンジン
2日前
トヨタ自動車株式会社
制御装置
2日前
トヨタ自動車株式会社
蓄電装置
2日前
トヨタ自動車株式会社
蓄電装置
2日前
トヨタ自動車株式会社
蓄電装置
2日前
トヨタ自動車株式会社
反応容器
2日前
トヨタ自動車株式会社
電気自動車
2日前
トヨタ自動車株式会社
情報処理装置
2日前
トヨタ自動車株式会社
車両側部構造
2日前
トヨタ自動車株式会社
車両前部構造
2日前
トヨタ自動車株式会社
情報処理装置
2日前
トヨタ自動車株式会社
車輪制御構造
2日前
トヨタ自動車株式会社
車両制御装置
2日前
トヨタ自動車株式会社
モータ制御装置
2日前
トヨタ自動車株式会社
車両の制御装置
2日前
トヨタ自動車株式会社
トイレ付き車両
2日前
トヨタ自動車株式会社
車両の制御装置
2日前
トヨタ自動車株式会社
移動体管理装置
2日前
トヨタ自動車株式会社
車両の制御装置
2日前
トヨタ自動車株式会社
車両用制御装置
2日前
トヨタ自動車株式会社
車両用レーダ装置
2日前
トヨタ自動車株式会社
歯面磨き加工装置
2日前
トヨタ自動車株式会社
燃料電池システム
2日前
トヨタ自動車株式会社
歯面磨き加工装置
2日前
トヨタ自動車株式会社
車両スイッチ装置
2日前
トヨタ自動車株式会社
巻線界磁型モータ
2日前
トヨタ自動車株式会社
巻線界磁型モータ
2日前
トヨタ自動車株式会社
ステータの固定構造
2日前
トヨタ自動車株式会社
内燃機関の制御装置
2日前
トヨタ自動車株式会社
過給機冷却システム
2日前
トヨタ自動車株式会社
携帯端末冷却システム
2日前
続きを見る
他の特許を見る