TOP
|
特許
|
意匠
|
商標
特許ウォッチ
Twitter
他の特許を見る
公開番号
2025171058
公報種別
公開特許公報(A)
公開日
2025-11-20
出願番号
2024076035
出願日
2024-05-08
発明の名称
情報処理装置
出願人
トヨタ自動車株式会社
代理人
弁理士法人秀和特許事務所
主分類
G06Q
50/10 20120101AFI20251113BHJP(計算;計数)
要約
【課題】ユーザのニーズに適合するオプションの提案を可能にする技術の提供を目的とする。
【解決手段】情報処理装置の制御部は、車両の入手のための見積を行うためのウェブページに端末を用いてアクセスするユーザに対する車両の提案オプションをユーザの運転傾向に応じて決定する。そして、情報処理装置の制御部は、決定された提案オプションの提案情報を端末に送信することで、ウェブページ上で見積を行う際に端末に対して提案オプションを提示させる。
【選択図】図5
特許請求の範囲
【請求項1】
車両の入手のための見積を行うためのウェブページに端末を用いてアクセスするユーザに対する前記車両の提案オプションを前記ユーザの運転傾向に応じて決定することと、
決定された前記提案オプションの提案情報を前記端末に送信することで、前記ウェブページ上で見積を行う際に前記端末に対して前記提案オプションを提示させることとと、
を実行するように構成された制御部を有する、
情報処理装置。
続きを表示(約 390 文字)
【請求項2】
前記提案オプションを決定することは、複数の他のユーザにより購入された複数の車両オプションから前記提案オプションを選択することを含む、
請求項1に記載の情報処理装置。
【請求項3】
前記複数の他のユーザはそれぞれ、前記ユーザと近い運転傾向を有する、
請求項2に記載の情報処理装置。
【請求項4】
運転傾向ごとに関連付けられた車両オプションが与えられており、
前記提案オプションを決定することは、前記複数の運転傾向のうち、前記ユーザの運転傾向に関連する車両オプションを取得することを含む、
請求項1に記載の情報処理装置。
【請求項5】
前記提案情報は、前記提案オプションを提案する理由として前記ユーザの運転傾向を示す情報を含む、
請求項1から4のいずれか一項に記載の情報処理装置。
発明の詳細な説明
【技術分野】
【0001】
本開示は、情報処理装置に関する。
続きを表示(約 1,400 文字)
【背景技術】
【0002】
特許文献1には、情報処理装置が開示されている。特許文献1に開示されている情報処理装置は、ユーザが所有する車両に対応する装備であって、ユーザによって選択可能な装備として車両のメーカによって指定されている、所定装備についての情報を取得する。そして、情報処理装置は、所定装備を車両に新たに搭載することを、法的に定められた車両の点検時期に基づいて設定される所定の提案時期にユーザに対して提案する。
【先行技術文献】
【特許文献】
【0003】
特開2022-182131号公報
【発明の概要】
【発明が解決しようとする課題】
【0004】
本開示は、ユーザのニーズに適合するオプションの提案を可能にする技術の提供を目的とする。
【課題を解決するための手段】
【0005】
本開示に係る情報処理装置は、
車両の入手のための見積を行うためのウェブページに端末を用いてアクセスするユーザに対する前記車両の提案オプションを前記ユーザの運転傾向に応じて決定することと、
決定された前記提案オプションの提案情報を前記端末に送信することで、前記ウェブページ上で見積を行う際に前記端末に対して前記提案オプションを提示させることとと、
を実行するように構成された制御部を有する。
【発明の効果】
【0006】
本開示により、ユーザのニーズに適合するオプションの提案が可能となる。
【図面の簡単な説明】
【0007】
図1は、提案システムの概略構成を示す図である。
図2は、サーバの機能構成の一例を概略的に示すブロック図である。
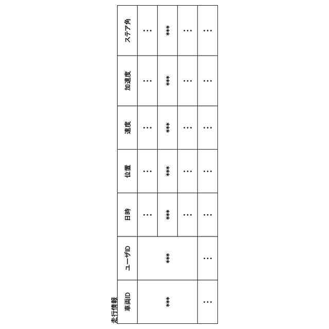
図3は、走行情報データベースに保持されている走行情報のテーブル構成の一例を示す図である。
図4は、オプション情報データベースに保持されているオプション情報のテーブル構成の一例を示す図である。
図5は、制御部によって実行される処理のフローチャートである。
【発明を実施するための形態】
【0008】
ユーザが車両の入手のための見積を行うためのウェブページに端末を用いてアクセスする場合がある。ここで、オプションの購入の提案がされる場合を想定する。この場合において、提案されるオプションがユーザのニーズに適合しない場合がある。
【0009】
そこで、本開示に係る情報処理装置の制御部は、車両の入手のための見積を行うためのウェブページに端末を用いてアクセスするユーザに対する車両の提案オプションをユーザの運転傾向に応じて決定する。ここで、車両を入手することは、車両を購入すること、又
は車両のリースを受けること等である。そして、本開示に係る情報処理装置の制御部は、決定された提案オプションの提案情報を端末に送信することで、ウェブページ上で見積を行う際に端末に対して提案オプションを提示させる。ここで、提案情報は、提案オプションの購入を提案する情報である。
【0010】
以上説明した通り、情報処理装置によって、ユーザの運転傾向に合わせて提案オプションが決定される。そして、情報処理装置によって提案情報が端末に送信されることで、ユーザに対して提案オプションを提案することができる。このようにして、ユーザのニーズに適合するオプションの提案が可能となる。
(【0011】以降は省略されています)
この特許をJ-PlatPat(特許庁公式サイト)で参照する
関連特許
トヨタ自動車株式会社
方法
28日前
トヨタ自動車株式会社
車体
15日前
トヨタ自動車株式会社
治具
23日前
トヨタ自動車株式会社
車両
22日前
トヨタ自動車株式会社
車両
22日前
トヨタ自動車株式会社
方法
15日前
トヨタ自動車株式会社
電池
7日前
トヨタ自動車株式会社
電池
1日前
トヨタ自動車株式会社
車両
15日前
トヨタ自動車株式会社
車両
24日前
トヨタ自動車株式会社
車両
15日前
トヨタ自動車株式会社
車両
1日前
トヨタ自動車株式会社
電池
16日前
トヨタ自動車株式会社
配管
2日前
トヨタ自動車株式会社
車両
2日前
トヨタ自動車株式会社
車両
16日前
トヨタ自動車株式会社
電動車
2日前
トヨタ自動車株式会社
蓄電池
15日前
トヨタ自動車株式会社
モータ
14日前
トヨタ自動車株式会社
ロータ
2日前
トヨタ自動車株式会社
電動車
1日前
トヨタ自動車株式会社
サーバ
25日前
トヨタ自動車株式会社
モータ
25日前
トヨタ自動車株式会社
製造設備
7日前
トヨタ自動車株式会社
蓄電装置
1日前
トヨタ自動車株式会社
路側装置
14日前
トヨタ自動車株式会社
反応容器
1日前
トヨタ自動車株式会社
電動車両
15日前
トヨタ自動車株式会社
蓄電装置
25日前
トヨタ自動車株式会社
監視装置
7日前
トヨタ自動車株式会社
樹脂外板
15日前
トヨタ自動車株式会社
制御装置
25日前
トヨタ自動車株式会社
制御装置
1日前
トヨタ自動車株式会社
判定装置
1日前
トヨタ自動車株式会社
濾過装置
16日前
トヨタ自動車株式会社
蓄電装置
14日前
続きを見る
他の特許を見る