TOP
|
特許
|
意匠
|
商標
特許ウォッチ
Twitter
他の特許を見る
公開番号
2025162650
公報種別
公開特許公報(A)
公開日
2025-10-28
出願番号
2024065967
出願日
2024-04-16
発明の名称
車両
出願人
トヨタ自動車株式会社
代理人
弁理士法人 快友国際特許事務所
主分類
B60K
11/04 20060101AFI20251021BHJP(車両一般)
要約
【課題】適切な量の空気をラジエータに導入することができる技術を提供する。
【解決手段】車両は、車体と、車体の内部に搭載された燃料電池と、車体の内部に搭載されており、燃料電池との間で冷却媒体が循環するラジエータと、車体の前部に設けられており、ラジエータに外部の空気を導入する空気導入口と、車体のピッチ角に応じて、空気導入口の空気導入方向の上下方向における角度を調整する制御装置と、を備える。
【選択図】図4
特許請求の範囲
【請求項1】
車両であって、
車体と、
前記車体の内部に搭載された燃料電池と、
前記車体の内部に搭載されており、前記燃料電池との間で冷却媒体が循環するラジエータと、
前記車体の前部に設けられており、前記ラジエータに外部の空気を導入する空気導入口と、
前記車体のピッチ角に応じて、前記空気導入口の空気導入方向の上下方向における角度を調整する制御装置と、
を備える、
車両。
続きを表示(約 550 文字)
【請求項2】
前記制御装置は、前記ピッチ角に応じて、前記空気導入方向の上下方向における角度を少なくとも二段階に調整する、請求項1に記載の車両。
【請求項3】
前記制御装置は、
前記車両が停車中において、前記ピッチ角を特定し、
停車中に特定した前記ピッチ角を利用して、前記空気導入方向の上下方向における角度を調整する、請求項1に記載の車両。
【請求項4】
前記ピッチ角を検出する傾斜センサをさらに備え、
前記制御装置は、前記傾斜センサによって検出される前記ピッチ角に基づいて、前記空気導入方向の上下方向における角度を調整する、請求項1に記載の車両。
【請求項5】
車両であって、
後部に積載物が搭載される車体と、
前記車体の内部に搭載された燃料電池と、
前記車体の内部に搭載されており、前記燃料電池との間で冷却媒体が循環するラジエータと、
前記車体の前部に設けられており、前記ラジエータに外部の空気を導入する空気導入口と、
前記車体に搭載された積載物の積載量に応じて、前記空気導入口の空気導入方向の上下方向における角度を調整する制御装置と、
を備える、
車両。
発明の詳細な説明
【技術分野】
【0001】
本明細書に開示する技術は、車両に関する。
続きを表示(約 1,300 文字)
【背景技術】
【0002】
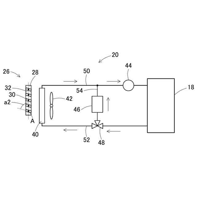
特許文献1には、車体と、車体の内部に搭載された燃料電池と、車体の内部に搭載されており、燃料電池との間で冷却媒体が循環するラジエータと、車体の前部に設けられており、ラジエータに外部の空気を導入する空気導入口と、を備える車両が開示されている。
【先行技術文献】
【特許文献】
【0003】
特開2023-140126号公報
【発明の概要】
【発明が解決しようとする課題】
【0004】
特許文献1の車両においては、外部の空気が、車体の前部に設けられる空気導入口を介して、車体の内部、具体的にはラジエータに導入される。空気導入口の空気導入方向の上下方向における角度は、路面に対して車体が平行である状態を基準に設定されることが多い。しかしながら、積載物が車体に搭載されることに応じて、車体が前後方向に傾斜する。即ち、車体のピッチ角が変化する。車体のピッチ角が変化すると、空気導入口の空気導入方向も変化する。その結果、空気導入口からラジエータに導入される空気量も変化する。ここで、空気導入口の空気導入方向とは、その方向に垂直な平面へ空気導入口を投影したときに、空気導入口の開口部分の面積が最大となる方向を意味する。
【0005】
本明細書は、車体のピッチ角が変化した場合でも、適切な量の空気をラジエータに導入することができる技術を提供する。
【課題を解決するための手段】
【0006】
本明細書が開示する第1の態様では、車両は、車体と、前記車体の内部に搭載された燃料電池と、前記車体の内部に搭載されており、前記燃料電池との間で冷却媒体が循環するラジエータと、前記車体の前部に設けられており、前記ラジエータに外部の空気を導入する空気導入口と、前記車体のピッチ角に応じて、前記空気導入口の空気導入方向の上下方向における角度を調整する制御装置と、を備えてもよい。
【0007】
上記の構成によると、制御装置は、車体のピッチ角に応じて、空気導入方向の上下方向における角度を調整する。このため、例えば車体への積載物に応じて、車体のピッチ角が変化した場合でも、適切な量の空気をラジエータに導入することができる。
【0008】
第2の態様では、上記第1の態様において、制御装置は、前記ピッチ角に応じて、前記空気導入方向の上下方向における角度を少なくとも二段階に調整してもよい。
【0009】
上記の構成によると、積載物の重量に応じて連続的に変化するピッチ角に対して、空気導入方向の上下方向における角度が段階的に調整されることから、その調整に必要な機構を簡素に構成することができる。但し、他の態様として、制御装置は、車体のピッチ角に応じて、空気導入方向の上下方向における角度を連続的に調整してもよい。
【0010】
第3の態様では、上記第1又は第2の態様において、前記制御装置は、前記車両が停車中において、前記ピッチ角を特定し、停車中に特定した前記ピッチ角を利用して、前記空気導入方向の上下方向における角度を調整してもよい。
(【0011】以降は省略されています)
この特許をJ-PlatPat(特許庁公式サイト)で参照する
関連特許
トヨタ自動車株式会社
電池
2日前
トヨタ自動車株式会社
方法
16日前
トヨタ自動車株式会社
車両
3日前
トヨタ自動車株式会社
車両
17日前
トヨタ自動車株式会社
車両
23日前
トヨタ自動車株式会社
車両
23日前
トヨタ自動車株式会社
電池
17日前
トヨタ自動車株式会社
車両
16日前
トヨタ自動車株式会社
配管
3日前
トヨタ自動車株式会社
車両
16日前
トヨタ自動車株式会社
車体
16日前
トヨタ自動車株式会社
電池
8日前
トヨタ自動車株式会社
治具
24日前
トヨタ自動車株式会社
車両
2日前
トヨタ自動車株式会社
蓄電池
16日前
トヨタ自動車株式会社
電動車
3日前
トヨタ自動車株式会社
ロータ
3日前
トヨタ自動車株式会社
電動車
2日前
トヨタ自動車株式会社
モータ
15日前
トヨタ自動車株式会社
推定装置
15日前
トヨタ自動車株式会社
コネクタ
2日前
トヨタ自動車株式会社
学習装置
2日前
トヨタ自動車株式会社
制御装置
3日前
トヨタ自動車株式会社
電動車両
15日前
トヨタ自動車株式会社
路側装置
15日前
トヨタ自動車株式会社
制御装置
3日前
トヨタ自動車株式会社
電動車両
15日前
トヨタ自動車株式会社
エンジン
3日前
トヨタ自動車株式会社
路側装置
15日前
トヨタ自動車株式会社
路側装置
15日前
トヨタ自動車株式会社
濾過装置
17日前
トヨタ自動車株式会社
蓄電セル
10日前
トヨタ自動車株式会社
鋳造装置
15日前
トヨタ自動車株式会社
路側装置
15日前
トヨタ自動車株式会社
制御装置
15日前
トヨタ自動車株式会社
制御装置
15日前
続きを見る
他の特許を見る