TOP
|
特許
|
意匠
|
商標
特許ウォッチ
Twitter
他の特許を見る
公開番号
2025167365
公報種別
公開特許公報(A)
公開日
2025-11-07
出願番号
2024071905
出願日
2024-04-25
発明の名称
路側装置
出願人
トヨタ自動車株式会社
代理人
個人
,
個人
,
個人
,
個人
主分類
G08G
1/09 20060101AFI20251030BHJP(信号)
要約
【課題】通信機能を有する車両を監視する技術を改善する。
【解決手段】路側装置(10)は、周囲の映像を撮影する撮影部(14)と、他の装置と通信するための通信部(13)と、制御部(11)と、を備える。制御部(11)は、撮影部(14)により撮影された映像を、路側装置(10)に接近中の車両(20)へ通信部(13)により送信して、車両(20)の出力部(25)の表示装置に表示させる。
【選択図】図1
特許請求の範囲
【請求項1】
周囲の映像を撮影する撮影部と、
他の装置と通信するための通信部と、
制御部と、
を備える路側装置であって、
前記制御部は、
前記撮影部により撮影された前記映像を、前記路側装置に接近中の車両へ前記通信部により送信して、当該車両の表示装置に表示させる、
路側装置。
発明の詳細な説明
【技術分野】
【0001】
本開示は、路側装置に関する。
続きを表示(約 1,000 文字)
【背景技術】
【0002】
従来、通信機能を有する車両を監視する技術が知られている。例えば特許文献1には、所定の交通領域を通過予定の自動運転車両の挙動に応じて、当該自動運転車両以外の車両及び歩行者などに対し通行可否及び注意喚起などの報知を行う報知システムについて開示されている。
【先行技術文献】
【特許文献】
【0003】
特開2023-50629号公報
【発明の概要】
【発明が解決しようとする課題】
【0004】
通信機能を有する車両を監視する技術の改善が望まれている。
【0005】
かかる事情に鑑みてなされた本開示の目的は、通信機能を有する車両を監視する技術を改善することにある。
【課題を解決するための手段】
【0006】
本開示の一実施形態に係る路側装置は、
周囲の映像を撮影する撮影部と、
他の装置と通信するための通信部と、
制御部と、
を備える路側装置であって、
前記制御部は、
前記撮影部により撮影された前記映像を、前記路側装置に接近中の車両へ前記通信部により送信して、当該車両の表示装置に表示させる。
【発明の効果】
【0007】
本開示の一実施形態によれば、通信機能を有する車両を監視する技術が改善される。
【図面の簡単な説明】
【0008】
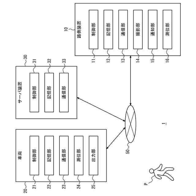
一実施形態に係る情報処理システムの構成を示す図である。
図1の情報処理システムの動作例を示すフローチャートである。
【発明を実施するための形態】
【0009】
以下、本開示の一実施形態について、図面を参照して説明する。本実施形態の説明において、同一の部分については、重複する説明を適宜省略又は簡略化する場合がある。
【0010】
(実施形態の概要)
図1は、一実施形態に係る情報処理システム1の構成例を示す図である。情報処理システム1は、路側装置10、車両20、及び、サーバ装置30を備える。路側装置10、車両20、及び、サーバ装置30は、例えば移動体通信網及びインターネット等を含むネットワーク50と通信可能に接続される。
(【0011】以降は省略されています)
この特許をJ-PlatPat(特許庁公式サイト)で参照する
関連特許
トヨタ自動車株式会社
配管
10日前
トヨタ自動車株式会社
電池
1日前
トヨタ自動車株式会社
電池
9日前
トヨタ自動車株式会社
車両
10日前
トヨタ自動車株式会社
電池
1日前
トヨタ自動車株式会社
車両
9日前
トヨタ自動車株式会社
電池
15日前
トヨタ自動車株式会社
電動車
10日前
トヨタ自動車株式会社
モータ
22日前
トヨタ自動車株式会社
ロータ
10日前
トヨタ自動車株式会社
電動車
9日前
トヨタ自動車株式会社
蓄電装置
1日前
トヨタ自動車株式会社
蓄電装置
1日前
トヨタ自動車株式会社
処理装置
1日前
トヨタ自動車株式会社
制御装置
1日前
トヨタ自動車株式会社
蓄電装置
1日前
トヨタ自動車株式会社
コネクタ
9日前
トヨタ自動車株式会社
蓄電装置
22日前
トヨタ自動車株式会社
蓄電装置
1日前
トヨタ自動車株式会社
蓄電装置
2日前
トヨタ自動車株式会社
蓄電装置
1日前
トヨタ自動車株式会社
塗工装置
1日前
トヨタ自動車株式会社
車両装置
1日前
トヨタ自動車株式会社
蓄電装置
1日前
トヨタ自動車株式会社
蓄電装置
1日前
トヨタ自動車株式会社
蓄電装置
1日前
トヨタ自動車株式会社
蓄電装置
1日前
トヨタ自動車株式会社
路側装置
22日前
トヨタ自動車株式会社
制御装置
22日前
トヨタ自動車株式会社
路側装置
22日前
トヨタ自動車株式会社
蓄電装置
9日前
トヨタ自動車株式会社
制御装置
9日前
トヨタ自動車株式会社
学習装置
9日前
トヨタ自動車株式会社
制御装置
10日前
トヨタ自動車株式会社
制御装置
10日前
トヨタ自動車株式会社
エンジン
9日前
続きを見る
他の特許を見る