TOP
|
特許
|
意匠
|
商標
特許ウォッチ
Twitter
他の特許を見る
公開番号
2025174299
公報種別
公開特許公報(A)
公開日
2025-11-28
出願番号
2024080495
出願日
2024-05-16
発明の名称
電池
出願人
トヨタ自動車株式会社
代理人
弁理士法人太陽国際特許事務所
主分類
H01M
50/627 20210101AFI20251120BHJP(基本的電気素子)
要約
【課題】電解液を注入するための注液口の閉塞を抑制し、注液性に優れる電池を提供する。
【解決手段】電極体が積層された積層体と、前記積層体の積層方向に平行な側面に配された外枠とを有し、前記外枠は、電池内部に電解液を注液するための複数の注液口と、前記複数の注液口の間に配された柱部とを有する。
【選択図】図1
特許請求の範囲
【請求項1】
電極体が積層された積層体と、
前記積層体の積層方向に平行な側面に配された外枠と、
を有し、
前記外枠は、電池内部に電解液を注液するための複数の注液口と、前記複数の注液口の間に配された柱部とを有する
電池。
続きを表示(約 130 文字)
【請求項2】
前記外枠が、前記複数の注液口を囲む注液枠を更に有する請求項1に記載の電池。
【請求項3】
前記外枠が、前記柱部を2以上有する請求項1に記載の電池。
【請求項4】
バイポーラ電池である請求項1に記載の電池。
発明の詳細な説明
【技術分野】
【0001】
本開示は、電池に関する。
続きを表示(約 1,700 文字)
【背景技術】
【0002】
例えば、特許文献1には、セパレータを介して積層された複数の電極を有する電極積層体と、前記複数の電極の積層方向から見て前記積層体を包囲し、前記積層方向に隣り合う前記電極間に形成された複数の内部空間をそれぞれ封止する封止体と、を備え、前記封止体の前記積層方向に沿った側面には、前記複数の内部空間の各々と連通する複数の連通孔が設けられており、前記積層方向における一方側の前記封止体の第1端部のうち、前記積層方向から見て前記一方側の最外層の前記内部空間と連通する前記連通孔である第1連通孔と重なる部分の少なくとも一部には、前記封止体の厚みを増すための第1凸部が設けられており、前記積層方向における他方側の前記封止体の第2端部のうち、前記積層方向から見て前記他方側の最外層の前記内部空間と連通する前記連通孔である第2連通孔と重なる部分の少なくとも一部には、前記封止体の厚みを増すための第2凸部が設けられている、蓄電モジュールが開示されている。
【先行技術文献】
【特許文献】
【0003】
特開2020-021544号公報
【発明の概要】
【発明が解決しようとする課題】
【0004】
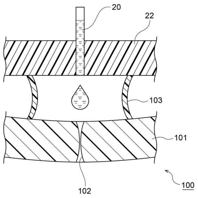
特許文献1に示すような従来の電池においては、前記封止体の側面に形成された複数の連通孔から封止体内部に電解液を注入していた。しかしながら、従来の電池においては、電解液を注入する際に連通孔が閉塞することによって注液性が低下するといった問題があった。
【0005】
本開示は、上記実情に鑑みてなされたものであり、電解液を注入するための注液口の閉塞を抑制し、注液性に優れる電池を提供することを目的とする。
【課題を解決するための手段】
【0006】
上記課題を解決するための手段には、以下の態様が含まれる。
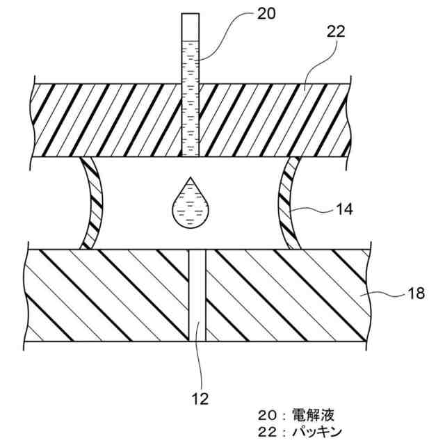
<1>電極体が積層された積層体と、前記積層体の積層方向に平行な側面に配された外枠と、を有し、前記外枠は、電池内部に電解液を注液するための複数の注液口と、前記複数の注液口の間に配された柱部とを有する電池。
<2> 前記外枠が、前記複数の注液口を囲む注液枠を更に有する<1>に記載の電池。
<3> 前記外枠が、前記柱部を2以上有する<1>又は<2>に記載の電池。
<4> バイポーラ電池である<1>~<3>のいずれか1つに記載の電池。
【発明の効果】
【0007】
本開示によれば、電解液の注液時において、電解液を注入するための注液口の閉塞を抑制し、注液性に優れる電池を提供することができる。
【図面の簡単な説明】
【0008】
本開示の電池の一実施態様における注液口部分の一例を模式的に示す概略斜視図である。
本開示の電池の一実施態様における電解液を注液する方向からみた注液口の形状を模式的に示す要部平面図である。
本開示の電池の一実施態様における注液口の長手方向に対して交差する方向に切断した概略断面図である。
本開示の電池における注液口の長手方向に対して交差する方向に切断した断面において電解液を注液する状態を示した概略断面図である。
従来の電池における注液口の長手方向に対して交差する方向に切断した断面において電解液を注液する状態を示した概略断面図である。
【発明を実施するための形態】
【0009】
以下、本開示の実施形態について説明する。説明は実施形態を例示するものであり、本開示の範囲を制限するものではない。
【0010】
本明細書において、「~」を用いて示された数値範囲は、「~」の前後に記載される数値をそれぞれ最小値及び最大値として含む範囲を示す。
本明細書中に段階的に記載されている数値範囲において、一つの数値範囲で記載された上限値又は下限値は、他の段階的な記載の数値範囲の上限値又は下限値に置き換えてもよい。また、本明細書中に記載されている数値範囲において、その数値範囲の上限値又は下限値は、実施例に示されている値に置き換えてもよい。
(【0011】以降は省略されています)
この特許をJ-PlatPat(特許庁公式サイト)で参照する
関連特許
トヨタ自動車株式会社
車両
29日前
トヨタ自動車株式会社
電池
14日前
トヨタ自動車株式会社
電池
8日前
トヨタ自動車株式会社
電池
今日
トヨタ自動車株式会社
方法
22日前
トヨタ自動車株式会社
電池
23日前
トヨタ自動車株式会社
車両
8日前
トヨタ自動車株式会社
電池
今日
トヨタ自動車株式会社
車両
22日前
トヨタ自動車株式会社
車両
22日前
トヨタ自動車株式会社
方法
1か月前
トヨタ自動車株式会社
車両
9日前
トヨタ自動車株式会社
車両
23日前
トヨタ自動車株式会社
電池
1か月前
トヨタ自動車株式会社
車両
1か月前
トヨタ自動車株式会社
車両
29日前
トヨタ自動車株式会社
治具
1か月前
トヨタ自動車株式会社
配管
9日前
トヨタ自動車株式会社
車体
22日前
トヨタ自動車株式会社
サーバ
1か月前
トヨタ自動車株式会社
電動車
8日前
トヨタ自動車株式会社
電動車
9日前
トヨタ自動車株式会社
蓄電池
22日前
トヨタ自動車株式会社
モータ
1か月前
トヨタ自動車株式会社
モータ
21日前
トヨタ自動車株式会社
ロータ
9日前
トヨタ自動車株式会社
反応容器
8日前
トヨタ自動車株式会社
通知装置
1か月前
トヨタ自動車株式会社
樹脂外板
22日前
トヨタ自動車株式会社
制御装置
8日前
トヨタ自動車株式会社
電動車両
22日前
トヨタ自動車株式会社
判定装置
8日前
トヨタ自動車株式会社
蓄電装置
1か月前
トヨタ自動車株式会社
蓄電装置
8日前
トヨタ自動車株式会社
制御装置
1か月前
トヨタ自動車株式会社
蓄電装置
1日前
続きを見る
他の特許を見る