TOP
|
特許
|
意匠
|
商標
特許ウォッチ
Twitter
他の特許を見る
公開番号
2025161573
公報種別
公開特許公報(A)
公開日
2025-10-24
出願番号
2024064877
出願日
2024-04-12
発明の名称
電池
出願人
トヨタ自動車株式会社
代理人
個人
,
個人
,
個人
,
個人
,
個人
,
個人
,
個人
主分類
H01M
10/0585 20100101AFI20251017BHJP(基本的電気素子)
要約
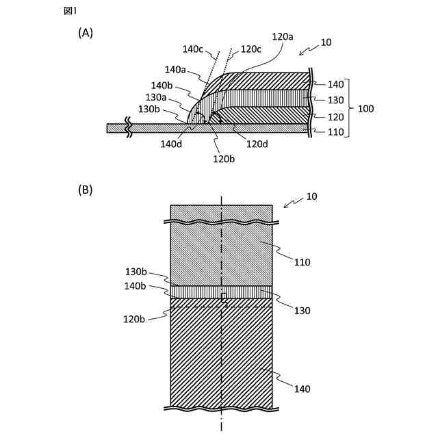
【課題】本開示は、負極容量を確保でき、短絡を抑制でき、かつ体積効率を向上させることができる電池を提供することを目的とする。
【解決手段】正極集電体層110、正極活物質層120、電解質層130、負極活物質層140がこの順で積層されている積層体100を有し、積層体100の少なくとも1つの端部において、正極活物質層120、電解質層130、負極活物質層140の端面が、いずれも、先端に向かうにつれて正極集電体層110に近づく傾斜面を形成しており、かつ積層体の端部の先端側に向かって、正極活物質層の傾斜面の先端120b、負極活物質層の傾斜面の先端140b、及び電解質層の傾斜面の先端130bの順で配置されている、電池。
【選択図】図1
特許請求の範囲
【請求項1】
正極集電体層、正極活物質層、電解質層、負極活物質層がこの順で積層されている積層体を有し、
前記積層体の少なくとも1つの端部において、
前記正極活物質層、前記電解質層、前記負極活物質層の端面が、いずれも、先端に向かうにつれて前記正極集電体層に近づく傾斜面を形成しており、かつ
前記積層体の前記端部の先端側に向かって、前記正極活物質層の前記傾斜面の先端、前記負極活物質層の前記傾斜面の先端、及び前記電解質層の前記傾斜面の先端の順で配置されている、
電池。
続きを表示(約 170 文字)
【請求項2】
前記正極活物質層の先端における接線方向と、前記正極集電体層の表面の面方向との角度が、0.5°~90°である、請求項1に記載の電池。
【請求項3】
前記負極活物質層の先端における接線方向と、前記正極集電体層の表面の面方向との角度が、0.5°~90°である、請求項1~2のいずれか一項に記載の電池。
発明の詳細な説明
【技術分野】
【0001】
本開示は、電池に関する。
続きを表示(約 1,600 文字)
【背景技術】
【0002】
電池は、一般的には、正極活物質層、電解質層、及び負極活物質層が積層された積層体を有する。この積層体は、例えば、集電体層の表面に電極合材スラリー等を塗工し、各層を形成して製造される。このような電極合材スラリーを塗工して得られる電極活物質層において、電極合材スラリー塗工膜の端部は、電極合材スラリー塗工膜が乾燥されるまでにぬれ広がり、それによって、電極活物質層にいわゆるダレ部が生じることがある。例えば、次のような全固体電池が知られている。
【0003】
特許文献1には、正極層と、負極層と、前記正極層及び負極層に挟持された固体電解質層とを有し、前記電解質層および正極層又は負極層の端部の厚みが、中心部のそれらと比較して薄い事を特徴とする全固体二次電池が開示されている。特許文献1の全固体二次電池によると、電解質層および正極層又は負極層の端部を連続的に薄くすることでラミネートセルの破断、膜切れを防止し、高密度化させた厚い電極を伴う、ラミネートフィルムを外装体とする固体二次電池を作製できるとされている。
【先行技術文献】
【特許文献】
【0004】
特開2014-116136号公報
【発明の概要】
【発明が解決しようとする課題】
【0005】
例えば、負極集電体層に、負極活物質層、電解質層、及び正極活物質層をこの順で塗工して積層して電池を製造する場合には、電池の短絡を防止するため、具体的には、正極活物質層が負極集電体層や負極活物質層に接触することを防止するため、各層のダレ部を考慮して、それぞれの層を形成する合材スラリーを塗工する必要がある。このような電池では、各層のダレ部が多段構成となり、電池の体積効率が減少する。
【0006】
また、電池の短絡を抑制するため、例えば特許文献1に開示された電池のように、正極活物質層を電解質層で覆い、更に電解質層を負極活物質層で覆うことも考えられる。しかしながら、このような電池においても、各層のダレ部をその層の上層で覆う構造となり、電極活物質層や電解質層として不要な部分が増加し、それによって、電池の体積効率が減少する。
【0007】
そこで本開示は、負極容量を確保でき、短絡を抑制でき、かつ体積効率を向上させることができる電池を提供することを目的とする。
【課題を解決するための手段】
【0008】
本開示は、以下の手段によって、上記目的を達成するものである。
【0009】
〈態様1〉
正極集電体層、正極活物質層、電解質層、負極活物質層がこの順で積層されている積層体を有し、
上記積層体の少なくとも1つの端部において、
上記正極活物質層、上記電解質層、上記負極活物質層の端面が、いずれも、先端に向かうにつれて上記正極集電体層に近づく傾斜面を形成しており、かつ
上記積層体の上記端部の先端側に向かって、上記正極活物質層の上記傾斜面の先端、上記負極活物質層の上記傾斜面の先端、及び上記電解質層の上記傾斜面の先端の順で配置されている、
電池。
〈態様2〉
上記正極活物質層の先端における接線方向と、上記正極集電体層の表面の面方向との角度が、0.5°~90°である、態様1に記載の電池。
〈態様3〉
上記負極活物質層の先端における接線方向と、上記正極集電体層の表面の面方向との角度が、0.5°~90°である、態様1~2のいずれか一項に記載の電池。
【発明の効果】
【0010】
本開示の電池によると、負極容量を確保でき、短絡を抑制でき、かつ体積効率を向上させることができる。
【図面の簡単な説明】
(【0011】以降は省略されています)
特許ウォッチbot のツイートを見る
この特許をJ-PlatPat(特許庁公式サイト)で参照する
関連特許
APB株式会社
蓄電セル
1か月前
マクセル株式会社
電源装置
1か月前
ローム株式会社
半導体装置
1か月前
株式会社東芝
端子台
1か月前
三菱電機株式会社
回路遮断器
22日前
株式会社GSユアサ
蓄電装置
1か月前
株式会社GSユアサ
蓄電装置
1か月前
富士電機株式会社
電磁接触器
14日前
株式会社GSユアサ
蓄電装置
28日前
株式会社GSユアサ
蓄電装置
14日前
北道電設株式会社
配電具カバー
1か月前
大電株式会社
電線又はケーブル
6日前
日本特殊陶業株式会社
保持装置
27日前
日新イオン機器株式会社
基板処理装置
1か月前
トヨタ自動車株式会社
蓄電装置
1か月前
トヨタ自動車株式会社
蓄電装置
6日前
ホシデン株式会社
複合コネクタ
8日前
株式会社トクミ
ケーブル
今日
トヨタ自動車株式会社
バッテリ
1か月前
トヨタ自動車株式会社
密閉型電池
1か月前
ローム株式会社
半導体モジュール
15日前
ヒロセ電機株式会社
電気コネクタ
14日前
株式会社デンソー
電子装置
1か月前
日本無線株式会社
レーダアンテナ
29日前
日亜化学工業株式会社
半導体レーザ素子
1か月前
株式会社レゾナック
冷却器
22日前
住友電装株式会社
コネクタ
14日前
矢崎総業株式会社
コネクタ
14日前
甲神電機株式会社
変流器及び零相変流器
29日前
日本航空電子工業株式会社
コネクタ
27日前
株式会社デンソー
熱交換部材
29日前
日本特殊陶業株式会社
アンテナ装置
1日前
日本特殊陶業株式会社
アンテナ装置
1日前
矢崎総業株式会社
端子
6日前
日本特殊陶業株式会社
アンテナ装置
1日前
株式会社デンソー
半導体装置
14日前
続きを見る
他の特許を見る