TOP
|
特許
|
意匠
|
商標
特許ウォッチ
Twitter
他の特許を見る
公開番号
2025175790
公報種別
公開特許公報(A)
公開日
2025-12-03
出願番号
2024082054
出願日
2024-05-20
発明の名称
アンテナ装置
出願人
日本特殊陶業株式会社
代理人
個人
主分類
H01Q
13/08 20060101AFI20251126BHJP(基本的電気素子)
要約
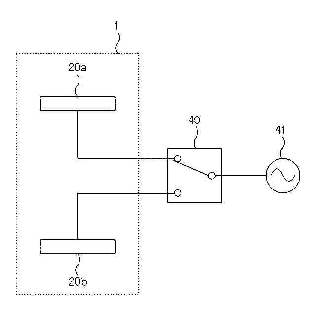
【課題】上下1対のパッチアンテナを用いて、アレイ化に伴う装置の大型化や構成の複雑化を招くことなく、全方位にわたる広角度の放射指向性を実現することが可能なアンテナ装置を提供する。
【解決手段】
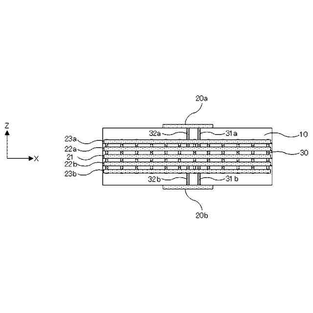
誘電体基板を用いて構成されたアンテナ装置1は、グランド導体21、22a、22b、23a、23bと、第1のパッチアンテナ20aと、第2のパッチアンテナ20bと、第1の誘電体層11aに形成され平面視で第1のパッチアンテナ20aを取り囲む形状の第1のキャビティ12aと、第2の誘電体層11bに形成され平面視で第2のパッチアンテナ20bを取り囲む形状の第2のキャビティ12bとを備えている。グランド導体21、22a、22b、23a、23bを挟んで、第1及び第2のパッチアンテナ20a、20bがZ方向に対向し、かつ第1及び第2のキャビティ12a、12bがZ方向に対向している。
【選択図】図2
特許請求の範囲
【請求項1】
厚さ方向である第1の方向に対向する第1の表面及び第2の表面を有する誘電体基板を用いて構成されたアンテナ装置であって、
前記第1の表面と前記第2の表面との間の領域に配置されるグランド導体と、
前記グランド導体と前記第1の表面との間の第1の導体層に形成される第1のパッチアンテナと、
前記グランド導体と前記第2の表面との間の第2の導体層に形成される第2のパッチアンテナと、
前記第1の導体層と前記第1の表面との間の第1の誘電体層に形成され、前記第1の方向に沿って前記第1の表面から見た平面視で前記第1のパッチアンテナを取り囲む形状を有する第1のキャビティと、
前記第2の導体層と前記第2の表面との間の第2の誘電体層に形成され、前記第1の方向に沿って前記第2の表面から見た平面視で前記第2のパッチアンテナを取り囲む形状を有する第2のキャビティと、
を備え、前記グランド導体を挟んで、前記第1のパッチアンテナと前記第2のパッチアンテナとが前記第1の方向に対向するとともに、前記第1のキャビティと前記第2のキャビティとが前記第1の方向に対向する、ことを特徴とするアンテナ装置。
続きを表示(約 860 文字)
【請求項2】
前記第1のパッチアンテナ、前記第2のパッチアンテナ、前記第1のキャビティ、及び前記第2のキャビティは、それぞれ前記第1の方向から見た平面視で矩形の形状を有することを特徴とする請求項1に記載のアンテナ装置。
【請求項3】
前記第1のキャビティ及び前記第2のキャビティのそれぞれの前記第1の方向に沿った高さは、前記誘電体基板における使用周波数の波長λに対し、0.7λから0.8λの範囲内に設定されることを特徴とする請求項1に記載のアンテナ装置。
【請求項4】
前記第1の方向から見た平面視で、前記第1のキャビティ及び前記第2のキャビティのそれぞれの外縁部は、前記第1のパッチアンテナ及び前記第2のパッチアンテナのそれぞれの外縁部から、0.03λから0.07λの範囲内の距離だけ大きく設定されることを特徴とする請求項1に記載のアンテナ装置。
【請求項5】
前記第1のパッチアンテナと前記第2のパッチアンテナとは前記第1の方向に対して互いに対称的な形状であるとともに、前記第1のキャビティと前記第2のキャビティとは前記第1の方向に対して互いに対称的な形状であることを特徴とする請求項1に記載のアンテナ装置。
【請求項6】
前記第1の方向から見た平面視で、前記第1のパッチアンテナ、前記第2のパッチアンテナ、前記第1のキャビティ、及び前記第2のキャビティは、前記誘電体基板の中心に対し対称的に配置されることを特徴とする請求項5に記載のアンテナ装置。
【請求項7】
前記グランド導体は、前記第1の方向に延伸する複数のビア導体を介して相互に接続される複数の導体層に形成されることを特徴とする請求項1に記載のアンテナ装置。
【請求項8】
前記第1のパッチアンテナ及び前記第2のパッチアンテナのそれぞれには、水平偏波と垂直偏波の一方又は両方を給電するための給電構造が設けられることを特徴とする請求項1に記載のアンテナ装置。
発明の詳細な説明
【技術分野】
【0001】
本発明は、誘電体基板を用いて構成されたアンテナ装置に関するものである。
続きを表示(約 2,700 文字)
【背景技術】
【0002】
5Gや6Gなどの移動通信においては、建物の内部や屋外などの様々な環境の下で高周波帯域の電波の送受信を行うため、アンテナ装置には、多様な方向の電波を送受信し得る広い角度の放射指向性を有することが要求される。このような要求に対応するために、複数のアンテナ素子をアレイ状に並べたアレイアンテナを構成し、全体的に広角度の放射指向性を実現する手法が知られている。例えば、特許文献1には、複数のアンテナをアレイ状に配列したアレイアンテナにおいて、各アンテナに位相差を与えてビームフォーミングを行い、広角度の放射指向性を得ること可能な技術が開示されている。
【先行技術文献】
【特許文献】
【0003】
特許第6818757号公報
【発明の概要】
【発明が解決しようとする課題】
【0004】
近年のアンテナ装置においては、小型軽量化の観点から誘電体基板を用いる構造が広く利用されている。例えば、誘電体基板に1つのパッチアンテナを形成すればアンテナ装置の小型化が容易であるが、広い角度の放射指向性を実現することは困難である。前述したようにアンテナ装置の広角度の放射指向性を実現するには、誘電体基板に複数のパッチアンテナ等のアンテナをアレイ状に並べてアレイアンテナを構成する必要がある。
しかし、誘電体基板を用いたアレイアンテナは、複数のアンテナを配置するためのスペースが必要であり、サイズが拡大してアンテナ装置の小型化が困難になる。また、複数のアンテナにビームフォーミングのための位相差を与える複雑な電子回路を形成する必要があり、部品コストと実装コストの両方の増加を招くことになるし、誘電体基板の製作時の寸法公差も厳しくなる。さらに、一般にはアンテナ装置の放射指向性は主に天頂方向を向くのに対し、用途によっては天頂方向とその反対方向を含む全方位の放射指向性を確保したい場合も想定されるが、かかる全方位の放射指向性は容易に実現することができない。
以上のように、上記従来の手法により誘電体基板を用いたアンテナ装置を構成する場合、小型かつ低コストで、全方位を含めた広角度の放射指向性を実現することは困難であった。
【0005】
本発明は上記の課題を解決するためになされたものであり、誘電体基板を用いてアンテナ装置を構成する場合、上下対称に配置された1対のパッチアンテナを用いて、それぞれのパッチアンテナの放射指向性を十分に保ちつつ全方位の放射指向性を確保し、小型化と低コスト化が可能なアンテナ装置を実現するものである。
【課題を解決するための手段】
【0006】
上記課題を解決するために、本発明のアンテナ装置(1)は、厚さ方向である第1の方向(Z)に対向する第1の表面(S1)及び第2の表面(S2)を有する誘電体基板を用いて構成されたアンテナ装置であって、前記第1の表面と前記第2の表面との間の領域に配置されるグランド導体(21、22a、22b、23a、23b)と、前記グランド導体と前記第1の表面との間の第1の導体層に形成される第1のパッチアンテナ(20a)と、前記グランド導体と前記第2の表面との間の第2の導体層に形成される第2のパッチアンテナ(20b)と、前記第1の導体層と前記第1の表面との間の第1の誘電体層(11a)に形成され、前記第1の方向に沿って前記第1の表面から見た平面視で前記第1のパッチアンテナを取り囲む形状を有する第1のキャビティ(12a)と、前記第2の導体層と前記第2の表面との間の第2の誘電体層(11b)に形成され、前記第1の方向に沿って前記第2の表面から見た平面視で前記第2のパッチアンテナを取り囲む形状を有する第2のキャビティ(12b)とを備えて構成され、前記グランド導体を挟んで、前記第1のパッチアンテナと前記第2のパッチアンテナとが前記第1の方向に対向するとともに、前記第1のキャビティと前記第2のキャビティとが前記第1の方向に対向することを特徴としている。
【0007】
本発明のアンテナ装置は、誘電体基板を用いたアンテナ装置には、中央のグランド導体を挟んで上下1対のパッチアンテナ及び上下1対のキャビティが形成され、それぞれのキャビティは第1の方向から見た平面視でそれぞれのパッチアンテナを取り囲む形状を有して構成される。このような構造により、給電構造を経て上下のパッチアンテナから放射される電波は、上下のキャビティの側面の誘電体表面の電磁界分布の影響で放射指向性が広角度化するとともに、第1の方向の両側を含む全方位にわたって放射方向を広げることができる。従って、複数のアンテナをアレイ状に配置するためのスペース増加やビームフォーミング時の位相制御のための複雑な電子回路が不要となり、多様な用途に適用可能な全方位の放射指向性を有するアンテナ装置を小型かつ低コストで構成することができる。
【0008】
本発明において、1対のパッチアンテナ及び1対のキャビティは、それぞれ第1の方向から見た平面視で矩形の形状とすることができる。この場合、それぞれのキャビティの第1の方向に沿った高さは、誘電体基板における使用周波数の波長λに対し、0.7λから0.8λの範囲内に設定することが望ましい。また、第1の方向から見た平面視で、それぞれのキャビティの外縁部は、それぞれのパッチアンテナの外縁部から、0.03λから0.07λの範囲内の距離だけ大きく設定することが望ましい。
【0009】
本発明において、第1の方向から見た平面視で、パッチアンテナ及びキャビティは、誘電体基板の中心に対し対称的に配置することができる。これにより、アンテナ装置には、基板平面内の略中央から各方向への対称的な放射指向性を得ることができる。また、第1のパッチアンテナと第2のパッチアンテナとは第1の方向に対して互いに対称的な形状とし、第1のキャビティと第2のキャビティとは第1の方向に対して互いに対称的な形状とすることができる。これにより、第1の方向の両側で概ね等しい放射指向性を確保することができる。
【0010】
本発明において、グランド導体は、第1の方向に延伸する複数のビア導体を介して相互に接続される複数の導体層に形成することができる。これにより、グランド導体の面積を拡大してグランドを強化し、アンテナ特性の向上が可能となる。
(【0011】以降は省略されています)
この特許をJ-PlatPat(特許庁公式サイト)で参照する
関連特許
株式会社トクミ
ケーブル
今日
日本特殊陶業株式会社
アンテナ装置
1日前
日本特殊陶業株式会社
アンテナ装置
1日前
トヨタ自動車株式会社
蓄電装置構造
今日
日本特殊陶業株式会社
アンテナ装置
1日前
TDK株式会社
電子部品
1日前
株式会社ダイヘン
電圧調整装置
1日前
矢崎総業株式会社
コネクタ
今日
住友電気工業株式会社
半導体装置
今日
矢崎総業株式会社
コネクタ
今日
矢崎総業株式会社
ヒューズ接続端子
今日
矢崎総業株式会社
端子防水構造
今日
日本バイリーン株式会社
電気化学素子用セパレータ
今日
矢崎総業株式会社
端子防水構造
今日
株式会社半導体エネルギー研究所
二次電池の作製方法
6日前
矢崎総業株式会社
コネクタ嵌合体
今日
キヤノン株式会社
発光装置
6日前
キヤノン電子管デバイス株式会社
電子管
今日
キヤノン株式会社
二次電池
1日前
TOTO株式会社
静電チャック
今日
TOTO株式会社
静電チャック
今日
三菱電機株式会社
半導体装置
1日前
株式会社ディスコ
加工方法
1日前
株式会社東芝
真空バルブ
今日
矢崎総業株式会社
端子台
1日前
矢崎総業株式会社
端子台
1日前
トヨタ自動車株式会社
電池
6日前
矢崎総業株式会社
端子台
1日前
トヨタ自動車株式会社
電池
6日前
矢崎総業株式会社
端子台
1日前
株式会社プロテリアル
クラッド構造体および電池用端子部品
今日
トヨタ自動車株式会社
電池用電極
1日前
日産自動車株式会社
パワー半導体モジュール
6日前
キヤノン株式会社
発光装置及び測距装置
6日前
栗田工業株式会社
洗浄水製造装置及び洗浄水製造方法
6日前
トヨタ自動車株式会社
アイオノマー
6日前
続きを見る
他の特許を見る