TOP
|
特許
|
意匠
|
商標
特許ウォッチ
Twitter
他の特許を見る
公開番号
2025175727
公報種別
公開特許公報(A)
公開日
2025-12-03
出願番号
2024081948
出願日
2024-05-20
発明の名称
加工方法
出願人
株式会社ディスコ
代理人
弁理士法人酒井国際特許事務所
主分類
H01L
21/304 20060101AFI20251126BHJP(基本的電気素子)
要約
【課題】被加工物の所望の領域を容易にくり抜くことができる加工方法を提供すること。
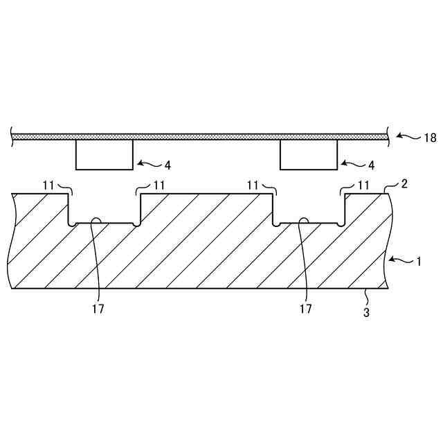
【解決手段】加工方法は、第1面と第1面の背面の第2面とを有した被加工物の第1面から被加工物の一部をくり抜く加工方法であって、第1面上における一部の輪郭に沿って第1面に開口する輪郭溝を形成する輪郭溝形成ステップ101と、輪郭溝形成ステップ101を実施した後、被加工物に対して透過性を有する波長のレーザビームの集光点を被加工物内部に位置付けた状態でレーザビームを輪郭溝で囲繞された領域に照射して改質領域と改質領域から伸長するクラックとからなる剥離起点を形成する剥離起点形成ステップ102と、剥離起点形成ステップ102を実施した後、輪郭溝と剥離起点とで画成される一部を被加工物から剥離する剥離ステップ103と、を備える。
【選択図】図3
特許請求の範囲
【請求項1】
第1面と該第1面の背面の第2面とを有した被加工物から該第1面に開口した該被加工物の一部をくり抜く加工方法であって、
該第1面上における該一部の輪郭に沿って該第1面に開口する輪郭溝を形成する輪郭溝形成ステップと、
該輪郭溝形成ステップを実施した後、該被加工物に対して透過性を有する波長のレーザビームの集光点を該被加工物内部に位置付けた状態で該レーザビームを該輪郭溝で囲繞された領域に照射して改質領域と該改質領域から伸長するクラックとからなる剥離起点を形成する剥離起点形成ステップと、
該剥離起点形成ステップを実施した後、該輪郭溝と該剥離起点とで画成される該一部を該被加工物から剥離する剥離ステップと、を備えた加工方法。
続きを表示(約 230 文字)
【請求項2】
該剥離起点形成ステップでは、該集光点を該輪郭溝の溝底よりも該第1面側に位置付けて該レーザビームを照射する、請求項1に記載の加工方法。
【請求項3】
該輪郭溝形成ステップでは、該被加工物に対して吸収性を有する波長のレーザビームを該第1面に向かって該輪郭に沿って複数回照射することで該輪郭溝を形成する、請求項1または請求項2に記載の加工方法。
【請求項4】
該輪郭は曲線を含む、請求項3に記載の加工方法。
発明の詳細な説明
【技術分野】
【0001】
本発明は、被加工物の一部をくり抜く加工方法に関する。
続きを表示(約 1,000 文字)
【背景技術】
【0002】
被加工物の一部をくり抜く加工を施すことがあり、従来、エッチング等によって加工を行なっていた(例えば、特許文献1及び特許文献2参照)。
【先行技術文献】
【特許文献】
【0003】
特表2023-523896号公報
特開2021-124646号公報
【発明の概要】
【発明が解決しようとする課題】
【0004】
しかしながら、特許文献1及び特許文献2に示された加工は、くり抜く領域の制御が難しく、改善が切望されていた。
【0005】
本発明の目的は、被加工物の所望の領域を容易にくり抜くことができる加工方法を提供することである。
【課題を解決するための手段】
【0006】
上述した課題を解決し、目的を達成するために、本発明の加工方法は、第1面と該第1面の背面の第2面とを有した被加工物から該第1面に開口した該被加工物の一部をくり抜く加工方法であって、該第1面上における該一部の輪郭に沿って該第1面に開口する輪郭溝を形成する輪郭溝形成ステップと、該輪郭溝形成ステップを実施した後、該被加工物に対して透過性を有する波長のレーザビームの集光点を該被加工物内部に位置付けた状態で該レーザビームを該輪郭溝で囲繞された領域に照射して改質領域と該改質領域から伸長するクラックとからなる剥離起点を形成する剥離起点形成ステップと、該剥離起点形成ステップを実施した後、該輪郭溝と該剥離起点とで画成される該一部を該被加工物から剥離する剥離ステップと、を備えたことを特徴とする。
【0007】
前記加工方法において、該剥離起点形成ステップでは、該集光点を該輪郭溝の溝底よりも該第1面側に位置付けて該レーザビームを照射してもよい。
【0008】
前記加工方法において、該輪郭溝形成ステップでは、該被加工物に対して吸収性を有する波長のレーザビームを該第1面に向かって該輪郭に沿って複数回照射することで該輪郭溝を形成してもよい。
【0009】
前記加工方法において、該輪郭は曲線を含んでもよい。
【発明の効果】
【0010】
本発明は、被加工物の所望の領域を容易にくり抜くことができるという効果を奏する。
【図面の簡単な説明】
(【0011】以降は省略されています)
この特許をJ-PlatPat(特許庁公式サイト)で参照する
関連特許
株式会社ディスコ
焼成炉
1か月前
株式会社ディスコ
加工装置
1か月前
株式会社ディスコ
加工装置
15日前
株式会社ディスコ
掃除器具
14日前
株式会社ディスコ
加工方法
1か月前
株式会社ディスコ
加工装置
1か月前
株式会社ディスコ
切削装置
8日前
株式会社ディスコ
切削装置
1か月前
株式会社ディスコ
加工装置
1か月前
株式会社ディスコ
加工装置
1か月前
株式会社ディスコ
加工装置
7日前
株式会社ディスコ
掃除器具
14日前
株式会社ディスコ
加工装置
14日前
株式会社ディスコ
研削装置
7日前
株式会社ディスコ
加工装置
1か月前
株式会社ディスコ
加工方法
1か月前
株式会社ディスコ
切削装置
1か月前
株式会社ディスコ
処理方法
14日前
株式会社ディスコ
加工装置
1か月前
株式会社ディスコ
加工装置
1か月前
株式会社ディスコ
切削装置
6日前
株式会社ディスコ
研削装置
2か月前
株式会社ディスコ
加工装置
27日前
株式会社ディスコ
処理装置
6日前
株式会社ディスコ
研削装置
1か月前
株式会社ディスコ
加工方法
1日前
株式会社ディスコ
加工装置
今日
株式会社ディスコ
加工装置
1か月前
株式会社ディスコ
処理装置
1か月前
株式会社ディスコ
搬送システム
1か月前
株式会社ディスコ
搬送システム
14日前
株式会社ディスコ
搬送システム
1か月前
株式会社ディスコ
搬送システム
14日前
株式会社ディスコ
搬送システム
7日前
株式会社ディスコ
搬送システム
2か月前
株式会社ディスコ
搬送システム
1か月前
続きを見る
他の特許を見る