TOP
|
特許
|
意匠
|
商標
特許ウォッチ
Twitter
他の特許を見る
10個以上の画像は省略されています。
公開番号
2025161033
公報種別
公開特許公報(A)
公開日
2025-10-24
出願番号
2024063882
出願日
2024-04-11
発明の名称
処理装置
出願人
株式会社ディスコ
代理人
個人
,
個人
,
個人
,
個人
,
個人
,
個人
主分類
H01L
21/301 20060101AFI20251017BHJP(基本的電気素子)
要約
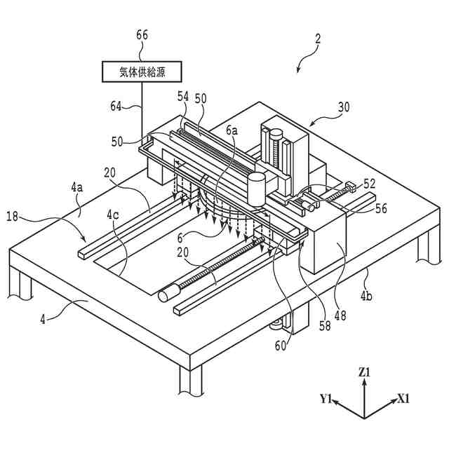
【課題】保持テーブルの保持面に存在する異物を除去することが可能な処理装置を提供する。
【解決手段】
被処理物を処理する処理装置であって、該被処理物を保持する保持面を有する保持テーブルと、該保持テーブルで保持された該被処理物に対して処理を施す処理ユニットと、該保持テーブルを所定の移動経路に沿って移動させる移動ユニットと、該移動経路と重なる位置に設けられ、該保持面に向かって気体を噴射する気体噴射ユニットと、を備える処理装置が提供される。
【選択図】図1
特許請求の範囲
【請求項1】
被処理物を処理する処理装置であって、
該被処理物を保持する保持面を有する保持テーブルと、
該保持テーブルで保持された該被処理物に対して処理を施す処理ユニットと、
該保持テーブルを所定の移動経路に沿って移動させる移動ユニットと、
該移動経路と重なる位置に設けられ、該保持面に向かって気体を噴射する気体噴射ユニットと、を備える、処理装置。
続きを表示(約 760 文字)
【請求項2】
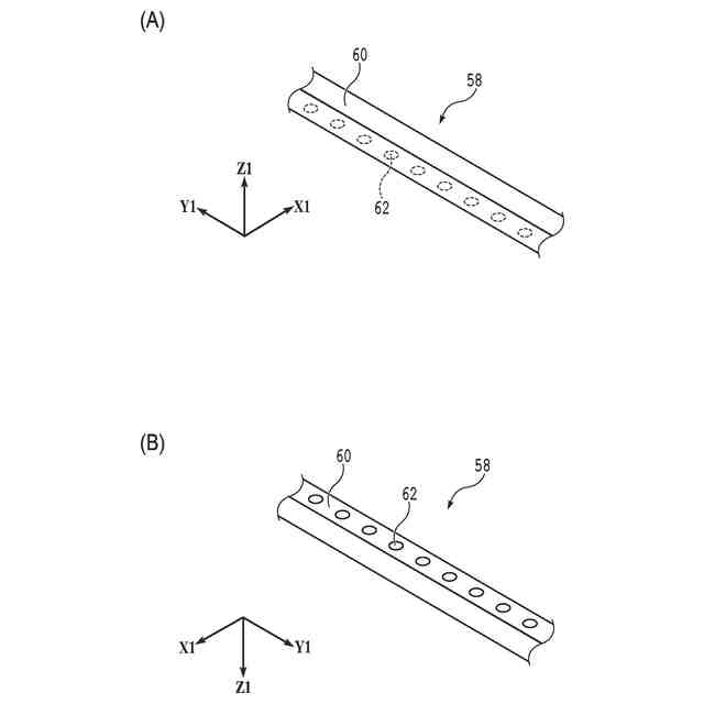
該気体噴射ユニットは、該移動経路の上方に設けられ、該気体を噴射する複数の噴射口を有する噴射ノズルを有し、
該複数の噴射口は、該移動経路と交差する方向に沿って配置され、
該保持テーブルが該噴射ノズルの下方を通過する際に、該噴射口から該保持面の全面に該気体を噴射する、請求項1に記載の処理装置。
【請求項3】
被処理物を処理する処理装置であって、
該被処理物を保持する保持面を有する保持テーブルと、
該保持テーブルで保持された該被処理物に対して処理を施す処理ユニットと、
該保持テーブルを所定の移動経路に沿って移動させる移動ユニットと、
該移動経路と重なる位置に設けられ、該保持面に対して吸引力を作用させる吸引ユニットと、を備える、処理装置。
【請求項4】
該吸引ユニットは、該移動経路の上方に設けられ、複数の吸引口を有する吸引ノズルを有し、
該複数の吸引口は、該移動経路と交差する方向に沿って配置され、
該保持テーブルが該吸引ノズルの下方を通過する際に、該吸引口から該保持面の全面に対して該吸引力を作用させる、請求項3に記載の処理装置。
【請求項5】
該移動経路は、該被処理物の搬送が行われる搬送領域と、該処理ユニットによる該被処理物の処理が行われる処理領域とを結ぶ、請求項1から4のいずれかに記載の処理装置。
【請求項6】
該保持テーブルは、該保持面を構成する透明部材を備える、請求項1から4のいずれかに記載の処理装置。
【請求項7】
該処理装置は、検査装置、切削装置、レーザー加工装置又は研削装置である、請求項1から請求項4のいずれかに記載の処理装置。
発明の詳細な説明
【技術分野】
【0001】
本発明は、処理装置に関する。
続きを表示(約 1,700 文字)
【背景技術】
【0002】
携帯電話機やパソコン(Personal Computer)等の電気機器に搭載されるデバイスチップは、シリコン等の半導体からなるウェーハに種々の処理が施されることにより製造される。デバイスチップの製造工程は、例えば、特許文献1に記載されている。すなわち、ウェーハの表面に分割予定ライン(ストリート)が格子状に設定される。分割予定ラインにより区切られた複数の領域には、IC(Integrated Circuit)等のデバイスが形成される。表面にデバイスが形成されたウェーハは、裏面が研削されて所定の厚みに形成された後、分割予定ラインに沿って分割される。これにより、それぞれがデバイスを有する複数個のデバイスチップが製造される。
【0003】
また、上記デバイスチップの製造工程の前後又は途中において、ウェーハを検査するための処理が行われることがある。例えば、特許文献2には、切削処理が施された後のウェーハの状態(加工痕の形成位置、チッピングの形状、大きさ、分布等)を検査するために、透明部材で形成された保持テーブルに加工後のウェーハを保持して、ウェーハの表面側及び裏面側に配設された撮像ユニットによりウェーハの表面及び裏面を撮像する検査装置が開示されている。
【先行技術文献】
【特許文献】
【0004】
特開2010-087141号公報
特開2020-177975号公報
【発明の概要】
【発明が解決しようとする課題】
【0005】
上述したように、ウェーハ等の被処理物に各種の処理(研削、切削及び検査等)が施される際には、被処理物が保持面を有する保持テーブルにより保持される。しかしながら、保持面に異物(加工屑等)が付着している場合、被処理物を適切に保持できない可能性がある。
【0006】
被処理物が保持テーブルにより適切に保持されていない状態で処理されると、ウェーハの処理又は検査が適切に行われない恐れがある。例えば、保持テーブルによるウェーハの保持が不完全であると、被処理物の位置ずれが生じやすくなり、対象物の意図しない部分が加工されたり、検査の精度が悪化したりすることがある。また、異物が付着した保持面上に被処理物を配置すると、保持面と被処理物とによって異物が挟まれ、保持面及び被処理物のうち異物と接触する領域において局所的な応力が作用する。これにより、保持テーブル又はウェーハの欠けや破損が発生することがある。
【0007】
本発明の目的は、上記事情に鑑み、保持テーブルに付着する異物を除去できる処理装置を提供することである。
【課題を解決するための手段】
【0008】
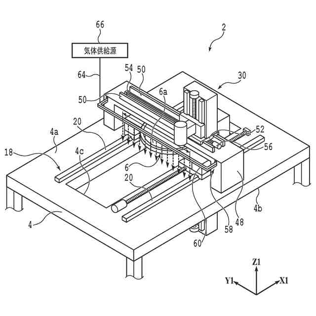
本発明の一側面によれば、被処理物を処理する処理装置であって、該被処理物を保持する保持面を有する保持テーブルと、該保持テーブルで保持された該被処理物に対して処理を施す処理ユニットと、該保持テーブルを所定の移動経路に沿って移動させる移動ユニットと、該移動経路と重なる位置に設けられ、該保持面に向かって気体を噴射する気体噴射ユニットと、を備える、処理装置が提供される。
【0009】
好ましくは、該気体噴射ユニットは、該移動経路の上方に設けられ、該気体を噴射する複数の噴射口を有する噴射ノズルを有し、該複数の噴射口は、該移動経路と交差する方向に沿って配置され、該保持テーブルが該噴射ノズルの下方を通過する際に、該噴射口から該保持面の全面に該気体を噴射する。
【0010】
また、本発明の他の一側面によれば、被処理物を処理する処理装置であって、該被処理物を保持する保持面を有する保持テーブルと、該保持テーブルで保持された該被処理物に対して処理を施す処理ユニットと、該保持テーブルを所定の移動経路に沿って移動させる移動ユニットと、該移動経路と重なる位置に設けられ、該保持面に対して吸引力を作用させる吸引ユニットと、を備える、処理装置が提供される。
(【0011】以降は省略されています)
この特許をJ-PlatPat(特許庁公式サイト)で参照する
関連特許
株式会社ディスコ
焼成炉
22日前
株式会社ディスコ
加工装置
11日前
株式会社ディスコ
加工方法
29日前
株式会社ディスコ
加工装置
1か月前
株式会社ディスコ
加工装置
16日前
株式会社ディスコ
切削装置
1か月前
株式会社ディスコ
切削装置
17日前
株式会社ディスコ
加工装置
8日前
株式会社ディスコ
加工装置
1か月前
株式会社ディスコ
加工装置
24日前
株式会社ディスコ
加工装置
1か月前
株式会社ディスコ
研削装置
22日前
株式会社ディスコ
加工装置
1か月前
株式会社ディスコ
処理装置
22日前
株式会社ディスコ
加工装置
1か月前
株式会社ディスコ
搬送システム
29日前
株式会社ディスコ
搬送システム
1か月前
株式会社ディスコ
搬送システム
22日前
株式会社ディスコ
シート固着装置
10日前
株式会社ディスコ
レーザー加工装置
10日前
株式会社ディスコ
保護部材形成装置
1か月前
株式会社ディスコ
抗折強度測定装置
22日前
株式会社ディスコ
液状樹脂供給装置
1か月前
株式会社ディスコ
保護部材形成装置
29日前
株式会社ディスコ
配線引き抜き治具
22日前
株式会社ディスコ
加工室の洗浄方法
19日前
株式会社ディスコ
ウェーハの分割方法
23日前
株式会社ディスコ
ウエーハの加工方法
23日前
株式会社ディスコ
スピンドルユニット
8日前
株式会社ディスコ
加工装置及び支持柱
23日前
株式会社ディスコ
ウエーハの加工装置
29日前
株式会社ディスコ
被加工物の加工方法
16日前
株式会社ディスコ
カーフチェック方法
23日前
株式会社ディスコ
被加工物の処理装置
1か月前
株式会社ディスコ
処理装置及び検知方法
17日前
株式会社ディスコ
搬出装置及び切削装置
1か月前
続きを見る
他の特許を見る