TOP
|
特許
|
意匠
|
商標
特許ウォッチ
Twitter
他の特許を見る
公開番号
2025176521
公報種別
公開特許公報(A)
公開日
2025-12-04
出願番号
2024082729
出願日
2024-05-21
発明の名称
半導体装置
出願人
住友電気工業株式会社
代理人
個人
,
個人
主分類
H01L
23/48 20060101AFI20251127BHJP(基本的電気素子)
要約
【課題】放熱性を向上できる半導体装置を提供する。
【解決手段】半導体装置は、ダイパッドと、前記ダイパッドに搭載された半導体チップと、前記半導体チップと、前記ダイパッドの一部とを封止する封止材と、を有し、前記ダイパッドは、前記半導体チップが搭載された第1主面と、前記第1主面とは反対の第2主面とを有する基部を有し、前記第2主面に、底面を有するリセスが形成され、前記ダイパッドは、前記底面から突出する突出部を有する。
【選択図】図2
特許請求の範囲
【請求項1】
ダイパッドと、
前記ダイパッドに搭載された半導体チップと、
前記半導体チップと、前記ダイパッドの一部とを封止する封止材と、
を有し、
前記ダイパッドは、前記半導体チップが搭載された第1主面と、前記第1主面とは反対の第2主面とを有する基部を有し、
前記第2主面に、底面を有するリセスが形成され、
前記ダイパッドは、前記底面から突出する突出部を有する、半導体装置。
続きを表示(約 630 文字)
【請求項2】
前記ダイパッドは、前記突出部を複数有する、請求項1に記載の半導体装置。
【請求項3】
前記第1主面に垂直な平面視で、前記半導体チップは、少なくとも一つの前記突出部と重なり合う、請求項2に記載の半導体装置。
【請求項4】
隣り合う前記突出部の間の距離は前記半導体チップの幅の1/2以下である、請求項2または請求項3に記載の半導体装置。
【請求項5】
前記リセスの深さは、前記基部の厚さの2/3以下である、請求項1から請求項3のいずれか1項に記載の半導体装置。
【請求項6】
前記突出部は、前記第2主面と面一の端面を有する、請求項1から請求項3のいずれか1項に記載の半導体装置。
【請求項7】
前記突出部は、前記第2主面よりも前記第1主面から離れた端面を有する、請求項1から請求項3のいずれか1項に記載の半導体装置。
【請求項8】
前記端面と前記第1主面との間の距離は、前記基部の厚さの1.5倍以上である、請求項7に記載の半導体装置。
【請求項9】
前記突出部の平面形状は、正方形、長方形、円形、三角形または六角形である、請求項1から請求項3のいずれか1項に記載の半導体装置。
【請求項10】
前記基部と前記突出部とは一つの金属材から形成されている、請求項1から請求項3のいずれか1項に記載の半導体装置。
発明の詳細な説明
【技術分野】
【0001】
本開示は、半導体装置に関する。
続きを表示(約 1,100 文字)
【背景技術】
【0002】
ダイパッドに半導体チップが搭載され、封止材により半導体チップと、ダイパッドの一部とが封止された半導体装置が知られている。
【先行技術文献】
【特許文献】
【0003】
特開2010-027878号公報
特開2007-317781号公報
【発明の概要】
【発明が解決しようとする課題】
【0004】
従来の半導体装置はヒートシンクに取り付けて使用されている。ヒートシンクに取り付けずに半導体装置を使用しようとすると、放熱性が低く、半導体装置が高温になりやすい。
【0005】
本開示は、放熱性を向上できる半導体装置を提供することを目的とする。
【課題を解決するための手段】
【0006】
本開示の半導体装置は、ダイパッドと、前記ダイパッドに搭載された半導体チップと、前記半導体チップと、前記ダイパッドの一部とを封止する封止材と、を有し、前記ダイパッドは、前記半導体チップが搭載された第1主面と、前記第1主面とは反対の第2主面とを有する基部を有し、前記第2主面に、底面を有するリセスが形成され、前記ダイパッドは、前記底面から突出する突出部を有する。
【発明の効果】
【0007】
本開示によれば、放熱性を向上できる。
【図面の簡単な説明】
【0008】
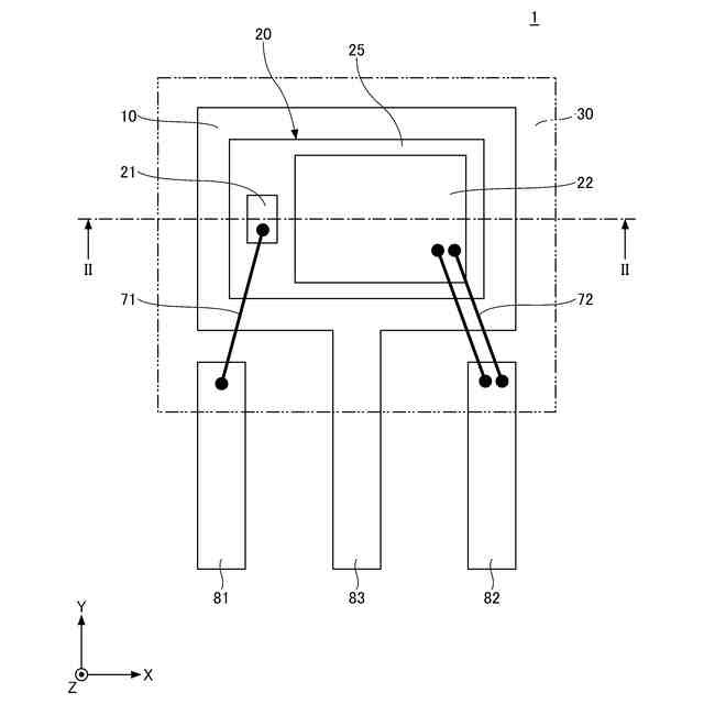
図1は、第1実施形態に係る半導体装置を示す上面図である。
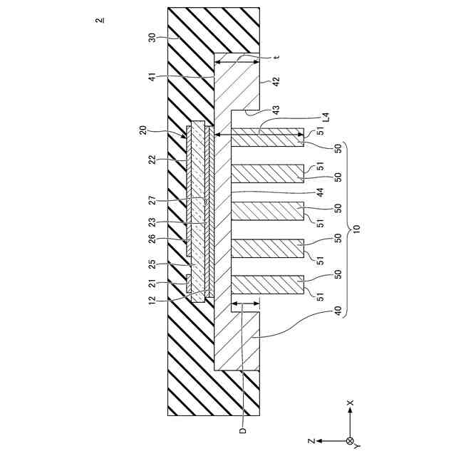
図2は、第1実施形態に係る半導体装置を示す断面図である。
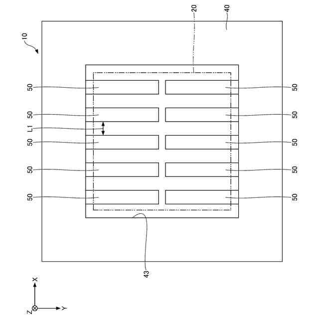
図3は、ダイパッドを示す下面図である。
図4は、第2実施形態に係る半導体装置を示す断面図である。
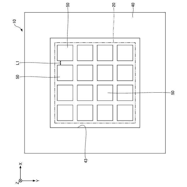
図5は、ダイパッドの変形例を示す下面図(その1)である。
図6は、ダイパッドの変形例を示す下面図(その2)である。
図7は、ダイパッドの変形例を示す下面図(その3)である。
図8は、ダイパッドの変形例を示す下面図(その4)である。
【発明を実施するための形態】
【0009】
[本開示の実施形態の説明]
最初に本開示の実施態様を列記して説明する。
【0010】
〔1〕 本開示の一態様に係る半導体装置は、ダイパッドと、前記ダイパッドに搭載された半導体チップと、前記半導体チップと、前記ダイパッドの一部とを封止する封止材と、を有し、前記ダイパッドは、前記半導体チップが搭載された第1主面と、前記第1主面とは反対の第2主面とを有する基部を有し、前記第2主面に、底面を有するリセスが形成され、前記ダイパッドは、前記底面から突出する突出部を有する。
(【0011】以降は省略されています)
この特許をJ-PlatPat(特許庁公式サイト)で参照する
関連特許
住友電気工業株式会社
ペレット
1か月前
住友電気工業株式会社
受光素子
27日前
住友電気工業株式会社
ペレット
1か月前
住友電気工業株式会社
半導体装置
今日
住友電気工業株式会社
歪補償装置
1日前
住友電気工業株式会社
光検出装置
29日前
住友電気工業株式会社
半導体受光素子
1か月前
住友電気工業株式会社
炭化珪素半導体装置
1か月前
住友電気工業株式会社
炭化珪素半導体装置
1か月前
住友電気工業株式会社
炭化珪素半導体装置
6日前
住友電気工業株式会社
炭化珪素半導体装置
1か月前
住友電気工業株式会社
炭化珪素半導体装置
1か月前
住友電気工業株式会社
光分岐ケーブルセット
1日前
住友電気工業株式会社
光コネクタおよび接続構造
6日前
住友電気工業株式会社
受光素子およびその製造方法
1か月前
住友電気工業株式会社
窒化物半導体装置の製造方法
14日前
住友電気工業株式会社
集電体及びニッケル亜鉛電池
1か月前
住友電気工業株式会社
窒化物半導体基板の製造方法
1日前
住友電気工業株式会社
コンタクタ治具および検査治具
1か月前
住友電気工業株式会社
アバランシェフォトダイオード
22日前
住友電気工業株式会社
学習装置、学習方法及び学習プログラム
1日前
住友電気工業株式会社
タンク、およびレドックスフロー電池システム
7日前
住友電気工業株式会社
半導体装置の製造方法および半導体装置の検査方法
6日前
住友電気工業株式会社
半導体装置の製造方法および半導体装置の検査方法
6日前
住友電気工業株式会社
半導体装置の製造方法および半導体装置の検査方法
6日前
住友電気工業株式会社
窒化物半導体装置および窒化物半導体装置の製造方法
6日前
住友電気工業株式会社
画像処理装置、画像処理方法及び画像処理プログラム
28日前
住友電気工業株式会社
画像処理装置、画像処理方法及び画像処理プログラム
14日前
住友電気工業株式会社
電力変換システム、制御方法、コンピュータプログラム
14日前
住友電気工業株式会社
光コネクタクリーナおよび光コネクタの端面の清掃方法
1か月前
住友電工プリントサーキット株式会社
プリント配線板
1か月前
住友電気工業株式会社
絶縁層用樹脂組成物、絶縁電線および絶縁電線の製造方法
28日前
住友電気工業株式会社
宅側装置、光通信システム、及びサブキャリアの選択方法
7日前
住友電気工業株式会社
回転電機
1日前
住友電気工業株式会社
プリント配線板用露光装置およびプリント配線板の製造方法
6日前
住友電気工業株式会社
樹脂組成物、電線、樹脂組成物の製造方法、および電線の製造方法
1か月前
続きを見る
他の特許を見る