TOP
|
特許
|
意匠
|
商標
特許ウォッチ
Twitter
他の特許を見る
10個以上の画像は省略されています。
公開番号
2025173756
公報種別
公開特許公報(A)
公開日
2025-11-28
出願番号
2024079493
出願日
2024-05-15
発明の名称
半導体装置の製造方法および半導体装置の検査方法
出願人
住友電気工業株式会社
代理人
個人
,
個人
主分類
H10D
30/01 20250101AFI20251120BHJP()
要約
【課題】ゲート閾値電圧の変動が小さいチップの製造方法および半導体装置の検査方法を提供する。
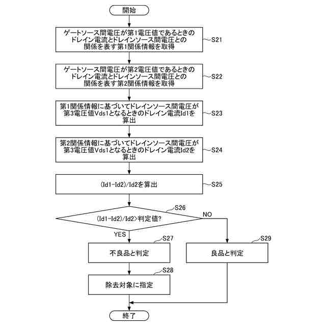
【解決手段】半導体装置の製造方法において、チップを検査する工程は、電界効果トランジスタのゲートソース間電圧が第1電圧値であるときのドレイン電流とドレインソース間電圧との関係を表す第1関係情報を取得する工程と、ゲートソース間電圧が第1電圧値よりも小さい第2電圧値であるときのドレイン電流とドレインソース間電圧との関係を表す第2関係情報を取得する工程と、第1関係情報に基づいてドレインソース間電圧が第3電圧値となるときの前記ドレイン電流である第1電流値を算出する工程と、第2関係情報に基づいてドレインソース間電圧が第3電圧値となるときのドレイン電流である第2電流値を算出する工程と、(Id1-Id2)/Id2により算出される算出値が判定値よりも大きい場合に不良品であると判定する工程と、を有する。
【選択図】図8
特許請求の範囲
【請求項1】
電界効果トランジスタを含む半導体装置の製造方法であって、
前記電界効果トランジスタのゲートソース間電圧が第1電圧値であるときの前記電界効果トランジスタのドレイン電流とドレインソース間電圧との関係を表す第1関係情報を取得する工程と、
前記電界効果トランジスタの前記ゲートソース間電圧が前記第1電圧値よりも小さい第2電圧値であるときの前記電界効果トランジスタのドレイン電流とドレインソース間電圧との関係を表す第2関係情報を取得する工程と、
前記第1関係情報に基づいて前記ドレインソース間電圧が第3電圧値となるときの前記ドレイン電流である第1電流値を算出する工程と、
前記第2関係情報に基づいて前記ドレインソース間電圧が前記第3電圧値となるときの前記ドレイン電流である第2電流値を算出する工程と、
前記第1電流値をId1とし、前記第2電流値をId2としたときに、(Id1-Id2)/Id2により算出される算出値が判定値よりも大きい場合に前記電界効果トランジスタが不良品であると判定する工程と、
を有する、半導体装置の製造方法。
続きを表示(約 1,000 文字)
【請求項2】
前記第1関係情報は、前記電界効果トランジスタを室温よりも高い第1温度に加熱した状態で取得される、
請求項1に記載の半導体装置の製造方法。
【請求項3】
前記第1温度は、150℃以上250℃以下である、
請求項2に記載の半導体装置の製造方法。
【請求項4】
前記半導体装置は、半導体基板と、前記半導体基板の面内に形成された複数のチップ領域とを有し、
複数の前記チップ領域のそれぞれに前記電界効果トランジスタが形成されており、
前記判定値は、前記チップ領域ごとに算出される前記算出値の中央値に基づいて定められる、
請求項1から請求項3のいずれか1項に記載の半導体装置の製造方法。
【請求項5】
前記判定値は1.0%である、
請求項1から請求項3のいずれか1項に記載の半導体装置の製造方法。
【請求項6】
前記第1電圧値は、ゲート閾値電圧よりも小さく、
前記第3電圧値は、前記電界効果トランジスタの破壊電圧の0.9倍以下である、
請求項1から請求項3のいずれか1項に記載の半導体装置の製造方法。
【請求項7】
電界効果トランジスタを含む半導体装置の検査方法であって、
前記電界効果トランジスタのゲートソース間電圧が第1電圧値であるときの前記電界効果トランジスタのドレイン電流とドレインソース間電圧との関係を表す第1関係情報を取得する工程と、
前記電界効果トランジスタの前記ゲートソース間電圧が前記第1電圧値よりも小さい第2電圧値であるときの前記電界効果トランジスタのドレイン電流とドレインソース間電圧との関係を表す第2関係情報を取得する工程と、
前記第1関係情報に基づいて前記ドレインソース間電圧が第3電圧値となるときの前記ドレイン電流である第1電流値を算出する工程と、
前記第2関係情報に基づいて前記ドレインソース間電圧が前記第3電圧値となるときの前記ドレイン電流である第2電流値を算出する工程と、
前記第1電流値をId1とし、前記第2電流値をId2としたときに、(Id1-Id2)/Id2により算出される算出値が判定値よりも大きい場合に前記電界効果トランジスタが不良品であると判定する工程と、
を有する、半導体装置の検査方法。
発明の詳細な説明
【技術分野】
【0001】
本開示は、半導体装置の製造方法および半導体装置の検査方法に関する。
続きを表示(約 1,600 文字)
【背景技術】
【0002】
パッシベーション膜で覆われた部分を除いた金属電極の表面がニッケルめっき膜で覆われた半導体装置が開示されている。
【先行技術文献】
【特許文献】
【0003】
特開2020-047675号公報
【発明の概要】
【発明が解決しようとする課題】
【0004】
ニッケルめっき膜を形成する際に用いられるめっき液には、ナトリウムイオンなどの金属イオンが含まれる。金属イオンは、金属電極の脆化部の浸食を通じて層間絶縁膜およびゲート絶縁膜に拡散する場合がある。この場合、高温で電圧を印加したときにゲート閾値電圧の低下を引き起こす。
【0005】
本開示は、ゲート閾値電圧の変動が小さいチップを製造できる半導体装置の製造方法および半導体装置の検査方法を提供することを目的とする。
【課題を解決するための手段】
【0006】
本開示の半導体装置の製造方法は、電界効果トランジスタを含む半導体装置の製造方法であって、前記電界効果トランジスタのゲートソース間電圧が第1電圧値であるときの前記電界効果トランジスタのドレイン電流とドレインソース間電圧との関係を表す第1関係情報を取得する工程と、前記電界効果トランジスタの前記ゲートソース間電圧が前記第1電圧値よりも小さい第2電圧値であるときの前記電界効果トランジスタのドレイン電流とドレインソース間電圧との関係を表す第2関係情報を取得する工程と、前記第1関係情報に基づいて前記ドレインソース間電圧が第3電圧値となるときの前記ドレイン電流である第1電流値を算出する工程と、前記第2関係情報に基づいて前記ドレインソース間電圧が前記第3電圧値となるときの前記ドレイン電流である第2電流値を算出する工程と、前記第1電流値をId1とし、前記第2電流値をId2としたときに、(Id1-Id2)/Id2により算出される算出値が判定値よりも大きい場合に前記電界効果トランジスタが不良品であると判定する工程と、を有する。
【発明の効果】
【0007】
本開示によれば、ゲート閾値電圧の変動が小さいチップを製造できる。
【図面の簡単な説明】
【0008】
図1は、実施形態に係る半導体装置を示す図である。
図2は、実施形態に係る半導体装置のチップ領域を示す図である。
図3は、実施形態に係る半導体装置のチップ領域を示す断面図である。
図4は、実施形態に係る半導体装置の製造方法を示すフロー図である。
図5は、チップ領域を形成する工程を示す断面図(その1)である。
図6は、チップ領域を形成する工程を示す断面図(その2)である。
図7は、チップ領域を形成する工程を示す断面図(その3)である。
図8は、チップ領域を検査する工程を示すフロー図である。
図9は、チップ領域に形成された電界効果トランジスタのドレイン電流とドレインソース間電圧との関係を表す特性図である。
図10は、チップ領域に形成された電界効果トランジスタのゲート閾値電圧の変動を示す図である。
【発明を実施するための形態】
【0009】
実施するための形態について、以下に説明する。
【0010】
[本開示の実施形態の説明]
最初に本開示の実施態様を列記して説明する。以下の説明では、同一または対応する要素には同一の符号を付し、それらについて同じ説明は繰り返さない。以下の説明では、XYZ直交座標系を用いるが、当該座標系は、説明のために定めるものであって、炭化珪素半導体装置の姿勢について限定するものではない。XY面視を平面視と称し、任意の点からみて、+Z方向を上方、上側または上と称することがあり、-Z方向を下方、下側または下と称することがある。
(【0011】以降は省略されています)
この特許をJ-PlatPat(特許庁公式サイト)で参照する
関連特許
住友電気工業株式会社
炭化珪素半導体装置
1日前
住友電気工業株式会社
光コネクタおよび接続構造
1日前
住友電気工業株式会社
タンク、およびレドックスフロー電池システム
2日前
住友電気工業株式会社
半導体装置の製造方法および半導体装置の検査方法
1日前
住友電気工業株式会社
半導体装置の製造方法および半導体装置の検査方法
1日前
住友電気工業株式会社
半導体装置の製造方法および半導体装置の検査方法
1日前
住友電気工業株式会社
画像処理装置、画像処理方法及び画像処理プログラム
9日前
住友電気工業株式会社
窒化物半導体装置および窒化物半導体装置の製造方法
1日前
住友電気工業株式会社
電力変換システム、制御方法、コンピュータプログラム
9日前
住友電気工業株式会社
宅側装置、光通信システム、及びサブキャリアの選択方法
2日前
住友電気工業株式会社
プリント配線板用露光装置およびプリント配線板の製造方法
1日前
住友電気工業株式会社
マルチコア光ファイバ
9日前
住友電気工業株式会社
高電子移動度トランジスタおよび高電子移動度トランジスタの製造方法
9日前
株式会社オートネットワーク技術研究所
コネクタ
1日前
株式会社オートネットワーク技術研究所
端子金具
1日前
株式会社オートネットワーク技術研究所
端子金具
1日前
株式会社オートネットワーク技術研究所
端子金具
1日前
株式会社オートネットワーク技術研究所
端子金具
1日前
株式会社オートネットワーク技術研究所
電気接続箱
3日前
住友電気工業株式会社
導電部材、燃料電池および電解装置
3日前
株式会社オートネットワーク技術研究所
オプション機器追加用内装部材
9日前
株式会社オートネットワーク技術研究所
ヒューズモジュール、及びヒューズシステム
1日前
株式会社オートネットワーク技術研究所
ヒューズモジュール、及びヒューズシステム
1日前
住友電気工業株式会社
情報提供装置、情報提供方法、及びコンピュータプログラム
3日前
株式会社オートネットワーク技術研究所
車載中継装置、中継方法および中継プログラム
9日前
株式会社オートネットワーク技術研究所
コネクタ
9日前
株式会社オートネットワーク技術研究所
オプション機器組込内装部材、オプション機器及び内装部材
9日前
株式会社オートネットワーク技術研究所
コネクタ及びコネクタ構成体
3日前
個人
半導体装置
1か月前
個人
積和演算用集積回路
23日前
東レ株式会社
太陽電池モジュール
1か月前
サンケン電気株式会社
半導体装置
22日前
エイブリック株式会社
縦型ホール素子
1か月前
エイブリック株式会社
縦型ホール素子
1か月前
日機装株式会社
半導体発光装置
17日前
旭化成株式会社
発光素子
1か月前
続きを見る
他の特許を見る