TOP
|
特許
|
意匠
|
商標
特許ウォッチ
Twitter
他の特許を見る
10個以上の画像は省略されています。
公開番号
2025174092
公報種別
公開特許公報(A)
公開日
2025-11-28
出願番号
2024080146
出願日
2024-05-16
発明の名称
炭化珪素半導体装置
出願人
住友電気工業株式会社
代理人
個人
,
個人
主分類
H10D
30/66 20250101AFI20251120BHJP()
要約
【課題】耐圧を向上する炭化珪素半導体装置を提供する。
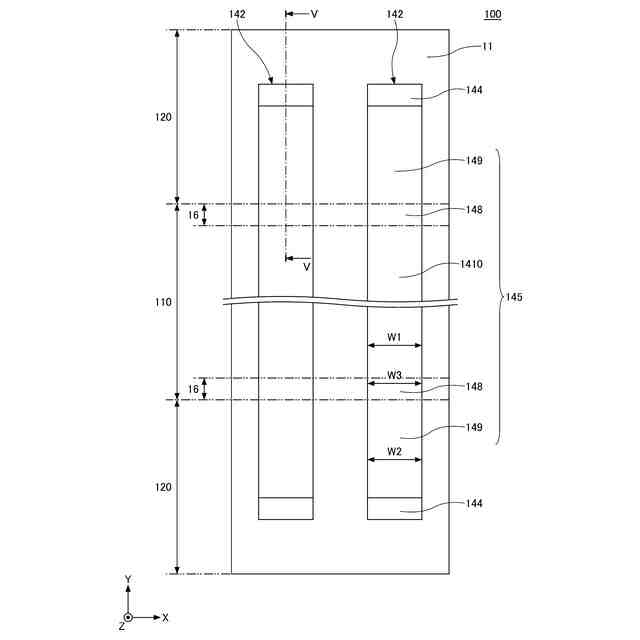
【解決手段】炭化珪素半導体装置100は、第1主面と、対向する第2主面とを有し、第1主面に垂直面な平面視で、活性領域110及び活性領域を囲む終端領域120を有する炭化珪素基板を備え、炭化珪素基板は、第1導電型を有するドリフト領域11、ドリフト領域に設けられ、第2導電型を有する複数のp型領域142及び活性領域内に設けられ、第2導電型を有し、第1主面を構成して平面視で環状のコンタクト領域16を有し、複数のp型領域は、活性領域及び終端領域内で第1主面に平行な第1軸に沿って並び、第1主面に平行かつ第1軸に垂直な第2軸に沿って延び、2つのp型領域144及びp型領域144の間にあるp型領域145を有し、p型領域144は、p型領域142の両端に位置し、第2導電型の第1不純物の実効濃度は、p型領域145に含まれる第1不純物の実効濃度よりも低い。
【選択図】図4
特許請求の範囲
【請求項1】
第1主面と、前記第1主面とは反対の第2主面とを有し、前記第1主面に垂直な平面視で、活性領域と、前記活性領域を囲む終端領域とを有する炭化珪素基板を備え、
前記炭化珪素基板は、
第1導電型を有する第1半導体領域と、
前記第1半導体領域内に設けられ、第2導電型を有する複数の第2半導体領域と、
前記活性領域内に設けられ、前記第2導電型を有し、前記第1主面を構成し、前記平面視で環状の第3半導体領域と、
を有し、
複数の前記第2半導体領域は、前記活性領域および前記終端領域内で前記第1主面に平行な第1軸に沿って並び、前記第1主面に平行かつ前記第1軸に垂直な第2軸に沿って延び、
前記第2半導体領域は、
少なくとも2つの第4半導体領域と、
前記第4半導体領域の間にある第5半導体領域と、
を有し、
前記第4半導体領域は、少なくとも前記第2半導体領域の両端に位置し、
前記第4半導体領域に含まれる前記第2導電型の第1不純物の実効濃度は、前記第5半導体領域に含まれる前記第1不純物の実効濃度よりも低い、炭化珪素半導体装置。
続きを表示(約 770 文字)
【請求項2】
前記第2半導体領域は、4つ以上の前記第4半導体領域を有し、
前記第4半導体領域と前記第5半導体領域とは、前記第2軸に沿って交互に並ぶ、請求項1に記載の炭化珪素半導体装置。
【請求項3】
前記第4半導体領域の前記第2軸に沿う方向の寸法は、前記第2半導体領域の端に近づくほど大きい、請求項2に記載の炭化珪素半導体装置。
【請求項4】
前記第1半導体領域は、
前記第1軸に沿って隣り合う前記第4半導体領域の間にある第6半導体領域と、
前記第1軸に沿って隣り合う前記第5半導体領域の間にある第7半導体領域と、
を有し、
前記第6半導体領域に含まれる前記第1導電型の第2不純物の実効濃度は、前記第7半導体領域に含まれる前記第2不純物の実効濃度よりも高い、請求項1から請求項3のいずれか1項に記載の炭化珪素半導体装置。
【請求項5】
前記第5半導体領域は、
平面視で前記第3半導体領域と重なり、前記第3半導体領域に電気的に接続された第8半導体領域と、
前記終端領域内の第9半導体領域と、
前記活性領域内で、平面視で前記第3半導体領域から離れた第10半導体領域と、
を有し、
前記第10半導体領域の第1幅は、前記第9半導体領域の第2幅よりも小さい、請求項1から請求項3のいずれか1項に記載の炭化珪素半導体装置。
【請求項6】
前記第1幅は、前記第8半導体領域の第3幅よりも小さい、請求項5に記載の炭化珪素半導体装置。
【請求項7】
複数の前記第2半導体領域は、前記第1軸に沿って一定のピッチで設けられている、請求項1から請求項3のいずれか1項に記載の炭化珪素半導体装置。
発明の詳細な説明
【技術分野】
【0001】
本開示は、炭化珪素半導体装置に関する。
続きを表示(約 2,100 文字)
【背景技術】
【0002】
従来、スーパージャンクション構造を備えた半導体装置が開示されている。
【先行技術文献】
【特許文献】
【0003】
特開2003-273355号公報
【発明の概要】
【発明が解決しようとする課題】
【0004】
従来の半導体装置においては、耐圧の更なる向上が困難である。
【0005】
本開示は、耐圧を向上できる炭化珪素半導体装置を提供することを目的とする。
【課題を解決するための手段】
【0006】
本開示の炭化珪素半導体装置は、第1主面と、前記第1主面とは反対の第2主面とを有し、前記第1主面に垂直な平面視で、活性領域と、前記活性領域を囲む終端領域とを有する炭化珪素基板を備え、前記炭化珪素基板は、第1導電型を有する第1半導体領域と、前記第1半導体領域内に設けられ、第2導電型を有する複数の第2半導体領域と、前記活性領域内に設けられ、前記第2導電型を有し、前記第1主面を構成し、前記平面視で環状の第3半導体領域と、を有し、複数の前記第2半導体領域は、前記活性領域および前記終端領域内で前記第1主面に平行な第1軸に沿って並び、前記第1主面に平行かつ前記第1軸に垂直な第2軸に沿って延び、前記第2半導体領域は、少なくとも2つの第4半導体領域と、前記第4半導体領域の間にある第5半導体領域と、を有し、前記第4半導体領域は、少なくとも前記第2半導体領域の両端に位置し、前記第4半導体領域に含まれる前記第2導電型の第1不純物の実効濃度は、前記第5半導体領域に含まれる前記第1不純物の実効濃度よりも低い。
【発明の効果】
【0007】
本開示によれば、耐圧を向上できる。
【図面の簡単な説明】
【0008】
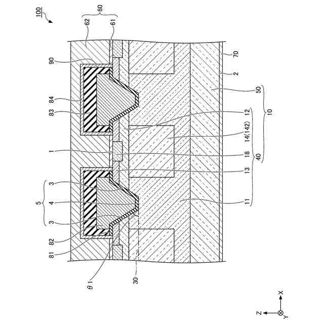
図1は、第1実施形態に係る炭化珪素半導体装置における炭化珪素基板の概要を示す模式図である。
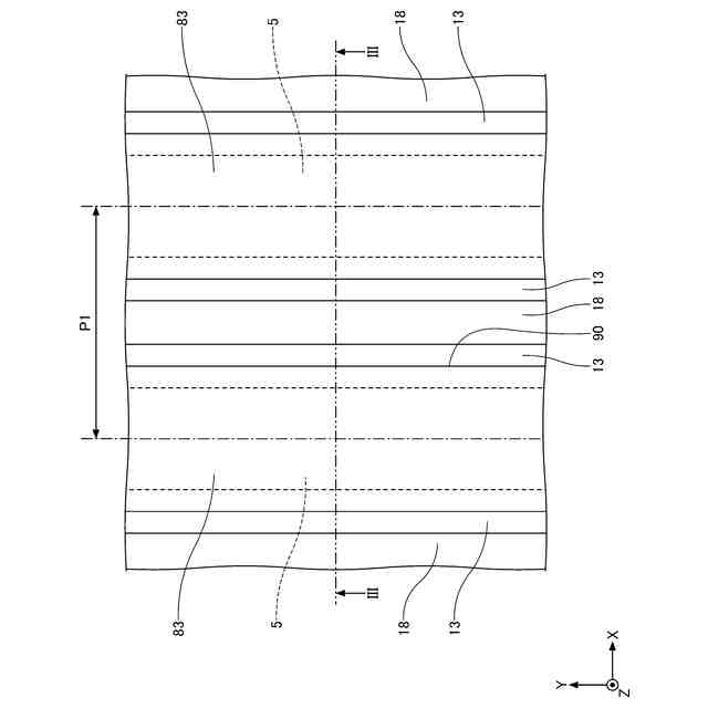
図2は、第1実施形態に係る炭化珪素半導体装置の活性領域における層間絶縁膜および第1主面の構成を示す図である。
図3は、第1実施形態に係る炭化珪素半導体装置の活性領域の構成を示す断面図である。
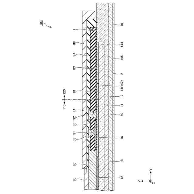
図4は、第1実施形態に係る炭化珪素半導体装置におけるp型領域およびドリフト領域の構成を示す図である。
図5は、第1実施形態に係る炭化珪素半導体装置の活性領域と終端領域との境界の近傍の構成を示す断面図である。
図6は、第1実施形態に係る炭化珪素半導体装置の製造方法を示す断面図(その1)である。
図7は、第1実施形態に係る炭化珪素半導体装置の製造方法を示す断面図(その2)である。
図8は、第1実施形態に係る炭化珪素半導体装置の製造方法を示す断面図(その3)である。
図9は、第1実施形態に係る炭化珪素半導体装置の製造方法を示す断面図(その4)である。
図10は、第1実施形態の変形例に係る炭化珪素半導体装置の活性領域と終端領域との境界の近傍の構成を示す断面図である。
図11は、第2実施形態に係る炭化珪素半導体装置におけるp型領域およびドリフト領域の構成を示す図である。
図12は、第2実施形態の変形例に係る炭化珪素半導体装置におけるp型領域およびドリフト領域の構成を示す図である。
図13は、第2実施形態の変形例に係る炭化珪素半導体装置の活性領域と終端領域との境界の近傍の構成を示す断面図である。
図14は、第3実施形態に係る炭化珪素半導体装置におけるp型領域およびドリフト領域の構成を示す図である。
図15は、第3実施形態に係る炭化珪素半導体装置の活性領域と終端領域との境界の近傍の構成を示す断面図である。
図16は、第4実施形態に係る炭化珪素半導体装置におけるp型領域およびドリフト領域の構成を示す図である。
【発明を実施するための形態】
【0009】
実施するための形態について、以下に説明する。
【0010】
[本開示の実施形態の説明]
最初に本開示の実施態様を列記して説明する。以下の説明では、同一または対応する要素には同一の符号を付し、それらについて同じ説明は繰り返さない。本明細書中の結晶学的記載においては、個別方位を[]、集合方位を<>、個別面を()、集合面を{}でそれぞれ示している。また結晶学上の指数が負であることは、通常、"-"(バー)を数字の上に付すことによって表現されるが、本開示では数字の前に負の符号を付している。また、以下の説明では、XYZ直交座標系を用いるが、当該座標系は、説明のために定めるものであって、炭化珪素半導体装置の姿勢について限定するものではない。また、XY面視を平面視といい、任意の点からみて、+Z方向を上方、上側または上ということがあり、-Z方向を下方、下側または下ということがある。
(【0011】以降は省略されています)
この特許をJ-PlatPat(特許庁公式サイト)で参照する
関連特許
住友電気工業株式会社
受光素子
21日前
住友電気工業株式会社
光検出装置
23日前
住友電気工業株式会社
炭化珪素半導体装置
今日
住友電気工業株式会社
光コネクタおよび接続構造
今日
住友電気工業株式会社
窒化物半導体装置の製造方法
8日前
住友電気工業株式会社
アバランシェフォトダイオード
16日前
住友電気工業株式会社
タンク、およびレドックスフロー電池システム
1日前
住友電気工業株式会社
半導体装置の製造方法および半導体装置の検査方法
今日
住友電気工業株式会社
半導体装置の製造方法および半導体装置の検査方法
今日
住友電気工業株式会社
半導体装置の製造方法および半導体装置の検査方法
今日
住友電気工業株式会社
窒化物半導体装置および窒化物半導体装置の製造方法
今日
住友電気工業株式会社
画像処理装置、画像処理方法及び画像処理プログラム
8日前
住友電気工業株式会社
画像処理装置、画像処理方法及び画像処理プログラム
22日前
住友電気工業株式会社
電力変換システム、制御方法、コンピュータプログラム
8日前
住友電工プリントサーキット株式会社
プリント配線板
1か月前
住友電気工業株式会社
宅側装置、光通信システム、及びサブキャリアの選択方法
1日前
住友電気工業株式会社
絶縁層用樹脂組成物、絶縁電線および絶縁電線の製造方法
22日前
住友電気工業株式会社
プリント配線板用露光装置およびプリント配線板の製造方法
今日
株式会社オートネットワーク技術研究所
電装品
21日前
株式会社オートネットワーク技術研究所
電装品
21日前
株式会社オートネットワーク技術研究所
雌端子
1か月前
株式会社オートネットワーク技術研究所
固定部材
22日前
株式会社オートネットワーク技術研究所
コネクタ
8日前
株式会社オートネットワーク技術研究所
コネクタ
1か月前
住友電気工業株式会社
高電子移動度トランジスタおよび高電子移動度トランジスタの製造方法
8日前
株式会社オートネットワーク技術研究所
端子金具
今日
株式会社オートネットワーク技術研究所
端子金具
今日
株式会社オートネットワーク技術研究所
端子金具
今日
株式会社オートネットワーク技術研究所
端子金具
今日
株式会社オートネットワーク技術研究所
コネクタ
今日
住友電気工業株式会社
マルチコア光ファイバ
8日前
株式会社オートネットワーク技術研究所
電気接続箱
2日前
株式会社オートネットワーク技術研究所
基板用コネクタ
8日前
株式会社オートネットワーク技術研究所
電子部品モジュール
9日前
住友電気工業株式会社
導電部材、燃料電池および電解装置
2日前
株式会社オートネットワーク技術研究所
端子金具、及びコネクタ
1か月前
続きを見る
他の特許を見る