TOP
|
特許
|
意匠
|
商標
特許ウォッチ
Twitter
他の特許を見る
10個以上の画像は省略されています。
公開番号
2025163569
公報種別
公開特許公報(A)
公開日
2025-10-29
出願番号
2024066976
出願日
2024-04-17
発明の名称
雌端子
出願人
株式会社オートネットワーク技術研究所
,
住友電装株式会社
,
住友電気工業株式会社
代理人
弁理士法人笠井中根国際特許事務所
,
個人
,
個人
主分類
H01R
13/18 20060101AFI20251022BHJP(基本的電気素子)
要約
【課題】導通抵抗の低減や放熱性能の向上が可能で、ばね部材の筒状接続部からの離脱を阻止して、雌端子の雄端子への接圧の減少を抑制することができる、雌端子を開示する。
【解決手段】雌端子10が、筒状接続部18と電線接続部24と連結部26とばね部材30とを備え、筒状接続部18は円弧状の第1周壁部60と第2周壁部64とを含み、電線接続部24が第1他端部96と第2他端部98とが重ね合わされて構成され、連結部26が第1壁部102と第2壁部104とを含み、第1他端部96と第2他端部98とが相互に重ね合わされて、第1周壁部60と第2周壁部64が対向配置されることにより筒状接続部18が構成され、ばね部材30により、第1周壁部60と第2周壁部64が相互に接近する方向に付勢されており、第1壁部102と第2壁部104の少なくとも一方が、筒状接続部18の外周面28よりも外方に突出する離脱防止突部110を有している。
【選択図】図10
特許請求の範囲
【請求項1】
雄端子の柱状接続部と導通接続される筒状接続部と、
電線の芯線が接続される電線接続部と、
前記筒状接続部と前記電線接続部とを連結する連結部と、
前記筒状接続部の外周面に装着されたばね部材と、を備え、
前記筒状接続部は、帯状の第1平板金具の一端部を円弧状に湾曲変形して設けられた第1周壁部と、帯状の第2平板金具の一端部を円弧状に湾曲変形して設けられた第2周壁部と、を含み、
前記電線接続部が、前記第1平板金具の他端部である第1他端部と前記第2平板金具の他端部である第2他端部とが重ね合わされて構成され、
前記連結部が、前記第1平板金具の前記第1周壁部と前記第1他端部の間に位置して前記第1周壁部の軸方向に交差する方向に屈曲された第1壁部と、前記第2平板金具の前記第2周壁部と前記第2他端部の間に位置して前記第2周壁部の軸方向に交差する方向に屈曲された第2壁部と、を含み、
前記第1平板金具の前記第1他端部と前記第2平板金具の前記第2他端部とが相互に重ね合わされて、前記第1周壁部と前記第2周壁部が対向配置されることにより、前記筒状接続部が構成され、
前記ばね部材により、前記第1周壁部と前記第2周壁部が対向方向で相互に接近する方向に付勢されており、
前記第1壁部と前記第2壁部の少なくとも一方が、前記筒状接続部の前記外周面よりも外方に突出する、離脱防止突部を有している、
雌端子。
続きを表示(約 1,200 文字)
【請求項2】
前記第1壁部は、前記第1他端部から前記交差する方向に立ち上がる第1基端側連結部と、前記第1基端側連結部よりも小さい幅寸法を有して前記第1基端側連結部の幅方向中央部分から前記第1周壁部に向かって延びて前記第1周壁部の周方向中央部分に連結される第1先端側連結部と、を有し、
前記第1基端側連結部の幅方向両端部分が前記筒状接続部の前記外周面よりも外方に突出して、一対の前記離脱防止突部を構成しており、
前記第2壁部は、前記第2他端部から前記交差する方向に立ち上がる第2基端側連結部と、前記第2基端側連結部よりも小さい幅寸法を有して前記第2基端側連結部の幅方向中央部分から前記第2周壁部に向かって延びて前記第2周壁部の周方向中央部分に連結される第2先端側連結部と、を有し、
前記第2基端側連結部の幅方向両端部分が前記筒状接続部の前記外周面よりも外方に突出して、一対の前記離脱防止突部を構成している、請求項1に記載の雌端子。
【請求項3】
前記第1壁部と前記第2壁部の少なくとも一方には、板厚方向に貫通する窓部が形成されている、請求項1または請求項2に記載の雌端子。
【請求項4】
前記第1平板金具と前記第2平板金具は、前記第1他端部と前記第2他端部が連接部を介して相互に連接された一枚の帯状の金属平板によって構成されており、
前記金属平板の両端部に前記第1平板金具の前記第1周壁部と前記第2平板金具の前記第2周壁部がそれぞれ設けられ、
前記金属平板の前記連接部が板厚方向に屈曲されることで、前記第1平板金具の前記第1他端部と前記第2平板金具の前記第2他端部とが相互に重ね合わされて前記電線接続部が構成され、前記両端部に設けられた前記第1周壁部と前記第2周壁部が相互に対向配置されて前記筒状接続部が構成されている、請求項1または請求項2に記載の雌端子。
【請求項5】
前記ばね部材が、周方向の一か所が切り欠かれた金属製のリング部材を含み、
前記筒状接続部の前記外周面に前記リング部材の内周面が圧接されて装着されている、請求項1または請求項2に記載の雌端子。
【請求項6】
前記リング部材の軸方向寸法が、前記筒状接続部の軸方向寸法の2/3倍以上1.5倍以下である、請求項5に記載の雌端子。
【請求項7】
前記第1周壁部と前記第2周壁部の少なくとも一方の周方向端部に、径方向外方に屈曲された屈曲部が設けられており、前記屈曲部が前記ばね部材の嵌合穴に嵌合されている、請求項1または請求項2に記載の雌端子。
【請求項8】
前記第1周壁部と前記第2周壁部の少なくとも一方には、他方に向かって突出する接近規制突部が設けられており、前記ばね部材により、前記第1周壁部と前記第2周壁部が対向方向で相互に接近する方向に付勢された際に、前記接近規制突部が前記他方に当接している、請求項1または請求項2に記載の雌端子。
発明の詳細な説明
【技術分野】
【0001】
本開示は、雌端子に関するものである。
続きを表示(約 3,100 文字)
【背景技術】
【0002】
特許文献1には、ピン端子等と呼ばれる略円柱状の柱状接続部を有する雄端子と、スリーブ端子等と呼ばれる略円筒状の筒状接続部を有する雌端子との雌雄型端子による電気的な接続構造が開示されている。雌端子の筒状接続部には、複数のC字形状のばね部材が装着されて筒状接続部を径方向内方に付勢しており、雄端子への雌端子の接圧の向上が図られている。
【先行技術文献】
【特許文献】
【0003】
特開2018-22644号公報
【発明の概要】
【発明が解決しようとする課題】
【0004】
しかしながら、特許文献1の構造では、筒状接続部の周方向で一部の領域のみしか、被覆電線の芯線が接続される電線接続部に直接連結されていない。その結果、筒状接続部の周方向の残りの領域では、電線接続部までの導電経路が長くなっており、雌端子の導通抵抗や放熱性能の悪化を招いていた。また、雌端子に対する雄端子の挿抜が繰り返されることで、ばね部材が筒状接続部の軸方向で変位して筒状接続部から離脱することで、雌端子の雄端子への所望の接圧を維持できないおそれもあった。
【0005】
そこで、導通抵抗の低減や放熱性能の向上が可能で、ばね部材の筒状接続部からの離脱を阻止して、雌端子の雄端子への接圧の減少を抑制することができる、雌端子を開示する。
【課題を解決するための手段】
【0006】
本開示の雌端子は、雄端子の柱状接続部と導通接続される筒状接続部と、電線の芯線が接続される電線接続部と、前記筒状接続部と前記電線接続部とを連結する連結部と、前記筒状接続部の外周面に装着されたばね部材と、を備え、前記筒状接続部は、帯状の第1平板金具の一端部を円弧状に湾曲変形して設けられた第1周壁部と、帯状の第2平板金具の一端部を円弧状に湾曲変形して設けられた第2周壁部と、を含み、前記電線接続部が、前記第1平板金具の他端部である第1他端部と前記第2平板金具の他端部である第2他端部とが重ね合わされて構成され、前記連結部が、前記第1平板金具の前記第1周壁部と前記第1他端部の間に位置して前記第1周壁部の軸方向に交差する方向に屈曲された第1壁部と、前記第2平板金具の前記第2周壁部と前記第2他端部の間に位置して前記第2周壁部の軸方向に交差する方向に屈曲された第2壁部と、を含み、前記第1平板金具の前記第1他端部と前記第2平板金具の前記第2他端部とが相互に重ね合わされて、前記第1周壁部と前記第2周壁部が対向配置されることにより、前記筒状接続部が構成され、前記ばね部材により、前記第1周壁部と前記第2周壁部が対向方向で相互に接近する方向に付勢されており、前記第1壁部と前記第2壁部の少なくとも一方が、前記筒状接続部の前記外周面よりも外方に突出する、離脱防止突部を有している、ものである。
【発明の効果】
【0007】
本開示の雌端子によれば、導通抵抗の低減や放熱性能の向上が可能で、ばね部材の筒状接続部からの離脱を阻止して、雌端子の雄端子への接圧の減少を抑制することができる。
【図面の簡単な説明】
【0008】
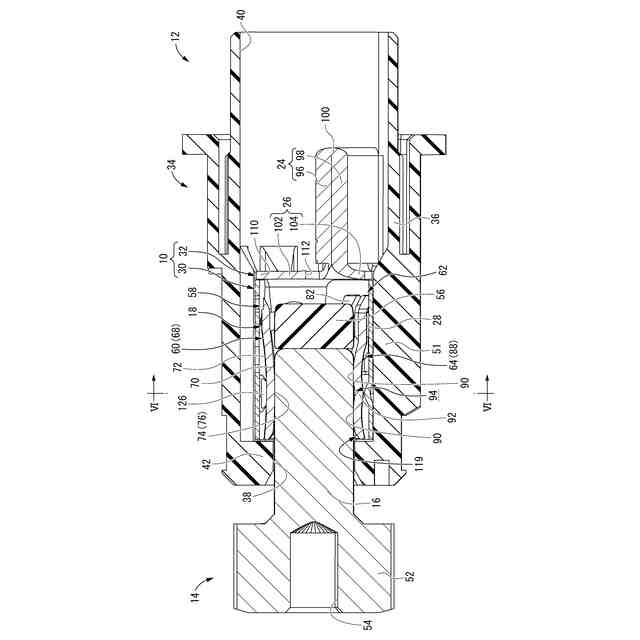
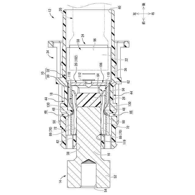
図1は、実施形態1に係る雌端子を含む雌コネクタが雄端子に嵌合した状態を示す斜視図である。
図2は、図1に示された雌コネクタにおける正面図である。
図3は、図2におけるIII-III断面図である。
図4は、図2におけるIV-IV断面図である。
図5は、図1に示された雌コネクタにおける縦断面図であって、図6におけるV-V断面図である。
図6は、図5におけるVI-VI断面図である。
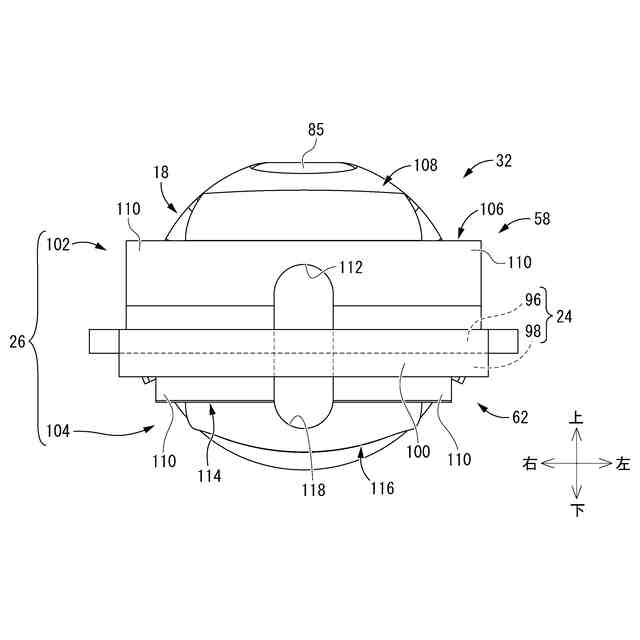
図7は、図1に示された雄端子と雌コネクタの分解斜視図である。
図8は、図1に示された雌端子を構成する雌端子金具を、ばね部材を装着する前の単品状態で示す正面図である。
図9は、図8に示された雌端子金具における背面図である。
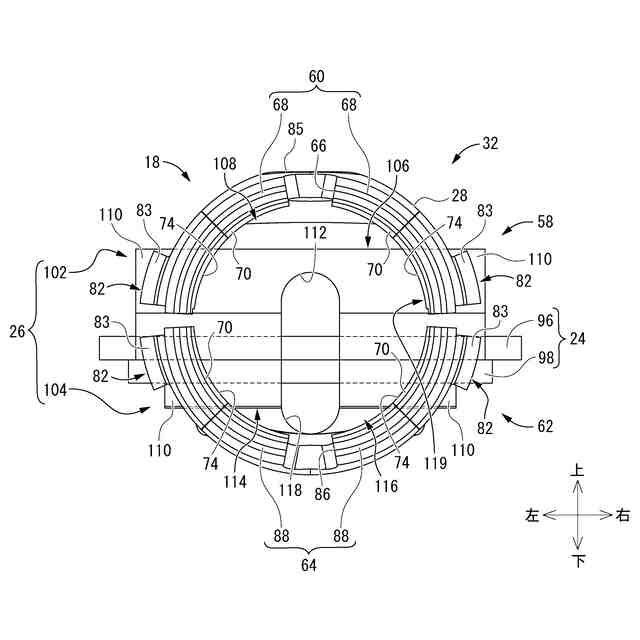
図10は、図1に示された雌コネクタを構成する雌端子を示す斜視図である。
図11は、図10におけるXI-XI断面図である。
図12は、図1に示された雌コネクタを雄端子との嵌合前の状態で示す正面図である。
図13は、図12に示された雌コネクタにおける背面図である。
図14は、実施形態2に係る雌端子を含む雌コネクタを雄端子との嵌合状態で示す横断面図であって、図15におけるXIV-XIV断面図である。
図15は、図14におけるXV-XV断面図である。
図16は、実施形態3に係る雌端子を含む雌コネクタを雄端子との嵌合状態で示す横断面図であって、図17におけるXVI-XVI断面図である。
図17は、図16におけるXVII-XVII断面図である。
図18は、実施形態4に係る雌端子を含む雌コネクタを雄端子との嵌合状態で示す横断面図であって、図19におけるXVIII-XVIII断面図である。
図19は、図18におけるXIX-XIX断面図である。
【発明を実施するための形態】
【0009】
<本開示の実施形態の説明>
最初に、本開示の実施態様を列記して説明する。
本開示の雌端子は、
(1)雄端子の柱状接続部と導通接続される筒状接続部と、電線の芯線が接続される電線接続部と、前記筒状接続部と前記電線接続部とを連結する連結部と、前記筒状接続部の外周面に装着されたばね部材と、を備え、前記筒状接続部は、帯状の第1平板金具の一端部を円弧状に湾曲変形して設けられた第1周壁部と、帯状の第2平板金具の一端部を円弧状に湾曲変形して設けられた第2周壁部と、を含み、前記電線接続部が、前記第1平板金具の他端部である第1他端部と前記第2平板金具の他端部である第2他端部とが重ね合わされて構成され、前記連結部が、前記第1平板金具の前記第1周壁部と前記第1他端部の間に位置して前記第1周壁部の軸方向に交差する方向に屈曲された第1壁部と、前記第2平板金具の前記第2周壁部と前記第2他端部の間に位置して前記第2周壁部の軸方向に交差する方向に屈曲された第2壁部と、を含み、前記第1平板金具の前記第1他端部と前記第2平板金具の前記第2他端部とが相互に重ね合わされて、前記第1周壁部と前記第2周壁部が対向配置されることにより、前記筒状接続部が構成され、前記ばね部材により、前記第1周壁部と前記第2周壁部が対向方向で相互に接近する方向に付勢されており、前記第1壁部と前記第2壁部の少なくとも一方が、前記筒状接続部の前記外周面よりも外方に突出する、離脱防止突部を有している、ものである。
【0010】
本開示の雌端子によれば、帯状の金属平板の一端部を円弧状に湾曲変形して設けた第1周壁部と第2周壁部を相互に対向配置させることで筒状接続部が構成されている。さらに、一端部に第1周壁部が設けられた第1平板金具の第1他端部と、一端部に第2周壁部が設けられた第2平板金具の第2他端部とが、相互に重ね合わされて電線接続部が構成されている。それゆえ、筒状接続部を構成する第1周壁部と第2周壁部の全体が電線接続部に直接連接されており、特許文献1に記載の従来構造のように、筒状接続部の一部の領域のみ電線接続部に接続された場合に比して、雌端子の導通抵抗の低減や放熱性能の向上を図ることができる。
(【0011】以降は省略されています)
この特許をJ-PlatPat(特許庁公式サイト)で参照する
関連特許
APB株式会社
蓄電セル
5日前
東ソー株式会社
絶縁電線
7日前
日本発條株式会社
積層体
1か月前
個人
フレキシブル電気化学素子
19日前
ローム株式会社
半導体装置
21日前
ローム株式会社
半導体装置
28日前
ローム株式会社
半導体装置
6日前
株式会社ユーシン
操作装置
19日前
日新イオン機器株式会社
イオン源
15日前
ローム株式会社
半導体装置
26日前
ローム株式会社
半導体装置
28日前
ローム株式会社
半導体装置
28日前
個人
防雪防塵カバー
1か月前
太陽誘電株式会社
コイル部品
19日前
株式会社GSユアサ
蓄電装置
今日
株式会社GSユアサ
蓄電装置
今日
株式会社GSユアサ
蓄電装置
1か月前
株式会社GSユアサ
蓄電装置
26日前
オムロン株式会社
電磁継電器
20日前
株式会社ホロン
冷陰極電子源
26日前
太陽誘電株式会社
全固体電池
26日前
株式会社GSユアサ
蓄電設備
19日前
株式会社ホロン
冷陰極電子源
13日前
株式会社GSユアサ
蓄電設備
19日前
個人
半導体パッケージ用ガラス基板
29日前
北道電設株式会社
配電具カバー
5日前
TDK株式会社
電子部品
26日前
日本特殊陶業株式会社
保持装置
28日前
トヨタ自動車株式会社
二次電池
1か月前
ノリタケ株式会社
熱伝導シート
19日前
トヨタ自動車株式会社
蓄電装置
19日前
日新イオン機器株式会社
基板処理装置
2日前
トヨタ自動車株式会社
冷却構造
7日前
ローム株式会社
電子装置
1か月前
サクサ株式会社
電池の固定構造
19日前
日本特殊陶業株式会社
保持装置
26日前
続きを見る
他の特許を見る