TOP
|
特許
|
意匠
|
商標
特許ウォッチ
Twitter
他の特許を見る
10個以上の画像は省略されています。
公開番号
2025169748
公報種別
公開特許公報(A)
公開日
2025-11-14
出願番号
2024074797
出願日
2024-05-02
発明の名称
コネクタシステム及びコネクタ
出願人
I-PEX株式会社
代理人
個人
,
個人
,
個人
主分類
H01R
13/631 20060101AFI20251107BHJP(基本的電気素子)
要約
【課題】嵌合の容易さと、小型化との両立に有効なコネクタシステムを提供する。
【解決手段】コネクタシステム1は、コネクタ100及び相手コネクタ200を備え、コネクタ100は、配列方向D2に並ぶ導電性の複数のコンタクト110と、複数のコンタクト110を保持する絶縁性のハウジング140と、を有し、複数のコンタクト110は、配列方向D2の両端部にそれぞれ位置する一対のコンタクト110A,110Bを含み、一対のコンタクト110A,110Bは、配列方向D2においてハウジング140から互いに逆向きに露出した一対のガイド面GS1,GS2をそれぞれ有し、相手コネクタ200は、複数のコンタクト110にそれぞれ接触する導電性の複数の相手コンタクト240,250と、一対のガイド面GS1,GS2にそれぞれ接触して配列方向D2へのコネクタ100の変位を規制する一対の相手ガイド面GS11,GS12と、を有する。
【選択図】図2
特許請求の範囲
【請求項1】
嵌合方向に沿って互いに嵌合するコネクタ及び相手コネクタを備え、
前記コネクタは、
前記嵌合方向に垂直な配列方向に並ぶ導電性の複数のコンタクトと、
前記複数のコンタクトを保持する絶縁性のハウジングと、
を有し、
前記複数のコンタクトは、前記配列方向の両端部にそれぞれ位置する一対のコンタクトを含み、
前記一対のコンタクトは、前記配列方向において前記ハウジングから互いに逆向きに露出した一対のガイド面をそれぞれ有し、
前記相手コネクタは、
前記複数のコンタクトにそれぞれ接触する導電性の複数の相手コンタクトと、
前記一対のガイド面にそれぞれ接触して前記配列方向への前記コネクタの変位を規制する一対の相手ガイド面と、
を有する、コネクタシステム。
続きを表示(約 1,200 文字)
【請求項2】
前記ハウジングは、前記配列方向において前記複数のコンタクトを挟む一対の側壁部を有し、
前記一対のコンタクトは、前記配列方向に沿って前記一対の側壁部の外面までそれぞれ突出した一対の凸部を有し、
前記一対のガイド面は前記一対の凸部にそれぞれ形成されている、
請求項1記載のコネクタシステム。
【請求項3】
前記一対のコンタクトは、前記嵌合方向に沿って前記相手コネクタに向かう一対の先端を有し、
前記嵌合方向において、前記一対の凸部は、前記一対の側壁部と前記一対の先端との間にそれぞれ位置している、
請求項2記載のコネクタシステム。
【請求項4】
前記複数のコンタクトのそれぞれは、前記嵌合方向及び前記配列方向に垂直な直交方向において、互いに逆向きに前記ハウジングから露出する第1接触面及び第2接触面を有し、
前記複数の相手コンタクトのそれぞれは、
前記第1接触面に接触する第1接触部と、
前記第2接触面に接触する第2接触部と、
を有する、
請求項2記載のコネクタシステム。
【請求項5】
前記ハウジングは、前記直交方向における一方から前記複数のコンタクトを支持するコンタクト支持部を更に有し、
前記複数のコンタクトのそれぞれは、前記直交方向に沿って前記コンタクト支持部の外面まで突出した第2凸部を有し、
前記第2接触面は前記第2凸部に形成されている、
請求項4記載のコネクタシステム。
【請求項6】
前記複数のコンタクトのそれぞれは、前記配列方向及び前記嵌合方向に沿った板材により形成されており、
前記第2凸部は、前記板材を折り返して部分的に重ねることで形成されている、
請求項5記載のコネクタシステム。
【請求項7】
前記複数のコンタクトのそれぞれは、前記嵌合方向に沿って前記相手コネクタに向かう先端を有し、
前記第2凸部は、前記先端において前記配列方向まわりに前記板材を折り返すことで形成されている、
請求項6記載のコネクタシステム。
【請求項8】
前記一対の凸部のそれぞれは、前記第2凸部を形成するように重なった前記板材のそれぞれに形成されている、
請求項6記載のコネクタシステム。
【請求項9】
前記相手コネクタは、前記複数の相手コンタクトを保持する絶縁性の相手ハウジングを更に有し、
前記相手ハウジングが前記一対の相手ガイド面を有する、
請求項1~3のいずれか一項記載のコネクタシステム。
【請求項10】
前記相手ハウジングは、前記嵌合方向に沿って前記ハウジングを受け入れる凹部を有し、
前記一対の相手ガイド面は、前記凹部の内面に形成されている、
請求項9記載のコネクタシステム。
(【請求項11】以降は省略されています)
発明の詳細な説明
【技術分野】
【0001】
本開示は、コネクタシステム及びコネクタに関する。
続きを表示(約 2,100 文字)
【背景技術】
【0002】
特許文献1には、フレキシブルプリント配線板を載置して挿入口へのフレキシブルプリント配線板の挿入を案内するガイド部と、レバーがコンタクトを押圧しない位置において、挿入口に挿入したフレキシブルプリント配線板を仮保持しフレキシブルプリント配線板が挿入口から抜けることを抑制する保持金具とを備え、ガイド部が保持金具に設けられているコネクタが開示されている。
【先行技術文献】
【特許文献】
【0003】
特開2013-045617号公報
【発明の概要】
【発明が解決しようとする課題】
【0004】
本開示は、嵌合の容易さと、小型化との両立に有効なコネクタシステムを提供する。
【課題を解決するための手段】
【0005】
本開示の一側面に係るコネクタシステムは、嵌合方向に沿って互いに嵌合するコネクタ及び相手コネクタを備え、コネクタは、嵌合方向に垂直な配列方向に並ぶ導電性の複数のコンタクトと、複数のコンタクトを保持する絶縁性のハウジングと、を有し、複数のコンタクトは、配列方向の両端部にそれぞれ位置する一対のコンタクトを含み、一対のコンタクトは、配列方向においてハウジングから互いに逆向きに露出した一対のガイド面をそれぞれ有し、相手コネクタは、複数のコンタクトにそれぞれ接触する導電性の複数の相手コンタクトと、一対のガイド面にそれぞれ接触して配列方向へのコネクタの変位を規制する一対の相手ガイド面と、を有する。
【0006】
本開示の他の側面に係るコネクタは、嵌合方向に沿って相手コネクタと嵌合するコネクタであって、嵌合方向に垂直な配列方向に並ぶ導電性の複数のコンタクトと、複数のコンタクトを保持する絶縁性のハウジングと、を備え、複数のコンタクトは、配列方向の両端部にそれぞれ位置する一対のコンタクトを含み、一対のコンタクトは、配列方向においてハウジングから互いに逆向きに露出した一対のガイド面をそれぞれ有し、相手コネクタは、複数のコンタクトにそれぞれ接触する導電性の複数の相手コンタクトと、一対のガイド面にそれぞれ接触して配列方向へのコネクタの変位を規制する一対の相手ガイド面と、を有する。
【0007】
本開示の更に他の側面に係るコネクタは、嵌合方向に沿って相手コネクタと嵌合するコネクタであって、相手コネクタは、嵌合方向に垂直な配列方向に並ぶ導電性の複数の相手コンタクトと、複数の相手コンタクトを保持する絶縁性の相手ハウジングと、を備え、複数の相手コンタクトは、配列方向の両端部にそれぞれ位置する一対の相手コンタクトを含み、一対の相手コンタクトは、配列方向において相手ハウジングから互いに逆向きに露出した一対の相手ガイド面をそれぞれ有し、コネクタは、複数の相手コンタクトにそれぞれ接触する導電性の複数のコンタクトと、一対の相手ガイド面にそれぞれ接触して配列方向への相手コネクタの変位を規制する一対のガイド面と、を備える。
【発明の効果】
【0008】
本開示によれば、嵌合の容易さと、小型化との両立に有効なコネクタシステムを提供することができる。
【図面の簡単な説明】
【0009】
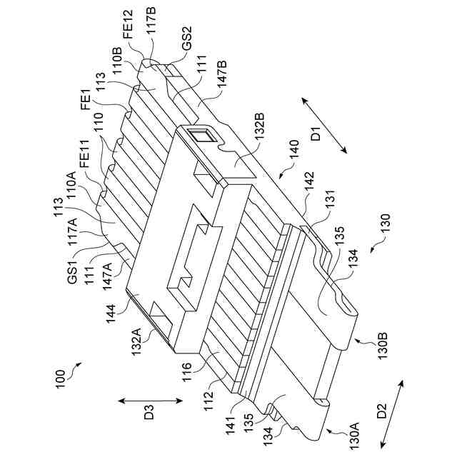
コネクタシステムを例示する斜視図である。
プラグコネクタとリセプタクルコネクタとの嵌合過程におけるコネクタシステムを例示する断面図である。
複数本のケーブルの構成を例示する断面図である。
プラグコネクタの複数のコンタクトを例示する斜視図である。
プラグコネクタの一対のコンタクトを例示する斜視図である。
プラグコネクタのシェルを例示する斜視図である。
シェル内に複数のコンタクトが配置された状態を例示する斜視図である。
ハウジング形成後のプラグコネクタを例示する斜視図である。
ハウジング形成後のプラグコネクタを例示する斜視図である。
プラグコネクタに複数本のケーブルを接続する過程を例示する斜視図である。
外部導体がシェルに接続された部分を例示する断面図である。
リセプタクルコネクタの構成を例示する分解斜視図である。
リセプタクルコネクタのハウジングを例示する斜視図である。
リセプタクルコネクタのハウジングの内部を例示する断面図である。
リセプタクルコネクタのコンタクトを例示する側面図である。
リセプタクルコネクタのコンタクトを例示する側面図である。
リセプタクルコネクタのシェルを例示する斜視図である。
【発明を実施するための形態】
【0010】
以下、実施形態について、図面を参照しつつ詳細に説明する。説明において、同一要素又は同一機能を有する要素には同一の符号を付し、重複する説明を省略する。
(【0011】以降は省略されています)
この特許をJ-PlatPat(特許庁公式サイト)で参照する
関連特許
I-PEX株式会社
電気コネクタ
27日前
I-PEX株式会社
コネクタシステム及びコネクタ
6日前
I-PEX株式会社
情報処理装置、樹脂封止装置、情報処理方法、および情報処理プログラム
1か月前
東ソー株式会社
絶縁電線
29日前
APB株式会社
蓄電セル
27日前
個人
フレキシブル電気化学素子
1か月前
株式会社ユーシン
操作装置
1か月前
ローム株式会社
半導体装置
1か月前
マクセル株式会社
電源装置
21日前
ローム株式会社
半導体装置
28日前
株式会社東芝
端子台
21日前
ローム株式会社
半導体装置
1か月前
日新イオン機器株式会社
イオン源
1か月前
富士電機株式会社
電磁接触器
今日
株式会社ホロン
冷陰極電子源
1か月前
株式会社GSユアサ
蓄電装置
22日前
株式会社GSユアサ
蓄電装置
22日前
オムロン株式会社
電磁継電器
1か月前
三菱電機株式会社
回路遮断器
8日前
株式会社GSユアサ
蓄電装置
今日
株式会社GSユアサ
蓄電装置
14日前
太陽誘電株式会社
コイル部品
1か月前
株式会社GSユアサ
蓄電設備
1か月前
株式会社GSユアサ
蓄電設備
1か月前
ノリタケ株式会社
熱伝導シート
1か月前
日新イオン機器株式会社
基板処理装置
24日前
トヨタ自動車株式会社
バッテリ
27日前
北道電設株式会社
配電具カバー
27日前
日本特殊陶業株式会社
保持装置
1か月前
トヨタ自動車株式会社
蓄電装置
22日前
日東電工株式会社
積層体
1か月前
日本特殊陶業株式会社
保持装置
13日前
トヨタ自動車株式会社
冷却構造
29日前
TDK株式会社
電子部品
1か月前
トヨタ自動車株式会社
蓄電装置
1か月前
サクサ株式会社
電池の固定構造
1か月前
続きを見る
他の特許を見る