TOP
|
特許
|
意匠
|
商標
特許ウォッチ
Twitter
他の特許を見る
10個以上の画像は省略されています。
公開番号
2025139398
公報種別
公開特許公報(A)
公開日
2025-09-26
出願番号
2024038314
出願日
2024-03-12
発明の名称
情報処理装置、樹脂封止装置、情報処理方法、および情報処理プログラム
出願人
I-PEX株式会社
代理人
弁理士法人酒井国際特許事務所
主分類
B29C
45/02 20060101AFI20250918BHJP(プラスチックの加工;可塑状態の物質の加工一般)
要約
【課題】種別が異なる複数の被成形品の樹脂封止を一回の成形動作で同時期に行うことができる樹脂封止装置の移動機構部に加える荷重を算出すること。
【解決手段】実施形態の一態様に係る情報処理装置は、取得部と、算出部とを備える。取得部は、複数のキャビティのうち互いに異なるキャビティで、一回の成形動作で同時期に樹脂封止される複数の被成形品の各々の種別を示す情報を取得する。算出部は、取得部によって取得された複数の被成形品の各々の種別を示す情報に基づいて、複数のキャビティに樹脂部材を押し入れる複数のプランジャを、互いに異なるスプリングを介して移動させる移動機構部に加える荷重を算出する。算出部は、複数の被成形品のうちの選択された基準の被成形品と残りの被成形品との体積差を残りの被成形品毎に算出する体積差算出部と、算出された体積差に基づいて、移動機構部に加える荷重を算出する荷重算出部とを備える。
【選択図】図4
特許請求の範囲
【請求項1】
複数のキャビティのうち互いに異なるキャビティで、一回の成形動作で同時期に樹脂封止される複数の被成形品の各々の種別を示す情報を取得する取得部と、
前記取得部によって取得された前記複数の被成形品の各々の種別を示す情報に基づいて、前記複数のキャビティに樹脂部材を押し入れる複数のプランジャを、互いに異なるスプリングを介して移動させる移動機構部に加える荷重を算出する算出部と、を備え、
前記算出部は、
前記複数の被成形品のうちの選択された基準の被成形品と残りの被成形品との体積差を前記残りの被成形品毎に算出する体積差算出部と、
前記体積差算出部によって算出された前記体積差に基づいて、前記複数のキャビティの各々に加わる成形圧力のすべてが予め定められた範囲の成形圧力になるように、前記移動機構部に加える前記荷重を算出する荷重算出部と、を備える
ことを特徴とする情報処理装置。
続きを表示(約 1,300 文字)
【請求項2】
前記荷重算出部は、
前記体積差算出部によって算出された前記体積差に基づいて、前記複数のキャビティの各々に加わる成形圧力のすべてが予め定められた範囲の成形圧力になるように、前記複数のキャビティの各々に加える成形圧力または荷重を算出する第1算出処理部と、
前記第1算出処理部によって算出された前記複数のキャビティの各々に加える成形圧力または荷重に基づいて、前記移動機構部に加える前記荷重を算出する第2算出処理部と、を備える
ことを特徴とする請求項1に記載の情報処理装置。
【請求項3】
前記第1算出処理部は、
前記基準の被成形品が配置されたキャビティに加わる圧力が予め設定された成形圧力になるように前記複数のキャビティの各々に加える成形圧力を算出する
ことを特徴とする請求項2に記載の情報処理装置。
【請求項4】
前記算出部は、
前記複数の被成形品のうちの予め定められた条件を満たす被成形品を前記基準の被成形品として選択する選択部を備える
ことを特徴とする請求項1~3のいずれか1つに記載の情報処理装置。
【請求項5】
前記選択部は、
前記複数の被成形品のうちの最も体積の小さい被成形品を選択する
ことを特徴とする請求項4に記載の情報処理装置。
【請求項6】
前記選択部は、
前記複数の被成形品のうちの最も体積の大きい被成形品を選択する
ことを特徴とする請求項4に記載の情報処理装置。
【請求項7】
前記算出部は、
前記取得部によって情報が取得された前記複数の被成形品の種別の組み合わせが前記算出部で前記荷重を算出したときの前記複数の被成形品の種別の組み合わせと異なる場合に、前記荷重の算出を行う
ことを特徴とする請求項1~3のいずれか1つに記載の情報処理装置。
【請求項8】
前記複数の被成形品に付与されたコードの情報を読み込むコード読込部と、
前記コード読込部によって読み込まれた前記コードの情報に基づいて、前記複数の被成形品の各々の種別を判定する判定部と、を備え、
前記取得部は、
前記判定部によって判定された前記複数の被成形品の各々の種別を示す情報を取得する ことを特徴とする請求項1~3のいずれか1つに記載の情報処理装置。
【請求項9】
前記複数の被成形品を撮像する撮像部を備え、
前記判定部は、
前記複数の被成形品のうちの1以上の被成形品の前記コードの情報が前記コード読込部によって読み込めない場合に、前記撮像部による撮像結果に基づいて、前記1以上の被成形品の種別を判定する
ことを特徴とする請求項8に記載の情報処理装置。
【請求項10】
前記複数の被成形品を一回の成形動作で同時期に樹脂封止する樹脂封止装置であって、
請求項1~3のいずれか1つに記載の情報処理装置と、
前記移動機構部と、を備える
ことを特徴とする樹脂封止装置。
(【請求項11】以降は省略されています)
発明の詳細な説明
【技術分野】
【0001】
開示の実施形態は、情報処理装置、樹脂封止装置、情報処理方法、および情報処理プログラムに関する。
続きを表示(約 2,000 文字)
【背景技術】
【0002】
従来、互いに異なるキャビティに互いに異なる樹脂流路を介して接続された複数のポットを有し、各ポットに供給された樹脂部材を互いに異なるプランジャで同時に移動させて樹脂部材をキャビティへ押し出して基材に載置された半導体素子などの被成形品を樹脂封止する樹脂封止装置が知られている。
【0003】
この種の樹脂封止装置に関し、例えば、特許文献1には、ポット内に供給された樹脂タブレットをキャビティへと押し出す複数のプランジャの各々を互いに異なるスプリングを介して移動機構部により同時に押圧駆動することで、キャビティに樹脂部材を供給する際の注入圧力を一定圧力に保持する技術が開示されている。
【先行技術文献】
【特許文献】
【0004】
実開平1-146919号公報
【発明の概要】
【発明が解決しようとする課題】
【0005】
しかしながら、特許文献1に記載の樹脂封止装置では、例えば、パワーカードなどのように体積の大きい被成形品であって互いに種別が異なる複数の被成形品の樹脂封止を同時期に行おうとすると、複数のキャビティのうち一部のキャビティへの成形圧力(樹脂部材の注入圧力)が許容範囲を満たさないことがある。この場合、特許文献1に記載の樹脂封止装置では、複数の被成形品を一回の成形動作で適切に樹脂封止して成形することができない。
【0006】
実施形態の一態様は、上記に鑑みてなされたものであって、種別が異なる複数の被成形品の樹脂封止を一回の成形動作で同時期に行うことができる樹脂封止装置の移動機構部に加える荷重を算出することができる情報処理装置、樹脂封止装置、情報処理方法、および情報処理プログラムを提供することを目的とする。
【課題を解決するための手段】
【0007】
実施形態の一態様に係る情報処理装置は、取得部と、算出部とを備える。取得部は、複数のキャビティのうち互いに異なるキャビティで、一回の成形動作で同時期に樹脂封止される複数の被成形品の各々の種別を示す情報を取得する。算出部は、取得部によって取得された複数の被成形品の各々の種別を示す情報に基づいて、複数のキャビティに樹脂部材を押し入れる複数のプランジャを、互いに異なるスプリングを介して移動させる移動機構部に加える荷重を算出する。算出部は、複数の被成形品のうちの選択された基準の被成形品と残りの被成形品との体積差を残りの被成形品毎に算出する体積差算出部と、体積差算出部によって算出された体積差に基づいて、複数のキャビティの各々に加わる成形圧力のすべてが予め定められた範囲の成形圧力になるように、移動機構部に加える荷重を算出する荷重算出部とを備える。
【発明の効果】
【0008】
実施形態の一態様によれば、種別が異なる複数の被成形品の樹脂封止を一回の成形動作で同時期に行うことができる樹脂封止装置の移動機構部に加える荷重を算出することができる。
【図面の簡単な説明】
【0009】
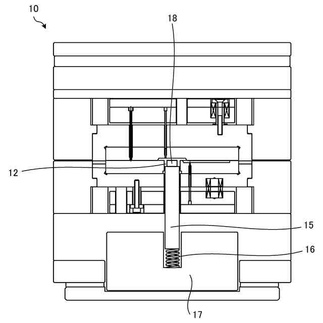
図1は、実施形態に係る樹脂封止装置の構成の一例を示す図である。
図2は、実施形態に係る樹脂封止装置における本体部の図である。
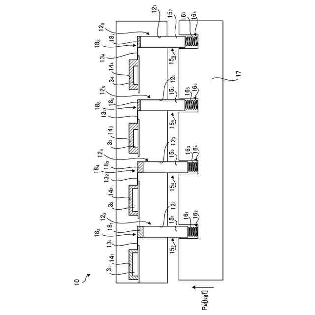
図3は、実施形態に係る樹脂封止装置で同時期に樹脂封止する場合に移動機構部によって複数のプランジャに加えられる荷重を説明するための図である。
図4は、実施形態に係る樹脂封止装置における情報処理装置を含む一部の構成の一例を示す図である。
図5は、実施形態に係る情報処理装置における記憶部に記憶される体積情報の一例を示す図である。
図6は、実施形態に係る情報処理装置における記憶部に記憶される本体部情報の一例を示す図である。
図7は、実施形態に係る情報処理装置の処理部における算出部の構成の一例を示す図である。
図8は、実施形態に係る情報処理装置の処理部における荷重の算出方法の一例を説明するための図である。
図9は、実施形態に係る情報処理装置の処理部における荷重の算出方法の他の例を説明するための図である。
図10は、実施形態に係る情報処理装置の制御部による情報処理の一例を示すフローチャートである。
図11は、実施形態に係る樹脂封止装置の情報処理装置における処理部のハードウェアの構成例を示す図である。
【発明を実施するための形態】
【0010】
以下、添付図面を参照して、本願の開示する情報処理装置、樹脂封止装置、情報処理方法、および情報処理プログラムの実施形態を詳細に説明する。なお、以下に示す実施形態によりこの発明が限定されるものではない。
(【0011】以降は省略されています)
この特許をJ-PlatPat(特許庁公式サイト)で参照する
関連特許
I-PEX株式会社
情報処理装置、樹脂封止装置、情報処理方法、および情報処理プログラム
4日前
個人
気泡緩衝材減容装置
6日前
東レ株式会社
吹出しノズル
10か月前
豊田鉄工株式会社
金型
2か月前
シーメット株式会社
光造形装置
9か月前
CKD株式会社
型用台車
9か月前
グンゼ株式会社
ピン
9か月前
東レ株式会社
フィルムの製造方法
2か月前
株式会社日本製鋼所
押出機
12か月前
東レ株式会社
フィルムの製造方法
2か月前
個人
射出ミキシングノズル
11か月前
東レ株式会社
フィルムの製造方法
6か月前
個人
樹脂可塑化方法及び装置
8か月前
株式会社カワタ
計量混合装置
4か月前
株式会社FTS
ロッド
8か月前
東レ株式会社
フィルムの製造方法。
2か月前
日機装株式会社
加圧システム
5か月前
株式会社シロハチ
真空チャンバ
11か月前
トヨタ自動車株式会社
射出装置
6か月前
株式会社FTS
成形装置
9か月前
東レ株式会社
樹脂フィルムの製造方法
4か月前
株式会社漆原
シートの成形方法
4か月前
NOK株式会社
樹脂ゴム複合体
27日前
株式会社不二越
射出成形機
1か月前
株式会社FTS
セパレータ
8か月前
株式会社不二越
射出成形機
6か月前
株式会社コスメック
射出成形装置
4か月前
株式会社不二越
射出成形機
5か月前
株式会社不二越
射出成形機
5か月前
株式会社不二越
射出成形機
4か月前
株式会社リコー
画像形成システム
9か月前
株式会社神戸製鋼所
混練機
7か月前
東レ株式会社
炭素繊維シートの製造方法
5か月前
個人
ノズルおよび熱風溶接機
8か月前
トヨタ自動車株式会社
3Dプリンタ
9か月前
トヨタ自動車株式会社
真空成形装置
5か月前
続きを見る
他の特許を見る