TOP
|
特許
|
意匠
|
商標
特許ウォッチ
Twitter
他の特許を見る
公開番号
2025069678
公報種別
公開特許公報(A)
公開日
2025-05-01
出願番号
2023179557
出願日
2023-10-18
発明の名称
真空成形装置
出願人
トヨタ自動車株式会社
代理人
個人
主分類
B29C
51/10 20060101AFI20250423BHJP(プラスチックの加工;可塑状態の物質の加工一般)
要約
【課題】樹脂シートのシワの発生を抑制する。
【解決手段】外枠部12は、第1の外枠21と、第2の外枠22と、第1の外枠21と第2の外枠22がそれぞれ駆動して型11に当接する際に、第1の外枠21と第2の外枠22の回転中心となる回転中心部23と、を備え、第1の外枠21および前記第2の外枠22は、樹脂シート2が当接する保持部211,221と、保持部211,221の回転中心部側の端部211b,221aにおいて、型11側に突出する突出部212,222と、を有し、回転中心部23は、第1の外枠21および第2の外枠22の夫々の保持部211,221より、型11側に配されており、第1の外枠21および第2の外枠22に設けられた夫々の突出部212,222は、回転中心部23に当接して配されているとともに、突出部212,222が回転中心部23周りに沿って動くことに応じて外枠部12が折れ曲がる。
【選択図】図1
特許請求の範囲
【請求項1】
樹脂シートを拘束する外枠部を型に当接させて折り曲げ成形する真空成形装置であって、
前記外枠部は、
第1の外枠と、
第2の外枠と、
前記第1の外枠と前記第2の外枠がそれぞれ駆動して前記型に当接し、前記外枠部が折れ曲がる状態になる際に、前記第1の外枠と前記第2の外枠の回転中心となる回転中心部と、を備え、
前記第1の外枠および前記第2の外枠は、
前記樹脂シートが当接する保持部と、
前記保持部の前記回転中心部側の端部において、前記型側に突出する突出部と、を有し、
前記回転中心部は、前記第1の外枠および前記第2の外枠の夫々の保持部より、前記型側に配されており、
前記第1の外枠および前記第2の外枠に設けられた夫々の前記突出部は、
前記回転中心部に当接して配されているとともに、夫々の前記突出部が前記回転中心部周りに沿って動くことに応じて、前記外枠部が折れ曲がる、
真空成形装置。
発明の詳細な説明
【技術分野】
【0001】
本開示は、真空成形装置に関する。
続きを表示(約 1,500 文字)
【背景技術】
【0002】
近年、非強化熱可塑性樹脂シートを拘束する枠ごと変形させて、折り曲げて成形する真空成形が行われている。例えば、特許文献1に示すように、シートを表面に積層一体化した成形品が二次元方向に大きく折れ曲がった様な形状となるように成形が行われることがある。
【先行技術文献】
【特許文献】
【0003】
特開2004-322501号公報
【発明の概要】
【発明が解決しようとする課題】
【0004】
略平面の樹脂シートを凸形状の型に密着させて樹脂シートを折り曲げる工程において、折り曲げる支点近傍で樹脂シートに余肉が発生して、シワになる場合がある。特に、樹脂シートが厚板であり、折り曲げたときに支点に肉が余ると、支点付近の引張り力が弱いことからシワが発生しやすいという問題がある。
【0005】
本開示は、真空成形を行う際に、樹脂シートを折り曲げ箇所の付近のシワの発生を抑制する真空成形装置を提供するものである。
【課題を解決するための手段】
【0006】
本開示にかかる真空成形装置は、樹脂シートを拘束する外枠部を型に当接させて折り曲げ成形する真空成形装置であって、前記外枠部は、第1の外枠と、第2の外枠と、前記第1の外枠と前記第2の外枠がそれぞれ駆動して前記型に当接し、前記外枠部が折れ曲がる状態になる際に、前記第1の外枠と前記第2の外枠の回転中心となる回転中心部と、を備え、前記第1の外枠および前記第2の外枠は、前記樹脂シートが当接する保持部と、前記保持部の前記回転中心部側の端部において、前記型側に突出する突出部と、を有し、前記回転中心部は、前記第1の外枠および前記第2の外枠の夫々の保持部より、前記型側に配されており、前記第1の外枠および前記第2の外枠に設けられた夫々の前記突出部は、前記回転中心部に当接して配されているとともに、夫々の前記突出部が前記回転中心部周りに沿って動くことに応じて、前記外枠部が折れ曲がる。
これにより、樹脂シートを折り曲げる箇所の付近に引っ張り力を与えることができる。
【発明の効果】
【0007】
本開示よれば、真空成形を行う際に、樹脂シートを折り曲げ箇所の付近のシワの発生を抑制することができる真空成形装置を提供することができる。
【図面の簡単な説明】
【0008】
実施の形態1にかかる真空成形装置の構成を示す図である。
実施の形態1にかかる真空成形装置の拡大図である。
実施の形態1にかかる真空成形の工程および樹脂シートの状態を示した図である。
【発明を実施するための形態】
【0009】
実施の形態1
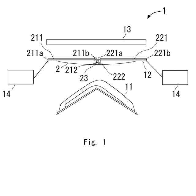
以下、図面を参照して本実施の形態に係る樹脂シートの真空成形装置について説明する。真空成形装置1は、真空成形装置1に配された樹脂シート2の真空成形を行う装置である。図1に示すように、真空成形装置1は、型11と、外枠部12と、加熱装置13と、外枠移動装置14と、を備える。なお、樹脂シート2は、熱可塑性樹脂シートであり、ポリカーボネートを含む。
【0010】
以下では説明を簡単にするため、図1に示しているように、型11が下方、加熱装置13が上方に配されており、型11と加熱装置13との間に、外枠部12と、外枠部12に保持された樹脂シート2が配される。また図2は、図1に示した外枠部12が型11に当接して屈折した状態の拡大図であり、加熱装置13と外枠移動装置14の表示を省略している。
(【0011】以降は省略されています)
この特許をJ-PlatPat(特許庁公式サイト)で参照する
関連特許
個人
気泡緩衝材減容装置
2か月前
豊田鉄工株式会社
金型
4か月前
東レ株式会社
フィルムの製造方法
4か月前
株式会社 型善
射出成形型
10日前
東レ株式会社
フィルムの製造方法
4か月前
東レ株式会社
フィルムの製造方法
8か月前
日機装株式会社
加圧システム
7か月前
株式会社エフピコ
賦形シート
24日前
東レ株式会社
フィルムの製造方法。
4か月前
株式会社カワタ
計量混合装置
6か月前
個人
樹脂可塑化方法及び装置
10か月前
株式会社FTS
ロッド
10か月前
東レ株式会社
複合成形体の製造方法
1か月前
NOK株式会社
樹脂ゴム複合体
2か月前
株式会社漆原
シートの成形方法
6か月前
トヨタ自動車株式会社
射出装置
8か月前
東レ株式会社
樹脂フィルムの製造方法
6か月前
東レ株式会社
炭素繊維シートの製造方法
7か月前
株式会社不二越
射出成形機
7か月前
株式会社不二越
射出成形機
7か月前
株式会社FTS
セパレータ
10か月前
株式会社神戸製鋼所
混練機
9か月前
株式会社不二越
射出成形機
3か月前
株式会社不二越
射出成形機
8か月前
株式会社日本製鋼所
監視システム
1日前
株式会社不二越
射出成形機
6か月前
株式会社コスメック
射出成形装置
6か月前
株式会社バルカー
シートガスケット
2か月前
個人
ノズルおよび熱風溶接機
10か月前
東レ株式会社
繊維強化プラスチック構造体
3か月前
三和合板株式会社
化粧板の製造装置
3か月前
日産自動車株式会社
成形装置
4か月前
足立建設工業株式会社
製管機
15日前
トヨタ自動車株式会社
真空成形装置
7か月前
コイト電工株式会社
フレーム成形品
2か月前
東レ株式会社
溶融押出装置および押出方法
10か月前
続きを見る
他の特許を見る