TOP
|
特許
|
意匠
|
商標
特許ウォッチ
Twitter
他の特許を見る
公開番号
2025159574
公報種別
公開特許公報(A)
公開日
2025-10-21
出願番号
2024062251
出願日
2024-04-08
発明の名称
保持装置
出願人
日本特殊陶業株式会社
代理人
個人
主分類
H01L
21/683 20060101AFI20251014BHJP(基本的電気素子)
要約
【課題】載置面に載置された対象物にパーティクルが付着することを抑制することができる保持装置を提供すること。
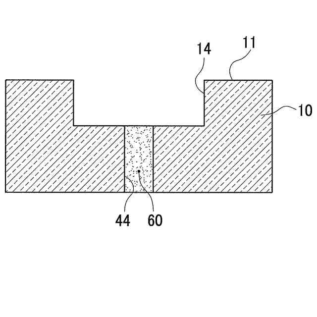
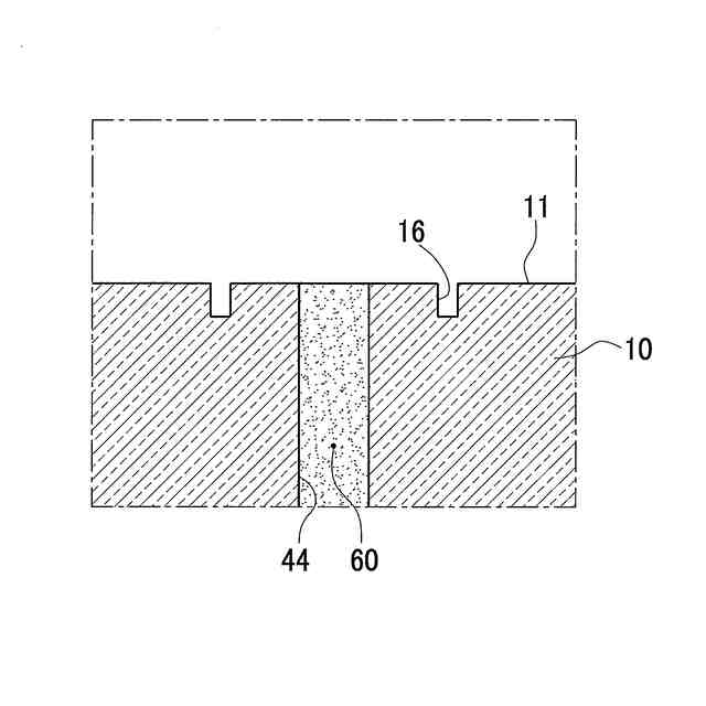
【解決手段】保持する半導体ウエハWが載置される載置面11を備える板状部材10と、載置面11へ不活性ガスを供給するために板状部材10内に形成された複数のガス排出流路44と、を有する静電チャック1において、ガス排出流路44は、板状部材10の厚さ方向に延びて形成され、その内部に多孔体60を備え、ガス排出流路の載置面11側の開口の周囲に、溝16が形成されている。
【選択図】図4
特許請求の範囲
【請求項1】
保持する対象物が載置される載置面を備える板状部材と、
前記載置面へ不活性ガスを供給するために前記板状部材内に形成された複数のガス孔と、
を有する保持装置において、
前記ガス孔は、前記板状部材の厚さ方向に延びて形成され、その内部に多孔体を備え、
前記ガス孔の前記載置面側の開口の周囲に、溝が形成されている
ことを特徴とする保持装置。
続きを表示(約 270 文字)
【請求項2】
請求項1に記載する保持装置において、
前記溝は、円環状に形成されている
ことを特徴とする保持装置。
【請求項3】
請求項1又は請求項2に記載する保持装置において、
前記載置面に開口する凹部を備え、
前記凹部の底面に、前記ガス孔の開口及び前記溝が配置されている
ことを特徴とする保持装置。
【請求項4】
請求項1又は請求項2に記載する保持装置において、
前記溝の内部の表面粗さは、Ra0.1μm以上である
ことを特徴とする保持装置。
発明の詳細な説明
【技術分野】
【0001】
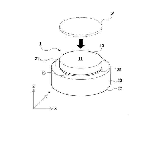
本開示は、対象物を保持する保持装置に関する。
続きを表示(約 1,300 文字)
【背景技術】
【0002】
対象物を保持する保持装置として、静電チャックが知られている。そして、静電チャックでは、保持する対象物との熱交換を向上させるために、載置面と対象物との間の微少空間に不活性ガスを供給し充填している。この種の静電チャックでは、例えば特許文献1に記載されているように、誘電層(板状部材)の内部に、載置面へ不活性ガスを供給するための管路(ガス孔)が形成されている。そして、この管路には、多孔プラグ(多孔体)が設けられている。
【先行技術文献】
【特許文献】
【0003】
特許第4959905号公報
【発明の概要】
【発明が解決しようとする課題】
【0004】
ここで、上記の静電チャックにおいては、載置面と対象物とが擦れることにより板状部材の表面が細かく削れたり、多孔体が局所的に損傷したりすること等によってパーティクル(微粒子)が発生する。そして、パーティクルが発生して、パーティクルが対象物に付着してしまうと、対象物に対する各種プロセス処理の精度が低下し、製品の歩留まりが低下するおそれがある。
【0005】
特に、ガス孔に多孔体が配置されている静電チャックでは、多孔体は板状部材よりも脆く損傷しやすいため、多孔体に起因するパーティクルが発生するおそれが高い。そのため、この種の静電チャックにおいて、対象物にパーティクルが付着することを抑制する対策が望まれている。
【0006】
そこで、本開示は上記した問題点を解決するためになされたものであり、載置面に載置された対象物にパーティクルが付着することを抑制することができる保持装置を提供することを目的とする。
【課題を解決するための手段】
【0007】
上記課題を解決するためになされた本開示の一形態は、
保持する対象物が載置される載置面を備える板状部材と、
前記載置面へ不活性ガスを供給するために前記板状部材内に形成された複数のガス孔と、
を有する保持装置において、
前記ガス孔は、前記板状部材の厚さ方向に延びて形成され、その内部に多孔体を備え、
前記ガス孔の前記載置面側の開口の周囲に、溝が形成されていることを特徴とする。
【0008】
この保持装置では、ガス孔の内部、詳細にはガス孔の内部の載置面側に開口している部分に多孔体が配置されている。そして、多孔体が配置されているガス孔の開口の周囲に溝が形成されている。この溝は、ガス孔の開口を全周にわたって取り囲むように形成されているとよい。
【0009】
このような溝を形成することにより、多孔体に起因して発生するパーティクルを溝で収集することができる。そのため、載置面に保持されている対象物にパーティクルが付着することを抑制することができる。
【0010】
上記した保持装置において、
前記溝は、円環状に形成されていることが好ましい。
(【0011】以降は省略されています)
この特許をJ-PlatPat(特許庁公式サイト)で参照する
関連特許
東ソー株式会社
絶縁電線
1か月前
APB株式会社
蓄電セル
1か月前
日機装株式会社
加圧装置
3日前
日新イオン機器株式会社
イオン源
3日前
ローム株式会社
半導体装置
1か月前
株式会社東芝
端子台
1か月前
マクセル株式会社
電源装置
1か月前
株式会社GSユアサ
蓄電装置
1か月前
株式会社GSユアサ
蓄電装置
18日前
株式会社GSユアサ
蓄電装置
1か月前
富士電機株式会社
電磁接触器
18日前
株式会社ホロン
冷陰極電子源
1か月前
三菱電機株式会社
回路遮断器
26日前
株式会社GSユアサ
蓄電装置
1か月前
トヨタ自動車株式会社
蓄電装置
1か月前
トヨタ自動車株式会社
バッテリ
1か月前
個人
電源ボックス及び電子機器
3日前
日本特殊陶業株式会社
保持装置
1か月前
株式会社東芝
電子源
3日前
株式会社トクミ
ケーブル
4日前
トヨタ自動車株式会社
蓄電装置
10日前
ホシデン株式会社
複合コネクタ
12日前
トヨタ自動車株式会社
冷却構造
1か月前
日本特殊陶業株式会社
保持装置
1か月前
日新イオン機器株式会社
基板処理装置
1か月前
北道電設株式会社
配電具カバー
1か月前
大電株式会社
電線又はケーブル
10日前
日亜化学工業株式会社
半導体レーザ素子
1か月前
住友電装株式会社
コネクタ
18日前
株式会社トクヤマ
シリコンエッチング液
1か月前
日本無線株式会社
レーダアンテナ
1か月前
甲神電機株式会社
変流器及び零相変流器
1か月前
株式会社デンソー
電子装置
1か月前
株式会社トクヤマ
シリコンエッチング液
1か月前
株式会社レゾナック
冷却器
26日前
トヨタ自動車株式会社
密閉型電池
1か月前
続きを見る
他の特許を見る