TOP
|
特許
|
意匠
|
商標
特許ウォッチ
Twitter
他の特許を見る
10個以上の画像は省略されています。
公開番号
2025149011
公報種別
公開特許公報(A)
公開日
2025-10-08
出願番号
2024049433
出願日
2024-03-26
発明の名称
半導体装置
出願人
ローム株式会社
代理人
個人
主分類
H01L
21/60 20060101AFI20251001BHJP(基本的電気素子)
要約
【課題】 ワイヤどうしの干渉を抑制することが可能な半導体装置を提供すること。
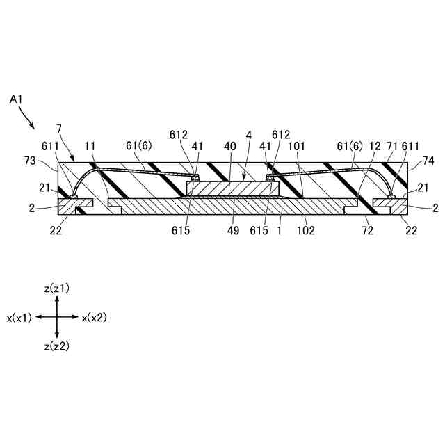
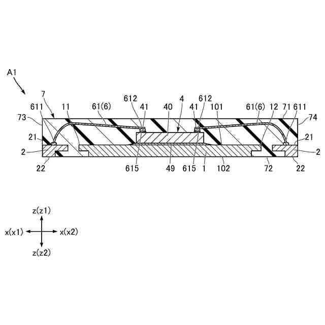
【解決手段】 半導体装置A1は第1方向zの第1側z1を向く第1面101を有する第1リード1と、第1面101に搭載され且つ複数の電極41を有する半導体素子4と、半導体素子4に導通する複数の第2リード2と、複数の電極41および複数の第2リード2に個別に接続された複数のワイヤ6と、第1リード1および第2リード2の少なくとも一部ずつと半導体素子4および複数のワイヤ6とを覆う封止樹脂7と、を備え、複数のワイヤ6は、第2リード2に接続されたファーストボンディング部611および電極41に接続されたセカンドボンディング部612を有する1以上の第1ワイヤ61を含む。
【選択図】 図3
特許請求の範囲
【請求項1】
第1方向の第1側を向く第1面を有する第1リードと、
前記第1面に搭載され且つ複数の電極を有する半導体素子と、
前記半導体素子に導通する複数の第2リードと、
前記複数の電極および前記複数の第2リードに個別に接続された複数のワイヤと、
前記第1リードおよび前記第2リードの少なくとも一部ずつと前記半導体素子および前記複数のワイヤとを覆う封止樹脂と、を備え、
前記複数のワイヤは、前記第2リードに接続されたファーストボンディング部および前記電極に接続されたセカンドボンディング部を有する1以上の第1ワイヤを含む、半導体装置。
続きを表示(約 740 文字)
【請求項2】
前記第1ワイヤは、バンプ部をさらに有し、
前記セカンドボンディング部は、前記バンプ部を介して前記電極に接続されている、請求項1に記載の半導体装置。
【請求項3】
前記電極および前記第2リードが離隔する方向における前記第1ワイヤの長さである第1長さと前記第1ワイヤのループ高さとの比は、700:8以上700:105以下である、請求項1または2に記載の半導体装置。
【請求項4】
前記第1長さは、1.5mm以上3.5mm以下である、請求項3に記載の半導体装置。
【請求項5】
前記ループ高さは、70μm以上120μm以下である、請求項3に記載の半導体装置。
【請求項6】
前記第2リードの前記ファーストボンディング部が接続された面と前記電極との前記第1方向における距離は、50μm以下である、請求項3に記載の半導体装置。
【請求項7】
前記電極は、前記第2リードの前記ファーストボンディング部が接続された面より、前記第1方向の前記第1側に位置する、請求項6に記載の半導体装置。
【請求項8】
前記第1ワイヤの直径は、10μm以上30μm以下である、請求項3に記載の半導体装置。
【請求項9】
前記第1長さと前記離隔する方向における前記半導体素子の端縁と前記第1面の端縁との距離である第2長さとの比は、140:1以上140:120以下である、請求項3に記載の半導体装置。
【請求項10】
前記複数の第2リードのピッチは、前記複数の電極のピッチより大きい、請求項1に記載の半導体装置。
(【請求項11】以降は省略されています)
発明の詳細な説明
【技術分野】
【0001】
本開示は、半導体装置に関する。
続きを表示(約 1,300 文字)
【背景技術】
【0002】
特許文献1には、従来の半導体装置の一例が開示されている。同文献に開示された半導体装置は、ダイパッド、半導体素子、複数のリード、複数のワイヤおよび樹脂部材を備える。半導体素子は、ダイパッドに搭載されている。半導体素子は、複数のワイヤを介して複数のリードに個別に接続されている。封止樹脂は、半導体素子および複数のワイヤとダイパッドおよび複数のリードの一部ずつとを覆っている。
【先行技術文献】
【特許文献】
【0003】
特開2022-146270号公報
【0004】
[概要]
半導体素子および複数のリードの配置は、種々に設定されうる。半導体素子および複数のリードの配置によって、複数のワイヤの長さが長くなる場合がある。ワイヤの長さが長いほど、隣り合うワイヤ、半導体素子等との干渉が生じうる。
【0005】
本開示は、上記した事情のもとで考え出されたものであって、ワイヤどうしの干渉を抑制することが可能な半導体装置を提供することをその課題とする。
【0006】
本開示によって提供される半導体装置は、第1方向の第1側を向く第1面を有する第1リードと、前記第1面に搭載され且つ複数の電極を有する半導体素子と、前記半導体素子に導通する第2リードと、前記第1リードおよび前記第2リードの少なくとも一部ずつと前記半導体素子とを覆う封止樹脂と、を備え、絶縁層および1以上の配線部を含む導電層と、前記電極および前記配線部に接続された第1ワイヤと、前記第2リードに接続された第2ワイヤと、をさらに備え、前記電極および前記第2リードの導通経路に、前記第1ワイヤ、前記配線部および前記第2ワイヤが含まれる。
【0007】
本開示のその他の特徴および利点は、添付図面を参照して以下に行う詳細な説明によって、より明らかとなろう。
【図面の簡単な説明】
【0008】
図1は、本開示の第1実施形態に係る半導体装置を示す平面図である。
図2は、本開示の第1実施形態に係る半導体装置を示す底面図である。
図3は、図1のIII-III線に沿う断面図である。
図4は、本開示の第1実施形態に係る半導体装置を示す部分拡大断面図である。
図5は、図1のV-V線に沿う断面図である。
図6は、本開示の第2実施形態に係る半導体装置を示す平面図である。
図7は、図6のVII-VII線に沿う断面図である。
図8は、本開示の第3実施形態に係る半導体装置を示す平面図である。
図9は、図8のIX-IX線に沿う断面図である。
【0009】
[詳細な説明]
以下、本開示の好ましい実施の形態につき、図面を参照して具体的に説明する。
【0010】
本開示における「第1」、「第2」、「第3」等の用語は、単に識別のために用いたものであり、それらの対象物に順列を付することを意図していない。
(【0011】以降は省略されています)
この特許をJ-PlatPat(特許庁公式サイト)で参照する
関連特許
APB株式会社
蓄電セル
8日前
東ソー株式会社
絶縁電線
10日前
個人
フレキシブル電気化学素子
22日前
日新イオン機器株式会社
イオン源
18日前
マクセル株式会社
電源装置
2日前
株式会社ユーシン
操作装置
22日前
株式会社東芝
端子台
2日前
ローム株式会社
半導体装置
9日前
株式会社GSユアサ
蓄電設備
22日前
オムロン株式会社
電磁継電器
23日前
株式会社ホロン
冷陰極電子源
16日前
株式会社GSユアサ
蓄電設備
22日前
太陽誘電株式会社
コイル部品
22日前
株式会社GSユアサ
蓄電装置
3日前
株式会社GSユアサ
蓄電装置
3日前
ノリタケ株式会社
熱伝導シート
22日前
トヨタ自動車株式会社
蓄電装置
22日前
トヨタ自動車株式会社
冷却構造
10日前
サクサ株式会社
電池の固定構造
22日前
日東電工株式会社
積層体
23日前
トヨタ自動車株式会社
バッテリ
23日前
日本特殊陶業株式会社
保持装置
11日前
トヨタ自動車株式会社
バッテリ
8日前
トヨタ自動車株式会社
蓄電装置
3日前
北道電設株式会社
配電具カバー
8日前
日新イオン機器株式会社
基板処理装置
5日前
古河電気工業株式会社
端子
22日前
日本製紙株式会社
導電性フィルム
23日前
株式会社ダイヘン
搬送装置
22日前
住友電装株式会社
コネクタ
10日前
ローム株式会社
半導体装置
10日前
トヨタ自動車株式会社
電池パック
15日前
東レエンジニアリング株式会社
実装装置
23日前
トヨタ自動車株式会社
電池パック
15日前
日本製紙株式会社
導電性フィルム
23日前
ローム株式会社
半導体装置
23日前
続きを見る
他の特許を見る