TOP
|
特許
|
意匠
|
商標
特許ウォッチ
Twitter
他の特許を見る
10個以上の画像は省略されています。
公開番号
2025150019
公報種別
公開特許公報(A)
公開日
2025-10-09
出願番号
2024050660
出願日
2024-03-27
発明の名称
半導体装置
出願人
ローム株式会社
代理人
個人
,
個人
主分類
H01L
23/50 20060101AFI20251002BHJP(基本的電気素子)
要約
【課題】 ダイパッドからの接合層の漏出を抑制することが可能な半導体装置を提供する。
【解決手段】 半導体装置A10は、パッド部21を有するダイパッド20と、パッド部21の第1方向zの一方側に位置する半導体素子10と、パッド部21と半導体素子10とを接合する接合層19とを備える。パッド部21は、搭載面211および第1周面213を有する。半導体素子10は、搭載面211に接合されている。ダイパッド20は、第1周面213から突出する第1張出部24を有する。第1張出部24は、第1方向zにおいて搭載面211と同じ側を向く第1面241を有する。第1面241は、第1方向zにおいて第1周面213を基準として搭載面211とは反対側に位置する。
【選択図】 図10
特許請求の範囲
【請求項1】
パッド部を有するダイパッドと、
前記パッド部の第1方向の一方側に位置する半導体素子と、
前記パッド部と前記半導体素子とを接合する接合層と、を備え、
前記パッド部は、前記半導体素子に対向する搭載面と、前記第1方向に対して直交する方向を向く第1周面と、を有し、
前記半導体素子は、前記搭載面に接合されており、
前記ダイパッドは、前記第1周面から突出する第1張出部を有し、
前記第1張出部は、前記第1方向において前記搭載面と同じ側を向く第1面を有し、
前記第1面は、前記第1方向において前記第1周面を基準として前記搭載面とは反対側に位置する、半導体装置。
続きを表示(約 750 文字)
【請求項2】
前記第1張出部は、前記第1面を基準として前記第1周面とは反対側に位置する第2面を有し、
前記第1方向に視て、前記第2面の全体は、前記第1面に重なっている、請求項1に記載の半導体装置。
【請求項3】
前記第2面は、凸状である、請求項2に記載の半導体装置。
【請求項4】
前記パッド部は、前記第1方向において前記搭載面とは反対側に位置する裏面を有し、
前記第1方向において、前記第1面は、前記裏面よりも前記搭載面の近くに位置する、請求項2に記載の半導体装置。
【請求項5】
前記パッド部は、前記第1方向に対して直交する方向において前記第1周面と同じ側を向く第2周面を有し、
前記第2周面は、前記第1方向において前記裏面と前記第2面との間に位置しており、
前記第1方向に視て、前記第1周面は、前記半導体素子と前記第2周面との間に位置する、請求項4に記載の半導体装置。
【請求項6】
前記第2周面の前記第1方向の寸法は、前記第1周面の前記第1方向の寸法より大きい、請求項5に記載の半導体装置。
【請求項7】
前記第1面は、前記第2面に向けて湾曲している、請求項6に記載の半導体装置。
【請求項8】
前記第1面の表面粗さは、前記裏面の表面粗さより大きい、請求項6に記載の半導体装置。
【請求項9】
前記第1張出部は、前記第1面から凹む凹部を有する、請求項6に記載の半導体装置。
【請求項10】
前記第1方向に視て、前記凹部は、前記第2面に重なっている、請求項9に記載の半導体装置。
(【請求項11】以降は省略されています)
発明の詳細な説明
【技術分野】
【0001】
本開示は、半導体装置に関する。
続きを表示(約 1,900 文字)
【背景技術】
【0002】
特許文献1に開示されている半導体装置のように、樹脂パッケージ形式の半導体装置が広く知られている。特許文献1に開示されている半導体装置は、半導体素子と、当該半導体素子に導通する第1リードおよび第3リードと、当該半導体素子を搭載する第2リードと、当該半導体素子を覆う封止樹脂とを備える。
【0003】
特許文献1に開示されている半導体装置においては、半導体素子は、接合層を介して第2リードの第2パッド部の第2パッド表面に接合されている。この場合において、第2パッド表面の面積に対して半導体素子の素子表面の面積が相対的に大きくなると、第2パッド表面から接合層が漏出する。接合層の漏出が過大となると、封止樹脂の外方に位置する第2リードの部位に接合層が到達するおそれがある。このことは、当該半導体装置を配線基板に実装する際の支障の要因となる。
【先行技術文献】
【特許文献】
【0004】
特開2018-60908号公報
【0005】
[概要]
本開示は先述の事情に鑑み、ダイパッドからの接合層の漏出を抑制することが可能な半導体装置を提供することをその課題とする。
【0006】
本開示によって提供される半導体装置は、パッド部を有するダイパッドと、前記パッド部の第1方向の一方側に位置する半導体素子と、前記パッド部と前記半導体素子とを接合する接合層とを備える。前記パッド部は、前記半導体素子に対向する搭載面と、前記第1方向に対して直交する方向を向く第1周面とを有する。前記半導体素子は、前記搭載面に接合されている。前記ダイパッドは、前記第1周面から突出する第1張出部を有する。前記第1張出部は、前記第1方向において前記搭載面と同じ側を向く第1面を有する。前記第1面は、前記第1方向において前記第1周面を基準として前記搭載面とは反対側に位置する。
【0007】
本開示のその他の特徴および利点は、添付図面に基づき以下に行う詳細な説明によって、より明らかとなろう。
【図面の簡単な説明】
【0008】
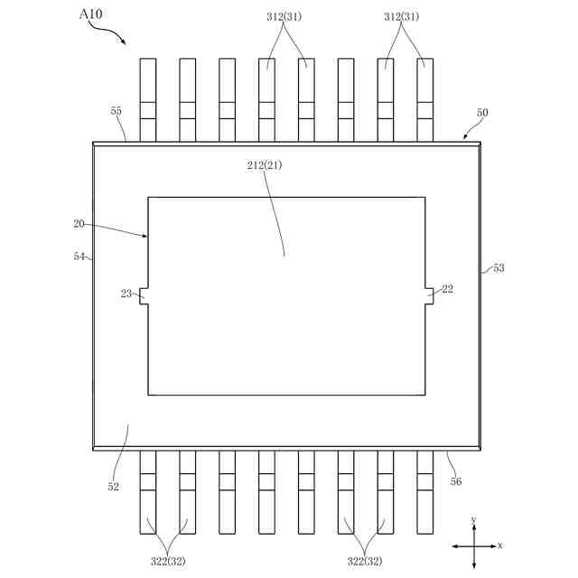
図1は、本開示の第1実施形態に係る半導体装置の斜視図である。
図2は、図1に示す半導体装置の平面図である。
図3は、図2に対応する平面図であり、封止樹脂を透過している。
図4は、図1に示す半導体装置の底面図である。
図5は、図4に対応する底面図であり、封止樹脂を透過している。
図6は、図1に示す半導体装置の正面図である。
図7は、図1に示す半導体装置の右側面図である。
図8は、図1に示す半導体装置の左側面図である。
図9は、図3のIX-IX線に沿う断面図である。
図10は、図3のX-X線に沿う断面図である。
図11は、図3のXI-XI線に沿う断面図である。
図12は、図3の部分拡大図であり、接合層を透過している。
図13は、図12のXIII-XIII線に沿う断面図である。
図14は、本開示の第1実施形態の第1変形例に係る半導体装置の部分拡大断面図であり、図13に対応している。
図15は、本開示の第1実施形態の第2変形例に係る半導体装置の部分拡大断面図であり、図13に対応している。
図16は、本開示の第2実施形態に係る半導体装置の部分拡大平面図であり、図12に対応している。
図17は、図16のXVII-XVII線に沿う断面図である。
図18は、本開示の第3実施形態に係る半導体装置の部分拡大平面図であり、図12に対応している。
図19は、図18のXIX-XIX線に沿う断面図である。
【0009】
[詳細な説明]
本開示の詳細について、添付図面に基づき説明する。
【0010】
〔第1実施形態〕
図1~図13に基づき、本開示の第1実施形態に係る半導体装置A10について説明する。半導体装置A10は、半導体素子10、ダイパッド20、複数の第1端子31、複数の第2端子32、複数のワイヤ40、および封止樹脂50を備える。半導体装置A10のパッケージ形式は、SOP(Small Outline Package)である。ただし、半導体装置A10のパッケージ形式は、SOPに限定されない。ここで、図3および図5は、理解の便宜上、封止樹脂50を透過している。図3および図5においては、封止樹脂50の外形を想像線(二点鎖線)で示している。図12は、理解の便宜上、接合層19をさらに透過している。
(【0011】以降は省略されています)
この特許をJ-PlatPat(特許庁公式サイト)で参照する
関連特許
ローム株式会社
電源装置
27日前
ローム株式会社
光センサ
21日前
ローム株式会社
半導体装置
13日前
ローム株式会社
半導体装置
21日前
ローム株式会社
半導体装置
21日前
ローム株式会社
半導体装置
15日前
ローム株式会社
半導体装置
15日前
ローム株式会社
半導体装置
22日前
ローム株式会社
半導体装置
14日前
ローム株式会社
抵抗チップ
14日前
ローム株式会社
半導体装置
13日前
ローム株式会社
半導体集積回路
8日前
ローム株式会社
窒化物半導体装置
23日前
ローム株式会社
窒化物半導体装置
14日前
ローム株式会社
半導体パッケージ
14日前
ローム株式会社
半導体メモリ装置
1日前
ローム株式会社
自己診断システム
16日前
ローム株式会社
検証装置及び検証方法
27日前
ローム株式会社
半導体装置、電子機器、車両
8日前
ローム株式会社
半導体装置、電子機器、車両
8日前
ローム株式会社
信号伝達装置、電子機器、車両
23日前
ローム株式会社
半導体回路及び半導体回路のテスト方法
27日前
ローム株式会社
電圧電流変換回路および半導体集積回路
8日前
ローム株式会社
パルス幅変調回路およびモータ駆動装置
8日前
ローム株式会社
モータドライバ回路およびハードディスク装置
16日前
ローム株式会社
電流生成回路、半導体装置、電子機器及び車両
20日前
ローム株式会社
電源制御装置、DC/DCコンバータ、および車両
9日前
ローム株式会社
三相ブラシレスモータのドライバ回路および駆動方法
1日前
ローム株式会社
圧電アクチュエータ及び圧電アクチュエータの駆動方法
20日前
ローム株式会社
半導体装置
23日前
ローム株式会社
半導体装置
15日前
ローム株式会社
半導体装置
20日前
ローム株式会社
半導体装置
9日前
ローム株式会社
半導体装置
7日前
ローム株式会社
テラヘルツ装置
13日前
ローム株式会社
SiC半導体装置
1日前
続きを見る
他の特許を見る