TOP
|
特許
|
意匠
|
商標
特許ウォッチ
Twitter
他の特許を見る
10個以上の画像は省略されています。
公開番号
2025160396
公報種別
公開特許公報(A)
公開日
2025-10-22
出願番号
2025127662,2023164056
出願日
2025-07-30,2018-11-30
発明の名称
半導体装置
出願人
ローム株式会社
代理人
個人
主分類
H01L
23/48 20060101AFI20251015BHJP(基本的電気素子)
要約
【課題】放熱特性の低下を抑制しつつ高集積化を可能とする半導体装置を提供する。
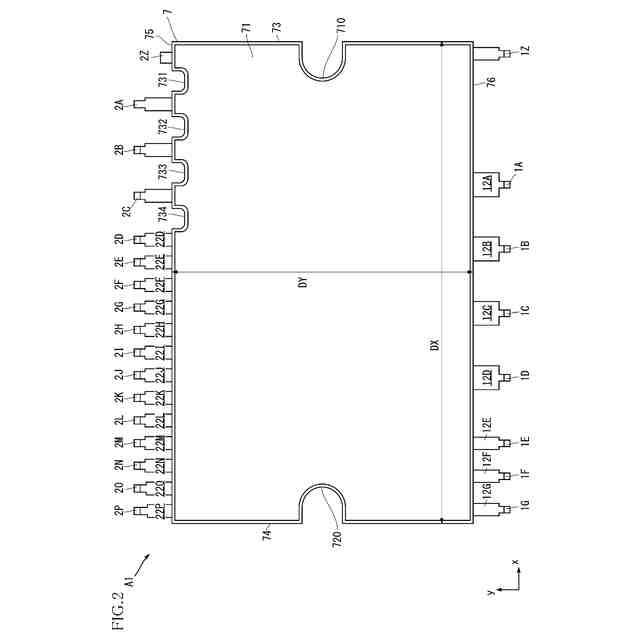
【解決手段】半導体装置A2は、基板3と、導電部5と、複数の半導体チップ4A~4Fと、制御チップ4H、4Gと、複数の第1リード1A~1Gと、複数の第2リード2A~2H、2S~2Uと、封止樹脂7と、を備える。封止樹脂7は、複数の第1リード1A~1Gが露出する第1の側面76と、第1の側面76と異なるとともに、複数の第2リード2A~2H、2S~2Uが露出する第2の側面75と、第2の側面75に形成され、複数の第2リード2A~2H、2S~2Uのうち一部の第2リードの間に位置する複数の凹部731,732,733と、を有する、
【選択図】図36
特許請求の範囲
【請求項1】
第1面および第2面を含む絶縁性の基板と、
前記基板の前記第1面上に形成された導電部と、
前記第1面上に実装され、入力される制御信号に応答してスイッチング動作を行う複数の半導体チップと、
前記制御信号を生成し、前記複数の半導体チップに接続される制御チップと、
前記複数の半導体チップのうち1個以上がそれぞれ電気的に接続される複数の第1リードと、
前記制御チップに電気的に接続される複数の第2リードと、
前記複数の第1リードおよび前記複数の第2リードの少なくとも一部ずつと、前記基板と、前記導電部と、前記複数の半導体チップとを覆う封止樹脂と、を有し、
前記封止樹脂は、
前記複数の第1リードが露出する第1の側面と、
前記第1の側面と異なるとともに、前記複数の第2リードが露出する第2の側面と、
前記第2の側面に形成され、前記複数の第2リードのうち一部の前記第2リードの間に位置する複数の凹部と、を有する、
半導体装置。
続きを表示(約 850 文字)
【請求項2】
前記導電部は、複数の配線部を含み、
前記複数の配線部の少なくとも一部は、前記半導体チップと前記制御チップとを接続する経路の途中に配置されており、
前記複数の配線部間の最小間隔は、前記複数の第1リード間の最小間隔よりも小さい、請求項1に記載の半導体装置。
【請求項3】
前記複数の第1リード間の最小間隔は、前記複数の第2リード間の最小間隔よりも大きい、請求項1に記載の半導体装置。
【請求項4】
前記複数の半導体チップは、炭化珪素基板上に形成されたMOSFETである、請求項1に記載の半導体装置。
【請求項5】
前記MOSFETのゲートは、トレンチ構造を有する、請求項4記載の半導体装置。
【請求項6】
厚さ方向と直交する方向から見たとき、前記複数の半導体チップの高さと前記制御チップの高さが異なる、請求項1に記載の半導体装置。
【請求項7】
前記導電部の厚さは、前記第1リードの厚さよりも薄い、請求項6に記載の半導体装置。
【請求項8】
前記基板は、アルミナ、窒化珪素、窒化アルミニウムおよびジルコニア入りアルミナのいずれかを含むセラミックスである、請求項1に記載の半導体装置。
【請求項9】
前記半導体チップは、チップ主面側に形成された第1電極および制御電極と、チップ裏面に形成された第2電極とを有し、
前記複数の半導体チップは、第1電源と第2電源との間に高電位側スイッチング素子の前記第1電極と低電位側スイッチング素子の前記第2電極とが直列接続される、請求項1に記載の半導体装置。
【請求項10】
前記制御チップは、前記高電位側スイッチング素子の動作を制御する第1集積回路素子と、前記低電位側スイッチング素子の動作を制御する第2集積回路素子とを含む、請求項9に記載の半導体装置。
(【請求項11】以降は省略されています)
発明の詳細な説明
【技術分野】
【0001】
本開示は、半導体装置に関する。
続きを表示(約 4,300 文字)
【背景技術】
【0002】
半導体チップと、半導体チップの動作電流を制御する制御電流が流れる制御チップと、半導体チップおよび制御チップを封止する樹脂と、を備えた半導体装置が知られている(特許文献1参照)。
【先行技術文献】
【特許文献】
【0003】
特開2015-220429号公報
【発明の概要】
【発明が解決しようとする課題】
【0004】
制御チップには、複数種類の制御信号の入出力がある。制御信号の数が増えるほど、制御チップへの導通経路の数を増やす必要があるが、これらの導通経路を従来のように金属製の複数のリードによって構成しようとすると、半導体装置のさらなる高集積化が困難となるおそれがある。
【0005】
本開示は、上記した事情のもとで考え出されたものであって、より高集積化を可能とする半導体装置を提供することをその課題とする。
【課題を解決するための手段】
【0006】
本開示によって提供される半導体装置は、基板と、前記基板上に形成された導電性材料からなる導電部と、前記基板上に配置された、前記基板よりも放熱性の高い第1リードと、前記第1リード上に配置された半導体チップと、前記導電部と前記半導体チップとに電気的に接続され、且つ平面視において前記半導体チップと前記第1リードと離間して前記基板上に配置された、前記半導体チップの駆動を制御する制御チップと、前記半導体チップおよび前記制御チップと、前記基板の少なくとも一部と、前記リードの一部と、を覆う樹脂と、を備える。
【発明の効果】
【0007】
本開示によれば、放熱特性の低下を抑制しつつ高集積化を図った半導体装置を提供することができる。
【0008】
本開示のその他の特徴および利点は、添付図面を参照して以下に行う詳細な説明によって、より明らかとなろう。
【図面の簡単な説明】
【0009】
本開示の第1実施形態に係る半導体装置を示す斜視図である。
本開示の第1実施形態に係る半導体装置を示す平面図である。
本開示の第1実施形態に係る半導体装置を示す底面図である。
本開示の第1実施形態に係る半導体装置を示す要部平面図である。
図4のV-V線に沿う断面図である。
本開示の第1実施形態に係る半導体装置を示す要部拡大断面図である。
本開示の第1実施形態に係る半導体装置を示す要部拡大断面図である。
本開示の第1実施形態に係る半導体装置を示す要部拡大断面図である。
図4のIX-IX線に沿う断面図である。
本開示の第1実施形態に係る半導体装置を示す要部拡大平面図である。
第1ワイヤ91Aの端部を示す要部拡大平面図である。
図11のXII-XII線に沿う要部拡大断面図である。
図11のXIII-XIII線に沿う要部拡大断面図である。
本開示の第1実施形態に係る半導体装置を示す要部拡大平面図である。
本開示の第1実施形態に係る半導体装置を示す要部拡大平面図である。
本開示の第1実施形態に係る半導体装置の基板を示す要部拡大平面図である。
本開示の第1実施形態に係る半導体装置の半導体チップを示す要部拡大断面図である。
本開示の第1実施形態に係る半導体装置の電気的構成を模式的に示す回路図である。
本開示の第1実施形態に係る半導体装置の回路構成の一部を示す回路図である。
本開示の第1実施形態に係る半導体装置の製造方法の一例を示すフローチャートである。
本開示の第1実施形態に係る半導体装置の製造方法の一例を示す平面図である。
図21の次の工程を示す平面図である。
図22の次の工程を示す平面図である。
図23の次の工程を示す平面図である。
図24の次の工程を示す平面図である。
図25の次の工程を示す平面図である。
図26の次の工程を示す平面図である。
図27の次の工程を示す平面図である。
図28の次の工程を示す平面図である。
図29の次の工程を示す平面図である。
本開示の第1実施形態に係る半導体装置の第1変形例を示す要部平面図である。
本開示の第1実施形態に係る半導体装置の第1変形例の半導体チップを示す要部拡大断面図である。
本開示の第1実施形態に係る半導体装置の第1変形例のダイオードを示す要部拡大斜視図である。
本開示の第1実施形態に係る半導体装置の第1変形例のダイオードを示す要部拡大断面図である。
本開示の第2実施形態に係る半導体装置を示す斜視図である。
本開示の第2実施形態に係る半導体装置を示す平面図である。
本開示の第2実施形態に係る半導体装置を示す底面図である。
本開示の第2実施形態に係る半導体装置を示す側面図である。
本開示の第2実施形態に係る半導体装置を示す要部平面図である。
図39のXL-XL線に沿う断面図である。
図39のXLI-XLI線に沿う断面図である。
本開示の第2実施形態に係る半導体装置を示す要部平面図である。
本開示の第2実施形態に係る半導体装置を示す要部平面図である。
本開示の第2実施形態に係る半導体装置の電気的構成を模式的に示す回路図である。
本開示の第2実施形態に係る半導体装置を示す要部平面図である。
本開示の第2実施形態に係る半導体装置を示す要部拡大平面図である。
本開示の第2実施形態に係る半導体装置を示す要部拡大平面図である。
本開示の第2実施形態に係る半導体装置の基板を示す要部拡大平面図である。
本開示の第2実施形態に係る半導体装置の電気的構成を模式的に示す回路図である。
本開示の第2実施形態に係る半導体装置が実装された回路基板の電気的構成を模式的に示す回路図である。
本開示の第2実施形態に係る半導体装置の第1伝達回路チップ、1次側回路チップおよび制御チップを模式的に示す斜視図である。
第1伝達回路チップを示す要部平面図である。
第1伝達回路チップを示す要部底面図である。
第1伝達回路チップを示す要部平面図である。
図52のLV-LV線に沿う断面図である。
第1伝達回路チップを示す要部拡大断面図である。
第1伝達回路チップにおける層間膜の厚さと破壊電圧との関係を示す図である。
本開示の第3実施形態に係る半導体装置を示す平面図である。
本開示の第3実施形態に係る半導体装置を示す要部拡大平面図である。
本開示の第3実施形態に係る半導体装置の第1変形例を示す平面図である。
本開示の第4実施形態に係る半導体装置を示す平面図である。
本開示の第4実施形態に係る半導体装置を示す要部拡大平面図である。
本開示の第4実施形態に係る半導体装置の信号伝達素子を示す平面図である。
本開示の第4実施形態に係る半導体装置の第1変形例を示す要部拡大平面図である。
本開示の第4実施形態に係る半導体装置の第2変形例を示す要部拡大平面図である。
本開示の第5実施形態に係る半導体装置を示す平面図である。
本開示の第5実施形態に係る半導体装置を示す要部拡大平面図である。
本開示の第6実施形態に係る半導体装置を示す平面図である。
本開示の第6実施形態に係る半導体装置を示す要部拡大平面図である。
本開示の第7実施形態に係る半導体装置を示す平面図である。
本開示の第7実施形態に係る半導体装置を示す要部拡大平面図である。
本開示の第7実施形態に係る半導体装置を示す要部拡大平面図である。
本開示の第7実施形態に係る半導体装置電気的構成を模式的に示す回路図である。
本開示の第7実施形態に係る半導体装置の第1変形例を示す平面図である。
本開示の第7実施形態に係る半導体装置の第2変形例を示す平面図である。
第8実施形態の半導体パッケージの平面図である。
第8実施形態の半導体パッケージの側面図である。
図76の半導体パッケージの底面図である。
図19の半導体パッケージの内部構成を示す平面図である。
図79の制御用配線領域の拡大図である。
図80の制御回路チップ及びその周辺の拡大図である。
図80の別の制御回路チップ及びその周辺の拡大図である。
半導体パッケージの模式的な断面図である。
第8実施形態の半導体パッケージの変形例について、半導体パッケージの内部構成を示す平面図である。
図84の制御用配線領域の拡大図である。
図33の変形例の半導体パッケージの変形例について、半導体パッケージの制御用配線領域の拡大図である。
第9実施形態の半導体パッケージの内部構成を示す平面図である。
図87の制御用配線領域の拡大図である。
第10実施形態の半導体パッケージの内部構成を示す平面図である。
図89の制御用配線領域の拡大図である。
図90の制御回路チップ及びその周辺の拡大図である。
図90の制御回路チップ及びその周辺の拡大図である。
第11実施形態の半導体パッケージの内部構成を示す平面図である。
図93の制御用配線領域の拡大図である。
第11実施形態の変形例の半導体パッケージの内部構成を示す平面図である。
図95の制御用配線領域の拡大図である。
第12実施形態の半導体パッケージの内部構成を示す平面図である。
図97の制御用配線領域の拡大図である。
図97の制御回路チップ及びその周辺の拡大図である。
図97の別の制御回路チップ及びその周辺の拡大図である。
【発明を実施するための形態】
【0010】
以下、本開示の好ましい実施の形態につき、図面を参照して具体的に説明する。
(【0011】以降は省略されています)
この特許をJ-PlatPat(特許庁公式サイト)で参照する
関連特許
ローム株式会社
半導体装置
9日前
ローム株式会社
半導体装置
17日前
ローム株式会社
半導体装置
9日前
ローム株式会社
半導体装置
9日前
ローム株式会社
半導体装置
2日前
ローム株式会社
定電圧生成回路
9日前
ローム株式会社
半導体集積回路
9日前
ローム株式会社
半導体集積回路
10日前
ローム株式会社
定電圧生成回路
9日前
ローム株式会社
半導体モジュール
18日前
ローム株式会社
比較回路、半導体装置
9日前
ローム株式会社
逐次比較型AD変換回路
17日前
ローム株式会社
サーマルプリントヘッド
9日前
ローム株式会社
電源制御装置及び電源装置
2日前
ローム株式会社
半導体装置およびシステム
17日前
ローム株式会社
監視回路及びレジスタ制御装置
9日前
ローム株式会社
電源制御装置、スイッチング電源
2日前
ローム株式会社
昇圧型スイッチングレギュレータ
11日前
ローム株式会社
モータドライバ回路および駆動方法
10日前
ローム株式会社
電圧調整装置及び電荷蓄積システム
11日前
ローム株式会社
半導体装置および半導体装置の製造方法
10日前
ローム株式会社
半導体装置、および半導体装置の製造方法
23日前
ローム株式会社
ドライバ、信号伝達装置、電子機器、車両
2日前
ローム株式会社
サーマルプリントヘッド及びその製造方法
9日前
ローム株式会社
検出回路、信号伝達装置、電子機器、車両
9日前
ローム株式会社
半導体装置、および半導体装置の製造方法
9日前
ローム株式会社
コントローラ、ターゲット、及び通信システム
9日前
ローム株式会社
電源回路、電子コントロールユニット、自動車
17日前
ローム株式会社
雨検出装置、雨検出システム、および、雨検出方法
11日前
ローム株式会社
窒化物半導体装置および窒化物半導体装置の製造方法
9日前
ローム株式会社
信号伝達装置、電子機器、車両、絶縁ゲートドライバIC
17日前
ローム株式会社
半導体装置
2日前
ローム株式会社
半導体装置
2日前
ローム株式会社
半導体装置
9日前
ローム株式会社
制御装置、力率改善回路、電子機器、およびオフセット設定方法
17日前
ローム株式会社
双方向DC/DCコンバータ、電源遮断保護回路および半導体装置
3日前
続きを見る
他の特許を見る