TOP
|
特許
|
意匠
|
商標
特許ウォッチ
Twitter
他の特許を見る
10個以上の画像は省略されています。
公開番号
2025163235
公報種別
公開特許公報(A)
公開日
2025-10-28
出願番号
2025132383,2024090186
出願日
2025-08-07,2019-08-23
発明の名称
半導体装置
出願人
ローム株式会社
代理人
個人
主分類
H01L
25/07 20060101AFI20251021BHJP(基本的電気素子)
要約
【課題】2つの金属部材間の接合による表面損傷の抑制を図った接合構造体およびその接合方法と、その接合構造体を備える半導体装置を提供する。
【解決手段】半導体装置B2は、複数のスイッチング素子と、複数のスイッチング素子の各々を封止する封止樹脂60と、第1パッド部311および端子部312を含む入力端子31と、第2パッド部321および端子部322を含む入力端子32と、第3パッド部および第3端子部を含む出力端子と、端子部312に導通接合された供給端子71と、を備える。入力端子31、32及び出力端子は、複数のスイッチング素子に電気的に接続されている。封止樹脂は、z方向に見て、端子部312、322の少なくとも一部と、第3端子部の少なくとも一部とを囲み、供給端子71と端子部312との導通接合は、供給端子71の一部と端子部312の一部とが融接された溶接部93の供給端子接合部93Eを備えている。
【選択図】図24
特許請求の範囲
【請求項1】
第1方向の一方を向く素子主面に形成された第1電極および第2電極と前記第1方向の他方を向く素子裏面に形成された裏面電極とを各々が有し、各々が前記第2電極に入力される信号に応じて前記第1電極と前記裏面電極との間のスイッチング動作を行う複数のスイッチング素子と、
前記複数のスイッチング素子の各々を封止する封止樹脂と、
前記封止樹脂に覆われた第1パッド部および前記封止樹脂から露出する第1端子部を含む第1入力端子と、
前記封止樹脂に覆われた第2パッド部および前記封止樹脂から露出する第2端子部を含む第2入力端子と、
前記封止樹脂に覆われた第3パッド部および前記封止樹脂から露出する第3端子部を含む出力端子と、
前記第1端子部に導通接合された第1供給端子と、
を備え、
前記第1入力端子、前記第2入力端子および前記出力端子は、前記複数のスイッチング素子に電気的に接続されており、
前記封止樹脂は、前記第1方向に見て、前記第1端子部の少なくとも一部と、前記第2端子部の少なくとも一部と、前記第3端子部の少なくとも一部とを囲み、
前記第1供給端子と前記第1端子部との導通接合は、前記第1供給端子の一部と前記第1端子部の一部とが融接された第1溶接部を備えている、半導体装置。
続きを表示(約 980 文字)
【請求項2】
前記第1溶接部は、前記第1方向において、前記第1供給端子を貫通し、前記第1端子部の途中深さまで融接されている、請求項1に記載の半導体装置。
【請求項3】
前記第1供給端子と前記第1端子部との導通接合は、レーザ溶接であり、前記第1溶接部の表面は平坦でなく、前記第1端子部の表面よりも盛り上がる部分を有する、請求項1または請求項2に記載の半導体装置。
【請求項4】
前記第1溶接部は、前記第1方向に見て環状の外周縁と、前記第1方向に見て円形状のクレータ部と、を有しており、
前記第1溶接部において、前記クレータ部の直径は、前記外周縁の半径よりも小さい、請求項1ないし請求項3のいずれかに記載の半導体装置。
【請求項5】
前記第2端子部に導通接合された第2供給端子をさらに備え、
前記第2供給端子と前記第2端子部との導通接合は、前記第2供給端子の一部と前記第2端子部の一部とが融接された第2溶接部を備えている、請求項1ないし請求項4のいずれかに記載の半導体装置。
【請求項6】
前記第2溶接部は、前記第1方向において、前記第2供給端子を貫通し、前記第2端子部の途中深さまで融接されている、請求項5に記載の半導体装置。
【請求項7】
前記第2供給端子と前記第2端子部との導通接合は、レーザ溶接であり、前記第2溶接部の表面は平坦でなく、前記第2端子部の表面よりも盛り上がる部分を有する、請求項5または請求項6に記載の半導体装置。
【請求項8】
前記第2溶接部は、前記第1方向に見て環状の外周縁と、前記第1方向に見て円形状のクレータ部と、を有しており、
前記第2溶接部において、前記クレータ部の直径は、前記外周縁の半径よりも小さい、請求項5ないし請求項7のいずれかに記載の半導体装置。
【請求項9】
前記第1供給端子と前記第2供給端子とは、前記第1方向に見て、互いに重なる、請求項5ないし請求項8のいずれかに記載の半導体装置。
【請求項10】
前記第1供給端子および前記第2供給端子の各々は、金属を含む、請求項5ないし請求項9のいずれかに記載の半導体装置。
(【請求項11】以降は省略されています)
発明の詳細な説明
【技術分野】
【0001】
本開示は、第1金属部材と第2金属部材とが接合された接合構造体、当該接合構造体を備える半導体装置、および、第1金属部材と第2金属部材との接合方法に関する。
続きを表示(約 1,300 文字)
【背景技術】
【0002】
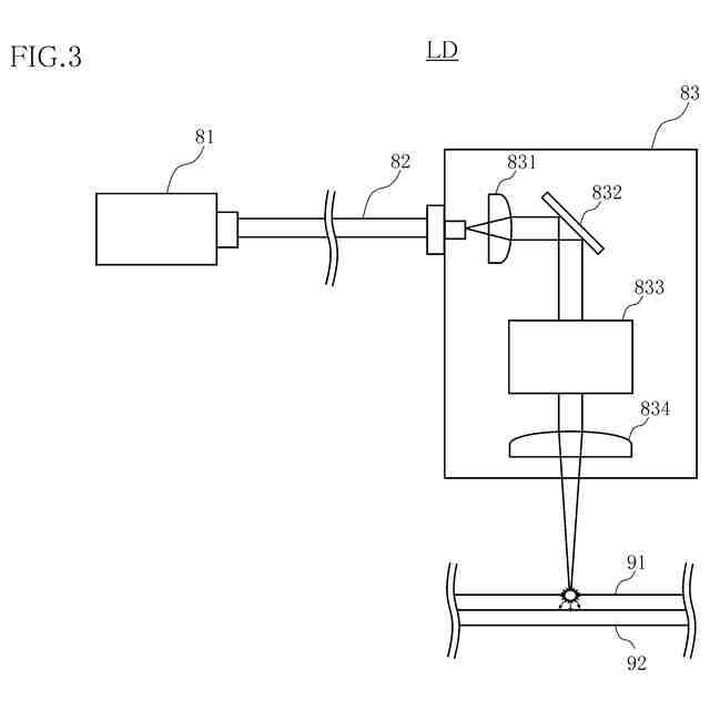
近年、半導体装置において、大電流化、高効率化に伴い、その内部での低抵抗化が求められている。このような要求に対して、2つの金属部材間を、ボンディングワイヤなどを用いずに、直接接合する手法が開発されている。たとえば、特許文献1には、2つの金属部材(金属端子および金属板)を、超音波接合によって接合する技術が開示されている。
【先行技術文献】
【特許文献】
【0003】
特開2016-221527号公報
【発明の概要】
【発明が解決しようとする課題】
【0004】
超音波接合においては、一方の金属部材を他方の金属部材に押し付けつつ、超音波振動を加えることで、2つの金属部材を接合する。しかしながら、超音波接合においては、2つの金属部材同士が擦れ合うため、各金属部材が摩耗する場合がある。このような表面損傷は、半導体装置の性能低下の原因となる。
【0005】
本開示は、上記課題に鑑みて考え出されたものであり、その目的は、2つの金属部材間の接合による表面損傷の抑制を図った接合構造体を提供することにある。また、その接合構造体を備える半導体装置、および、2つの金属部材間の接合方法を提供することにある。
【課題を解決するための手段】
【0006】
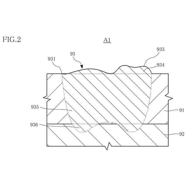
本開示の第1の側面によって提供される接合構造体は、第1金属部材と第2金属部材とが第1方向に見て重なっており、前記第1金属部材と前記第2金属部材とが接合された接合構造体であって、前記第1金属部材と前記第2金属部材とが重なった領域において、前記第1金属部材および前記第2金属部材の一部ずつが融接された溶接部を備えており、前記溶接部は、前記第1方向に見て、環状の外周縁と、前記第1方向に見て、各々が前記溶接部の内方から前記外周縁に向けて延びる複数の線状痕と、を有しており、前記複数の線状痕の各々は、前記外周縁に沿う環状方向の一方に向かって膨らむように湾曲している。
【0007】
前記接合構造体の好ましい実施の形態においては、前記外周縁は、第1基準点を中心とする円環状であり、前記複数の線状痕の各々は、前記第1基準点から前記外周縁に向けて延びており、かつ、前記外周縁の周方向の一方に向かって膨らんでいる。
【0008】
前記接合構造体の好ましい実施の形態においては、前記溶接部は、前記第1方向に見て円形状のクレータ部を、さらに有しており、前記クレータ部の直径は、前記外周縁の半径よりも小さい。
【0009】
前記接合構造体の好ましい実施の形態においては、前記クレータ部は、前記第1方向に見た中心が前記第1基準点と前記外周縁とを結ぶ線分の中央部分に位置する。
【0010】
前記接合構造体の好ましい実施の形態においては、前記複数の線状痕は、前記第1方向に見て円弧状であり、前記複数の線状痕のうちの一部の線状痕は、前記周方向の他方に位置するほど、曲率半径が小さくなる。
(【0011】以降は省略されています)
この特許をJ-PlatPat(特許庁公式サイト)で参照する
関連特許
ローム株式会社
半導体装置
7日前
ローム株式会社
半導体装置
23日前
ローム株式会社
半導体装置
7日前
ローム株式会社
半導体装置
7日前
ローム株式会社
半導体装置
28日前
ローム株式会社
半導体装置
28日前
ローム株式会社
半導体装置
23日前
ローム株式会社
半導体装置
28日前
ローム株式会社
半導体装置
15日前
ローム株式会社
半導体装置
今日
ローム株式会社
電源制御装置
23日前
ローム株式会社
信号伝達装置
23日前
ローム株式会社
定電圧生成回路
7日前
ローム株式会社
半導体集積回路
7日前
ローム株式会社
半導体集積回路
8日前
ローム株式会社
定電圧生成回路
7日前
ローム株式会社
半導体モジュール
16日前
ローム株式会社
半導体メモリ装置
1か月前
ローム株式会社
モータドライバ回路
23日前
ローム株式会社
比較回路、半導体装置
7日前
ローム株式会社
逐次比較型AD変換回路
15日前
ローム株式会社
サーマルプリントヘッド
7日前
ローム株式会社
電源制御装置及び電源装置
今日
ローム株式会社
半導体装置およびシステム
15日前
ローム株式会社
監視回路及びレジスタ制御装置
7日前
ローム株式会社
昇圧型スイッチングレギュレータ
9日前
ローム株式会社
信号受信装置、IC及び電気機器
21日前
ローム株式会社
電源制御装置、スイッチング電源
今日
ローム株式会社
電圧調整装置及び電荷蓄積システム
9日前
ローム株式会社
モータドライバ回路および駆動方法
8日前
ローム株式会社
半導体装置および半導体装置の製造方法
8日前
ローム株式会社
半導体装置および半導体装置の製造方法
28日前
ローム株式会社
検出回路、信号伝達装置、電子機器、車両
7日前
ローム株式会社
サーマルプリントヘッド及びその製造方法
7日前
ローム株式会社
半導体装置、および半導体装置の製造方法
28日前
ローム株式会社
力率改善回路、制御装置、および電子機器
28日前
続きを見る
他の特許を見る