TOP
|
特許
|
意匠
|
商標
特許ウォッチ
Twitter
他の特許を見る
10個以上の画像は省略されています。
公開番号
2025157984
公報種別
公開特許公報(A)
公開日
2025-10-16
出願番号
2024060390
出願日
2024-04-03
発明の名称
二次電池
出願人
株式会社村田製作所
代理人
個人
,
個人
主分類
H01M
50/186 20210101AFI20251008BHJP(基本的電気素子)
要約
【課題】電解液の漏液をより抑制する二次電池を提供する。
【解決手段】一端側に開口部分を有する外装体と、開口部分に配置される安全弁と、外装体と安全弁との間に介在するガスケットとを備え、安全弁は、セーフティカバーと、セーフティカバーに積層して積層方向にてセーフティカバー上に位置する外部端子とを有し、ガスケットは、第1ガスケットと、第1ガスケットの端面に接触しかつ積層方向にて第1ガスケット上に位置する第2ガスケットとを有し、ならびに安全弁の端部を覆い、第1ガスケットと第2ガスケットとの接触面が、断面視で、外部端子の端面から上側に延在する第1仮想面にまたは第1仮想面よりも外側に位置し、かつセーフティカバーの下側主面から下側主面の延在方向に延在する第2仮想面にまたは第2仮想面の上方に位置する、二次電池。
【選択図】図3
特許請求の範囲
【請求項1】
一端側に開口部分を有する外装体と、前記開口部分に配置される安全弁と、前記外装体と前記安全弁との間に介在するガスケットとを備え、
前記安全弁は、セーフティカバーと、前記セーフティカバーに積層して積層方向にて前記セーフティカバー上に位置する外部端子とを有し、
前記ガスケットは、第1ガスケットと、前記第1ガスケットの端面に接触しかつ積層方向にて前記第1ガスケット上に位置する第2ガスケットとを有し、ならびに前記安全弁の端部を覆い、
前記第1ガスケットと前記第2ガスケットとの接触面が、断面視で、前記外部端子の端面から上側に延在する第1仮想面にまたは前記第1仮想面よりも外側に位置し、かつ前記セーフティカバーの下側主面から該下側主面の延在方向に延在する第2仮想面にまたは前記第2仮想面の上方に位置する、二次電池。
続きを表示(約 790 文字)
【請求項2】
前記安全弁の前記端部において、前記外部端子の前記端面と前記セーフティカバーの端面とが面一である、請求項1に記載の二次電池。
【請求項3】
断面視で、前記接触面が屈曲点を有する、請求項1または2に記載の二次電池。
【請求項4】
前記安全弁の前記端部において、前記ガスケットと接触する前記セーフティカバーの前記下側主面がアールを設けるように延在して前記外部端子の前記端面および上側主面を覆う、請求項1に記載の二次電池。
【請求項5】
前記ガスケットは、断面視で上下方向に2つの湾曲部を有するように前記安全弁の前記端部を覆い、
前記セーフティカバーのアール半径は、前記2つの湾曲部のうち相対的に上側に位置する第1湾曲部における前記外装体の内表面と接触する前記ガスケットの外表面のアール半径の80%~100%である、請求項4に記載の二次電池。
【請求項6】
前記第2ガスケットが前記外部端子の上側主面に接する、請求項1または2に記載の二次電池。
【請求項7】
前記第1ガスケットが前記セーフティカバーの下側主面に接する、請求項1または2に記載の二次電池。
【請求項8】
断面視で、前記接触面が、前記外装体の前記一端よりも内側に位置する、請求項1または2に記載の二次電池。
【請求項9】
前記ガスケットが、前記第1ガスケットと前記第2ガスケットを有するガスケット複合体である、請求項1または2に記載の二次電池。
【請求項10】
断面視で、前記第1ガスケットの第1断面積と前記第2ガスケットの第2断面積との比(第1断面積:第2面積)は、4:6~6:4である、請求項1または2に記載の二次電池。
(【請求項11】以降は省略されています)
発明の詳細な説明
【技術分野】
【0001】
本開示は、二次電池に関する。
続きを表示(約 1,800 文字)
【背景技術】
【0002】
電池は、化学変化などによるエネルギーを電気エネルギーとして取り出すことが可能である。特に、二次電池は、いわゆる蓄電池ゆえ充電および放電の繰り返しが可能であり、様々な用途に用いられている。例えば、携帯電話、スマートフォンおよびノートパソコンなどのモバイル機器に電池が用いられている。
【0003】
従来、このような二次電池は、例えば、特許文献1に開示されている。特許文献1に記載の二次電池は、正極、負極および電解液を含む電極組立体と、電池素子を収容する円筒状の缶と、電池の高圧ガスにより破裂するように所定のノッチが形成されている安全ベントと、安全弁の外周面に沿って接続される突出上の上端キャップと、上端キャップの外周面に装着されているガスケットとを備える。
【先行技術文献】
【特許文献】
【0004】
特開2024-517468号公報
【発明の概要】
【発明が解決しようとする課題】
【0005】
ところで、本発明者は、鋭意検討した結果、特許文献1に記載の二次電池は、電解液の漏液防止について、依然として改善する余地があることを見出した。
【0006】
本発明者は、上記課題に鑑みてなされたものである。即ち、本開示の主たる目的は、電解液の漏液をより抑制する二次電池を提供することである。
【課題を解決するための手段】
【0007】
本発明者は、従来技術の延長線上で対応するのではなく、新たな方向で対処することによって上記課題の解決を試みた。その結果、上記主たる目的が達成された本開示に係る電池を完成するに至った。すなわち、本開示は、以下の実施形態を含む。
【0008】
本開示の一実施形に係る二次電池は、
一端側に開口部分を有する外装体と、前記開口部分に配置された安全弁と、前記外装体と前記安全弁との間に介在するガスケットとを備え、
前記安全弁は、セーフティカバーと、前記セーフティカバーに積層して積層方向にて前記セーフティカバー上に位置する外部端子とを有し、
前記ガスケットは、第1ガスケットと、前記第1ガスケットの端面に接触しかつ積層方向にて前記第1ガスケット上に位置する第2ガスケットとを有し、ならびに前記安全弁の端部を覆い、
前記第1ガスケットと前記第2ガスケットとの接触面が、断面視で、前記外部端子の端面から上側に延在する第1仮想面にまたは前記第1仮想面よりも外側に位置し、かつ前記セーフティカバーの下側主面から該下側主面の延在方向に延在する第2仮想面にまたは前記第2仮想面の上方に位置する。
【発明の効果】
【0009】
本開示の一実施形態に係る二次電池は、電解液の漏液をより抑制する。
【図面の簡単な説明】
【0010】
図1は、本開示の一実施形態に係る二次電池の外観を示す模式斜視図である。
図2は、本開示の一実施形態に係る二次電池の内部構成を示す模式図である。
図3は、本開示の一実施形態に係る二次電池の上部を示す断面図である。
図4は、本開示の一実施形態に係る二次電池の安全弁の構成部材および関連部材を展開状態で示した模式的分解斜視図である。
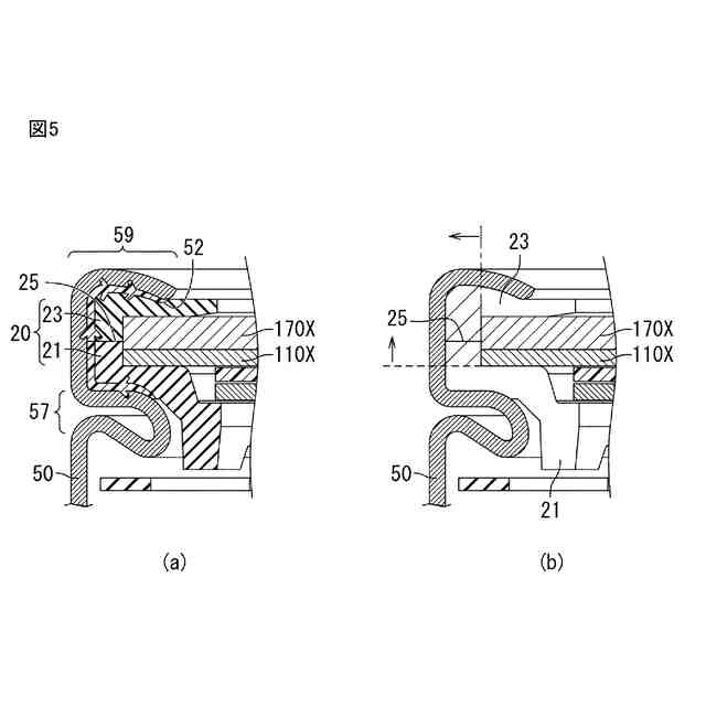
図5(a)および(b)は、本開示の一実施形態に係る二次電池におけるガスケットを示す断面図である。
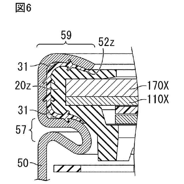
図6は、従来の電池におけるガスケットを示す模式断面図である。
図7は、本開示の一実施形態に係る二次電池における理想状態の電池系を示す模式モデル図である。
図8は、従来の電池系を示す模式モデル図である。
図9は、安全弁動作時における本開示の一実施形態に係る二次電池の上部を示す断面図である。
図10は、本開示の一実施形態に係る二次電池の製造方法を説明するための図である。
図11(a)~(d)は、本開示の別の実施形態に係る電池におけるガスケットを示す断面図である。
図12(a)~(d)は、比較例1~4のガスケットを示す断面図である。
図13は、本開示の別の実施形態に係る電池におけるガスケットを示す断面図である。
【発明を実施するための形態】
(【0011】以降は省略されています)
この特許をJ-PlatPat(特許庁公式サイト)で参照する
関連特許
株式会社村田製作所
電池パック
今日
株式会社村田製作所
フィルタ装置
2日前
株式会社村田製作所
外観検査装置
8日前
株式会社村田製作所
電力増幅回路
8日前
株式会社村田製作所
インダクタ部品
10日前
株式会社村田製作所
インダクタ部品
今日
株式会社村田製作所
インダクタ部品
今日
株式会社村田製作所
インダクタ部品
今日
株式会社村田製作所
インダクタ部品
今日
株式会社村田製作所
インダクタ部品
今日
株式会社村田製作所
高周波モジュール
8日前
株式会社村田製作所
積層体の切断装置
2日前
株式会社村田製作所
積層体の切断装置
2日前
株式会社村田製作所
正極及び二次電池
今日
株式会社村田製作所
積層セラミックコンデンサ
今日
株式会社村田製作所
積層セラミックコンデンサ
今日
株式会社村田製作所
熱拡散デバイス及び電子機器
2日前
株式会社村田製作所
コイル部品およびその製造方法
今日
株式会社村田製作所
高周波モジュール及び通信装置
8日前
株式会社村田製作所
インダクタ部品およびバックコンバータ
今日
株式会社村田製作所
積層セラミックコンデンサおよびその製造方法
3日前
株式会社村田製作所
筋振動検知センサ、電気刺激装置及び筋振動検知方法
3日前
株式会社村田製作所
光変調器
2日前
株式会社村田製作所
光変調器
2日前
株式会社村田製作所
光変調器
2日前
株式会社村田製作所
電子部品
2日前
株式会社村田製作所
積層型コイル部品
10日前
株式会社村田製作所
押圧位置推定システム、押圧位置推定方法、及び押圧位置推定プログラム
今日
株式会社村田製作所
スイッチ付き同軸コネクタおよび該スイッチ付き同軸コネクタを備える同軸コネクタセット
8日前
株式会社村田製作所
スイッチ付き同軸コネクタおよび該スイッチ付き同軸コネクタを備える同軸コネクタセット
8日前
APB株式会社
蓄電セル
14日前
東ソー株式会社
絶縁電線
16日前
個人
フレキシブル電気化学素子
28日前
マクセル株式会社
電源装置
8日前
株式会社ユーシン
操作装置
28日前
日新イオン機器株式会社
イオン源
24日前
続きを見る
他の特許を見る