TOP
|
特許
|
意匠
|
商標
特許ウォッチ
Twitter
他の特許を見る
10個以上の画像は省略されています。
公開番号
2025165672
公報種別
公開特許公報(A)
公開日
2025-11-05
出願番号
2024069893
出願日
2024-04-23
発明の名称
フィルタ装置
出願人
株式会社村田製作所
代理人
弁理士法人深見特許事務所
主分類
H03H
7/09 20060101AFI20251028BHJP(基本電子回路)
要約
【課題】複数の共振器を含むフィルタ装置において、非通過帯域の減衰特性を向上させる。
【解決手段】フィルタ装置100は、積層体110と、入力端子T1と、出力端子T2と、共振器RC1~RC4を含むフィルタ部61と、共振器RC5~RC8を含むフィルタ部62とを備える。フィルタ部61において、入力端子T1からの信号は、共振器RC1、共振器RC2、共振器RC3および共振器RC4の順に経由してフィルタ部62へ伝達される。フィルタ部62において、フィルタ部61からの信号は、共振器RC5、共振器RC6、共振器RC7および共振器RC8の順に経由して出力端子T2へ伝達される。共振器RC3と共振器RC6との間には飛び越し結合が形成される。共振器RC4と共振器RC5との間の結合、および、共振器RC3と共振器RC6との間の結合のうち、一方の主たる結合は磁気結合であり、他方の主たる結合は電界結合である。
【選択図】図2
特許請求の範囲
【請求項1】
第1主面および第2主面を含む誘電体基板と、
前記第2主面に配置された入力端子および出力端子と、
前記誘電体基板内に配置された第1共振器、第2共振器、第3共振器および第4共振器を含む第1フィルタ部と、
前記誘電体基板内に配置された第5共振器、第6共振器、第7共振器および第8共振器を含む第2フィルタ部とを備え、
前記第1フィルタ部において、前記入力端子から伝達された信号は、前記第1共振器、前記第2共振器、前記第3共振器および前記第4共振器の順に経由して前記第2フィルタ部へと伝達され、
前記第2フィルタ部において、前記第1フィルタ部から伝達された信号は、前記第5共振器、前記第6共振器、前記第7共振器および前記第8共振器の順に経由して前記出力端子へと伝達され、
前記第3共振器と前記第6共振器との間には飛び越し結合が形成されており、
前記第4共振器と前記第5共振器との間の結合、および、前記第3共振器と前記第6共振器との間の結合のうち、一方の主たる結合は磁気結合であり、他方の主たる結合は電界結合である、フィルタ装置。
続きを表示(約 1,000 文字)
【請求項2】
前記第1フィルタ部における前記第1共振器と前記第4共振器との間、および、前記第2フィルタ部における前記第5共振器と前記第8共振器との間には、飛び越し結合が形成されている、請求項1に記載のフィルタ装置。
【請求項3】
前記第1共振器と前記第4共振器との間の飛び越し結合、および、前記第5共振器と前記第8共振器との間の飛び越し結合の主たる結合は磁気結合である、請求項2に記載のフィルタ装置。
【請求項4】
前記第1共振器と前記第4共振器との間の飛び越し結合、および、前記第5共振器と前記第8共振器との間の飛び越し結合の主たる結合は電界結合である、請求項2に記載のフィルタ装置。
【請求項5】
前記第1主面に対向して配置された第1接地電極と、
前記第1接地電極と前記第2主面との間に前記第2主面に対向して配置された第2接地電極とをさらに備え、
各共振器は、前記第1接地電極と前記第2接地電極との間に配置されている、請求項1~請求項4のいずれか1項に記載のフィルタ装置。
【請求項6】
各共振器は、
一方端が前記第1接地電極に接続されたビアと、
前記ビアの他方端に接続され、前記第2接地電極に対向して配置された平板電極とを含む、請求項5に記載のフィルタ装置。
【請求項7】
前記第1フィルタ部および前記第2フィルタ部の各々において、主たる結合が磁気結合である2つの共振器のビア同士を接続するインダクタ電極をさらに備える、請求項6に記載のフィルタ装置。
【請求項8】
前記第1フィルタ部および前記第2フィルタ部の各々において、主たる結合が磁気結合である2つの共振器のビア間の距離は、主たる結合が電界結合である2つの共振器のビア間の距離よりも短い、請求項6に記載のフィルタ装置。
【請求項9】
前記第1フィルタ部および前記第2フィルタ部の各々において、主たる結合が電界結合である2つの共振器の平板電極に対向して配置されたキャパシタ電極をさらに備える、請求項6に記載のフィルタ装置。
【請求項10】
前記誘電体基板は、複数の誘電体層が積層された多層構造を有しており、
前記誘電体基板における、前記キャパシタ電極と前記平板電極との間の層に配置されている誘電体層の誘電率は、その他の層に配置されている誘電体層の誘電率よりも大きい、請求項9に記載のフィルタ装置。
(【請求項11】以降は省略されています)
発明の詳細な説明
【技術分野】
【0001】
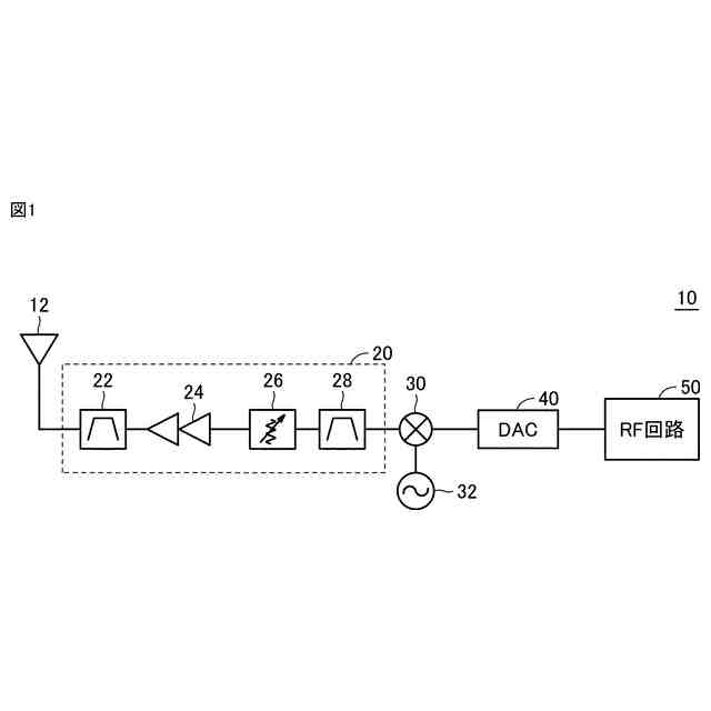
本開示はフィルタ装置に関し、より特定的には、バンドパスフィルタにおける非通過帯域の減衰特性を向上させる技術に関する。
続きを表示(約 2,500 文字)
【背景技術】
【0002】
特許第7111214号公報(特許文献1)および特開2020-198482号公報(特許文献2)には、入力端子と出力端子との間に複数のLC並列共振器の多段構成を有するバンドパスフィルタが開示されている。これらの文献においては、入力端子から出力端子まで、複数の共振器を信号が順次伝達される主経路に対して、一部の共振器をバイパスする飛び越し結合を含む副経路が形成されている。このような飛び越し結合を含む副経路を形成することによって、非通過帯域において減衰極が追加されるため、副経路のない場合に比べて、非通過帯域における減衰特性を向上させることができる。
【先行技術文献】
【特許文献】
【0003】
特許第7111214号公報
特開2020-198482号公報
【発明の概要】
【発明が解決しようとする課題】
【0004】
特許第7111214号公報(特許文献1)の構成においては、入力端子に最も近い1段目の共振器および出力端子に最も近い最終段の共振器の部分において飛び越し結合が形成されており、中間段の共振器は入力端子から出力端子に向かう方向に順番に配置されている。このような構成においては、共振器の段数が多くなると、共振器同士の間隔が狭くなるため、中間段の共振器における結合度の調整範囲、ならびに飛び越し結合の設計の自由度が制限され得る。
【0005】
また、特開2020-198482号公報(特許文献2)の場合、信号の主伝達経路の方向が途中で反転するように共振器が配置された構成となっている。そのため、特許第7111214号公報(特許文献1)の構成に比べると、中間段における飛び越し結合の設計の自由度は緩和されている。しかしながら、入力端子および出力端子が隣接して配置されるため、入出力端子間のアイソレーションが低下しやすく、減衰特性の低下につながるおそれがある。
【0006】
本開示は、このような課題を解決するためになされたものであって、その目的は、複数の共振器を含むフィルタ装置において、非通過帯域の減衰特性を向上させることである。
【課題を解決するための手段】
【0007】
本開示のある局面に係るフィルタ装置は、第1主面および第2主面を含む誘電体基板と、第2主面に配置された入力端子および出力端子と、第1フィルタ部と、第2フィルタ部とを備える。第1フィルタ部は、誘電体基板内に配置された第1共振器、第2共振器、第3共振器および第4共振器を含む。第2フィルタ部は、誘電体基板内に配置された第5共振器、第6共振器、第7共振器および第8共振器を含む。第1フィルタ部において、入力端子から伝達された信号は、第1共振器、第2共振器、第3共振器および第4共振器の順に経由して第2フィルタ部へと伝達される。第2フィルタ部において、第1フィルタ部から伝達された信号は、第5共振器、第6共振器、第7共振器および第8共振器の順に経由して出力端子へと伝達される。第3共振器と第6共振器との間には飛び越し結合が形成されている。第4共振器と第5共振器との間の結合、および、第3共振器と第6共振器との間の結合のうち、一方の主たる結合は磁気結合であり、他方の主たる結合は電界結合である。
【0008】
本開示の他の局面に係るフィルタ装置は、入力端子と、出力端子と、第1インダクタ回路~第4インダクタ回路と、第1キャパシタ回路~第3キャパシタ回路と、第1キャパシタと、第2キャパシタとを備える。第1キャパシタは、入力端子と接地電位との間に接続されている。第2キャパシタは、出力端子と接地電位との間に接続されている。第1インダクタ回路は、入力端子と第1キャパシタ回路との間に接続されている。第2インダクタ回路は、第1キャパシタ回路と第2キャパシタ回路との間に接続されている。第2インダクタ回路は、第2キャパシタ回路と第3キャパシタ回路との間に接続されている。第4インダクタ回路は、第3キャパシタ回路と出力端子との間に接続されている。第1インダクタ回路と第2インダクタ回路、第2インダクタ回路と第3インダクタ回路、および、第3インダクタ回路と第4インダクタ回路とは磁気結合している。
【発明の効果】
【0009】
本開示に係るフィルタ装置によれば、複数の共振器を含むフィルタ装置において、非通過帯域の減衰特性を向上させることができる。
【図面の簡単な説明】
【0010】
実施の形態1のフィルタ装置が適用される高周波フロントエンド回路を有する通信装置のブロック図である。
実施の形態1のフィルタ装置のトポロジを説明するための図である。
実施の形態1のフィルタ装置の等価回路図である。
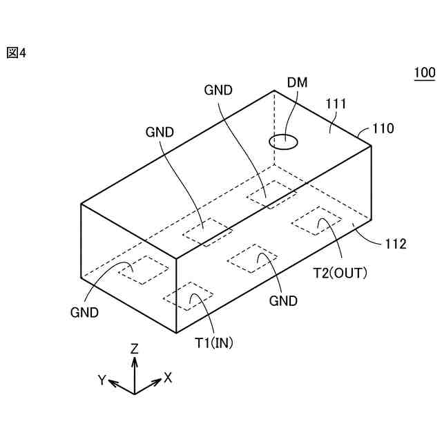
実施の形態1のフィルタ装置の外形斜視図である。
図4のフィルタ装置の積層構造の一例を示す分解斜視図である。
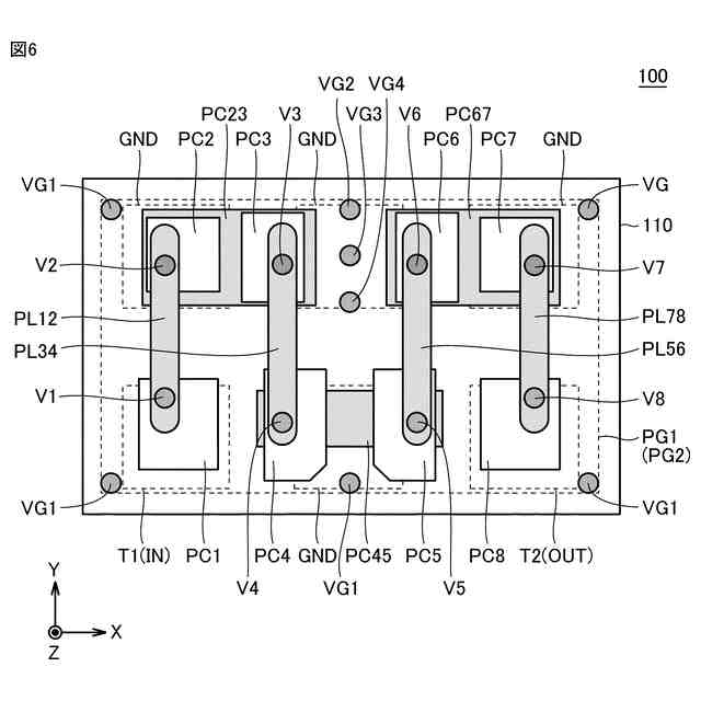
図4のフィルタ装置の上面図である。
比較例のフィルタ装置のトポロジを説明するための図である。
実施の形態1および比較例のフィルタ装置のフィルタ特性を説明するための図である。
共振器間の磁気結合を調整するための構成例を示す図である。
接地ビアを用いて共振器間の磁気結合を調整する第1例を示す図である。
接地ビアを用いて共振器間の磁気結合を調整する第2例を示す図である。
接地ビアを用いて共振器間の磁気結合を調整する第3例を示す図である。
共振器間の電界結合を調整するための構成例を示す図である。
変形例1のフィルタ装置の等価回路図である。
変形例2のフィルタ装置における共振器の構成を説明するための図である。
実施の形態2のフィルタ装置のトポロジを説明するための図である。
実施の形態3のフィルタ装置のトポロジを説明するための図である。
【発明を実施するための形態】
(【0011】以降は省略されています)
この特許をJ-PlatPat(特許庁公式サイト)で参照する
関連特許
株式会社村田製作所
切断装置
1日前
株式会社村田製作所
弾性波装置
2日前
株式会社村田製作所
超音波ノズル
1日前
株式会社村田製作所
指装着デバイス
15日前
株式会社村田製作所
インダクタ部品
10日前
株式会社村田製作所
インダクタ部品
10日前
株式会社村田製作所
健康管理システム
3日前
株式会社村田製作所
高周波電力増幅器
1日前
株式会社村田製作所
高周波電力増幅器
1日前
株式会社村田製作所
固体電解コンデンサ
17日前
株式会社村田製作所
ニッケル粉末の製造方法
1日前
株式会社村田製作所
ニッケル粉末の製造方法
1日前
株式会社シマノ
電動リール
9日前
株式会社村田製作所
フィルタ装置及びマルチプレクサ
9日前
株式会社村田製作所
健康管理システム及び健康管理方法
3日前
株式会社村田製作所
振動装置および触覚提示モジュール
2日前
株式会社村田製作所
半導体装置及び半導体装置の製造方法
9日前
株式会社村田製作所
半導体装置及び半導体装置の製造方法
9日前
株式会社村田製作所
検出装置、検出方法およびプログラム
9日前
株式会社村田製作所
コイル部品および、これを含むフィルタ回路
3日前
株式会社村田製作所
方向性結合器、高周波モジュール及び通信装置
17日前
株式会社村田製作所
インダクタ部品
3日前
株式会社村田製作所
積層コイル部品
11日前
株式会社村田製作所
ゲルアクチュエータの制御方法およびゲルアクチュエータの制御装置
10日前
株式会社村田製作所
健康管理システム及び健康管理方法
3日前
株式会社蜂鳥
増幅器
3日前
エイブリック株式会社
増幅器
1か月前
エイブリック株式会社
増幅器
1か月前
エイブリック株式会社
増幅回路
1か月前
日本電波工業株式会社
圧電振動片
1か月前
エイブリック株式会社
電圧検出器
3か月前
株式会社大真空
圧電振動デバイス
4か月前
日本電波工業株式会社
水晶振動子
22日前
日本電波工業株式会社
圧電デバイス
3か月前
ローム株式会社
オペアンプ
3か月前
ローム株式会社
オペアンプ
3か月前
続きを見る
他の特許を見る