TOP
|
特許
|
意匠
|
商標
特許ウォッチ
Twitter
他の特許を見る
10個以上の画像は省略されています。
公開番号
2025164484
公報種別
公開特許公報(A)
公開日
2025-10-30
出願番号
2024068489
出願日
2024-04-19
発明の名称
高周波モジュール及び通信装置
出願人
株式会社村田製作所
代理人
個人
,
個人
主分類
H04B
1/38 20150101AFI20251023BHJP(電気通信技術)
要約
【課題】送信フィルタの熱による劣化及び/又は破損を抑制することができる高周波モジュールを提供する。
【解決手段】高周波モジュール1は、モジュール基板90と、モジュール基板90に配置される送信フィルタ30と、モジュール基板90に配置され、温度センサ40を含む集積回路81と、送信フィルタ30及び集積回路81の少なくとも一部を覆う樹脂部材91及び92と、樹脂部材91及び92の表面の少なくとも一部を覆う金属シールド93と、を備え、送信フィルタ30及び集積回路81の各々は、金属シールド93に接触している。
【選択図】図4
特許請求の範囲
【請求項1】
モジュール基板と、
前記モジュール基板に配置される送信フィルタと、
前記モジュール基板に配置され、温度センサを含む集積回路と、
前記送信フィルタ及び前記集積回路の少なくとも一部を覆う樹脂部材と、
前記樹脂部材の表面の少なくとも一部を覆う金属シールドと、を備え、
前記送信フィルタ及び前記集積回路の各々は、前記金属シールドに接触している、
高周波モジュール。
続きを表示(約 940 文字)
【請求項2】
前記高周波モジュールは、さらに、前記モジュール基板に配置され、前記送信フィルタに接続される電力増幅器を備え、
前記電力増幅器は、前記金属シールドに接触していない、
請求項1に記載の高周波モジュール。
【請求項3】
前記モジュール基板は、互いに対向する第1主面及び第2主面を有し、
前記送信フィルタ及び前記電力増幅器は、前記第1主面上に配置され、
前記集積回路は、前記第2主面上に配置されている、
請求項2に記載の高周波モジュール。
【請求項4】
前記高周波モジュールは、さらに、前記送信フィルタとアンテナ接続端子との間に接続され、前記集積回路に含まれるスイッチ回路を備える、
請求項3に記載の高周波モジュール。
【請求項5】
前記集積回路内において、前記スイッチ回路よりも前記温度センサの方が前記金属シールドに近い、
請求項4に記載の高周波モジュール。
【請求項6】
前記高周波モジュールは、さらに、前記電力増幅器を制御するよう構成され、前記集積回路に含まれるPA制御回路を備える、
請求項3~5のいずれか1項に記載の高周波モジュール。
【請求項7】
前記集積回路内において、前記PA制御回路よりも前記温度センサの方が前記金属シールドに近い、
請求項6に記載の高周波モジュール。
【請求項8】
前記モジュール基板は、互いに対向する第1主面及び第2主面を有し、
前記送信フィルタ、前記集積回路及び前記電力増幅器は、前記第1主面上に配置されている、
請求項2に記載の高周波モジュール。
【請求項9】
前記高周波モジュールは、さらに、前記電力増幅器を制御するよう構成され、前記集積回路に含まれるPA制御回路を備える、
請求項8に記載の高周波モジュール。
【請求項10】
前記集積回路内において、前記PA制御回路よりも前記温度センサの方が前記送信フィルタに近い、
請求項9に記載の高周波モジュール。
(【請求項11】以降は省略されています)
発明の詳細な説明
【技術分野】
【0001】
本発明は、高周波モジュール及び通信装置に関する。
続きを表示(約 1,300 文字)
【背景技術】
【0002】
特許文献1には、電力増幅器上に積み重ねられたPA制御回路を備える高周波モジュールにおいて、電力増幅器の温度を測定するための温度センサをPA制御回路に含むことが開示されている。
【先行技術文献】
【特許文献】
【0003】
特開2022-07366号公報
【発明の概要】
【発明が解決しようとする課題】
【0004】
しかしながら、従来の高周波モジュールでは、送信フィルタの温度を測定することができず、送信フィルタの熱による劣化及び/又は破損を抑制することが難しい場合がある。
【0005】
そこで、本発明は、送信フィルタの熱による劣化及び/又は破損を抑制することができる高周波モジュール及び通信装置を提供する。
【課題を解決するための手段】
【0006】
本発明の一態様に係る高周波モジュールは、モジュール基板と、モジュール基板に配置される送信フィルタと、モジュール基板に配置され、温度センサを含む集積回路と、送信フィルタ及び集積回路の少なくとも一部を覆う樹脂部材と、樹脂部材の表面の少なくとも一部を覆う金属シールドと、を備え、送信フィルタ及び集積回路の各々は、金属シールドに接触している。
【0007】
本発明の一態様に係る通信装置は、高周波信号を処理する信号処理回路と、信号処理回路とアンテナとの間で高周波信号を伝送するよう構成された上記高周波モジュールと、を備える。
【発明の効果】
【0008】
本発明によれば、送信フィルタの熱による劣化及び/又は破損を抑制することができる。
【図面の簡単な説明】
【0009】
図1は、実施の形態1に係る通信装置の回路構成図である。
図2は、実施の形態1に係る高周波モジュールの平面図である。
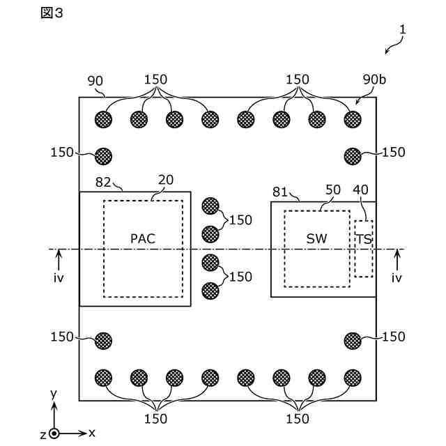
図3は、実施の形態1に係る高周波モジュールの平面図である。
図4は、実施の形態1に係る高周波モジュールの断面図である。
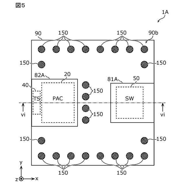
図5は、実施の形態2に係る高周波モジュールの平面図である。
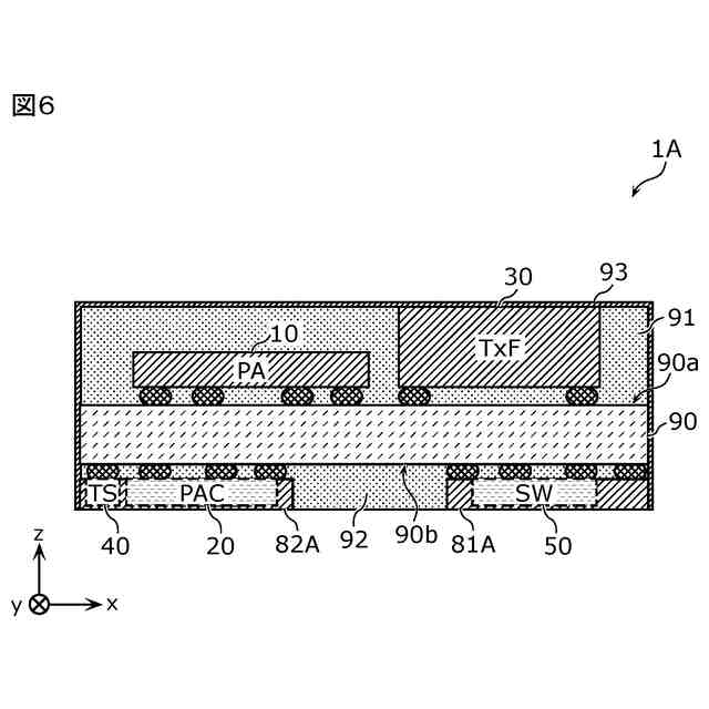
図6は、実施の形態2に係る高周波モジュールの断面図である。
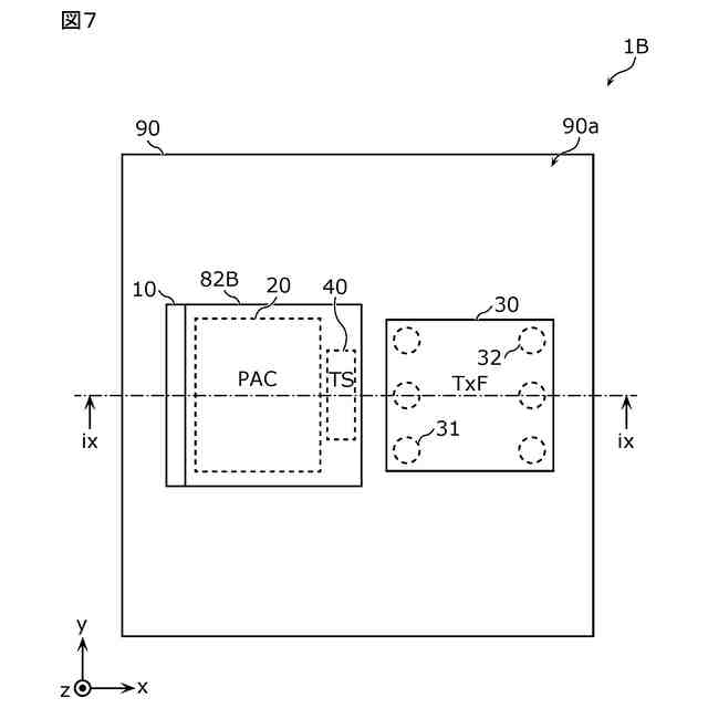
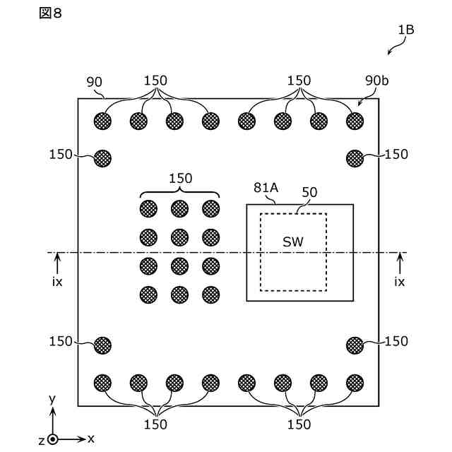
図7は、実施の形態3に係る高周波モジュールの平面図である。
図8は、実施の形態3に係る高周波モジュールの平面図である。
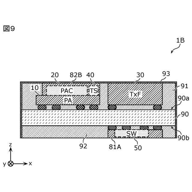
図9は、実施の形態3に係る高周波モジュールの断面図である。
図10は、実施の形態4に係る高周波モジュールの平面図である。
図11は、実施の形態4に係る高周波モジュールの平面図である。
図12は、実施の形態4に係る高周波モジュールの断面図である。
【発明を実施するための形態】
【0010】
以下、本発明の実施の形態について、図面を用いて詳細に説明する。なお、以下で説明する実施の形態は、いずれも包括的又は具体的な例を示すものである。以下の実施の形態で示される数値、形状、材料、構成要素、構成要素の配置及び接続形態などは、一例であり、本発明を限定する主旨ではない。
(【0011】以降は省略されています)
この特許をJ-PlatPat(特許庁公式サイト)で参照する
関連特許
株式会社村田製作所
電子部品
1か月前
株式会社村田製作所
測定装置
1か月前
株式会社村田製作所
移相回路
1か月前
株式会社村田製作所
二次電池
1か月前
株式会社村田製作所
電池パック
18日前
株式会社村田製作所
電池パック
1か月前
株式会社村田製作所
高周波回路
1か月前
株式会社村田製作所
コイル部品
1か月前
株式会社村田製作所
コイル部品
1か月前
株式会社村田製作所
電子聴診器
1か月前
株式会社村田製作所
ネブライザ
1か月前
株式会社村田製作所
コイル部品
1か月前
株式会社村田製作所
フィルタ装置
1か月前
株式会社村田製作所
外観検査装置
26日前
株式会社村田製作所
電力増幅回路
26日前
株式会社村田製作所
フィルタ装置
20日前
株式会社村田製作所
電力システム
1か月前
株式会社村田製作所
インダクタ部品
18日前
株式会社村田製作所
インダクタ部品
6日前
株式会社村田製作所
指装着デバイス
11日前
株式会社村田製作所
インダクタ部品
18日前
株式会社村田製作所
電池モジュール
1か月前
株式会社村田製作所
インダクタ部品
6日前
株式会社村田製作所
圧力センサ装置
1か月前
株式会社村田製作所
インダクタ部品
18日前
株式会社村田製作所
インダクタ部品
18日前
株式会社村田製作所
インダクタ部品
18日前
株式会社村田製作所
インダクタ部品
28日前
株式会社村田製作所
電子部品包装装置
1か月前
株式会社村田製作所
高周波モジュール
26日前
株式会社村田製作所
積層体の切断装置
20日前
株式会社村田製作所
積層体の切断装置
20日前
株式会社村田製作所
正極及び二次電池
18日前
株式会社村田製作所
伸縮性コイル部品
1か月前
株式会社村田製作所
固体電解コンデンサ
13日前
株式会社村田製作所
造粒粉及びインダクタ
1か月前
続きを見る
他の特許を見る