TOP
|
特許
|
意匠
|
商標
特許ウォッチ
Twitter
他の特許を見る
公開番号
2025160740
公報種別
公開特許公報(A)
公開日
2025-10-23
出願番号
2024063502
出願日
2024-04-10
発明の名称
伸縮性コイル部品
出願人
株式会社村田製作所
代理人
個人
,
個人
,
個人
主分類
H01F
17/06 20060101AFI20251016BHJP(基本的電気素子)
要約
【課題】伸縮性を有するコイル部品を提供すること。
【解決手段】本開示の一実施形態では、トロイダル方向に巻き回された金属線から構成されたコイルを備える、伸縮性コイル部品が提供される。
【選択図】図1A
特許請求の範囲
【請求項1】
トロイダル方向に巻き回された金属線から構成されたコイルを備える、伸縮性コイル部品。
続きを表示(約 640 文字)
【請求項2】
トロイダル状の伸縮性部材を更に備え、前記トロイダル状の伸縮性部材に前記金属線が巻き回される、請求項1に記載の伸縮性コイル部品。
【請求項3】
前記伸縮性部材が、トロイダル状のゴム部材または樹脂部材である、請求項2に記載の伸縮性コイル部品。
【請求項4】
前記樹脂部材がウレタン系樹脂部材である、請求項3に記載の伸縮性コイル部品。
【請求項5】
前記コイルに電流を流した状態にて、前記トロイダル方向に設けられた前記コイルの内側と外側を周回する第1磁界と、前記トロイダル方向に周回する第2磁界が生じる、請求項1に記載の伸縮性コイル部品。
【請求項6】
前記トロイダル方向に設けられた前記コイルの内側および外側の少なくとも一方を通る磁性コアを更に備え、前記磁性コアが伸縮性を有する、請求項1に記載の伸縮性コイル部品。
【請求項7】
前記磁性コアが、フェライト粉末を含有するウレタン系樹脂部材である、請求項6に記載の伸縮性コイル部品。
【請求項8】
伸縮性のインダクタである、請求項1に記載の伸縮性コイル部品。
【請求項9】
前記トロイダル方向に前記コイルが複数供され、前記複数のコイルが、相互に磁気的に結合可能である、請求項1に記載の伸縮性コイル部品。
【請求項10】
伸縮性のトランスである、請求項9に記載の伸縮性コイル部品。
発明の詳細な説明
【技術分野】
【0001】
本開示は、伸縮性コイル部品に関する。
続きを表示(約 1,000 文字)
【背景技術】
【0002】
従前において、可撓性を有するコイル部品が提供される場合がある。
【先行技術文献】
【特許文献】
【0003】
特開2015-115448号公報
【発明の概要】
【発明が解決しようとする課題】
【0004】
コイル部品を生体へ貼付け等する場合、可撓性に加え伸縮性も要求される場合が考えられる。そこで、本開示は、伸縮性を有するコイル部品を提供することを目的とする。
【課題を解決するための手段】
【0005】
上記目的を達成するために、本開示の一実施形態では、
トロイダル方向に巻き回された金属線から構成されたコイルを備える、伸縮性コイル部品が提供される。
【発明の効果】
【0006】
本開示の一実施形態に係る伸縮性コイル部品によれば、伸縮性を好適に供することが可能である。
【図面の簡単な説明】
【0007】
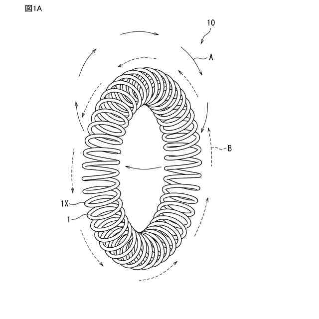
図1Aは、本開示の第1実施形態に係る伸縮性コイル部品を模式的に示す斜視図である。
図1Bは、本開示の第2実施形態に係る伸縮性コイル部品を模式的に示す斜視図である。
図2は、本開示の第3実施形態に係る伸縮性コイル部品を模式的に示す斜視図である。
図3は、本開示の第4実施形態に係る伸縮性コイル部品を模式的に示す斜視図である。
【発明を実施するための形態】
【0008】
以下、本開示の実施形態について、図面を用いて詳細に説明する。各々の実施形態では、その実施形態以前に説明した点と異なる点について主に説明する。特に、同様の構成による同様の作用効果については実施形態ごとには逐次言及しない。以下の実施形態における構成要素のうち、独立請求項に記載されていない構成要素については、任意の構成要素として説明される。また、図面に示される構成要素の大きさおよび大きさの比は、必ずしも厳密ではない。また、各図において、実質的に同一の構成に対しては同一の符号を付しており、重複する説明は省略又は簡略化する場合がある。
【0009】
[第1実施形態]
以下、図1Aを参照しながら、第1実施形態に係る伸縮性コイル部品の構成について説明する。
【0010】
図1Aは、本開示の第1実施形態に係る伸縮性コイル部品を模式的に示す斜視図である。
(【0011】以降は省略されています)
特許ウォッチbot のツイートを見る
この特許をJ-PlatPat(特許庁公式サイト)で参照する
関連特許
株式会社村田製作所
二次電池
1か月前
株式会社村田製作所
電子聴診器
1か月前
株式会社村田製作所
ネブライザ
1か月前
株式会社村田製作所
コイル部品
28日前
株式会社村田製作所
電池パック
12日前
株式会社村田製作所
電力システム
29日前
株式会社村田製作所
外観検査装置
20日前
株式会社村田製作所
電力増幅回路
20日前
株式会社村田製作所
フィルタ装置
14日前
株式会社村田製作所
インダクタ部品
12日前
株式会社村田製作所
インダクタ部品
22日前
株式会社村田製作所
インダクタ部品
今日
株式会社村田製作所
インダクタ部品
12日前
株式会社村田製作所
インダクタ部品
今日
株式会社村田製作所
インダクタ部品
12日前
株式会社村田製作所
インダクタ部品
12日前
株式会社村田製作所
指装着デバイス
5日前
株式会社村田製作所
インダクタ部品
12日前
株式会社村田製作所
積層体の切断装置
14日前
株式会社村田製作所
伸縮性コイル部品
27日前
株式会社村田製作所
高周波モジュール
20日前
株式会社村田製作所
正極及び二次電池
12日前
株式会社村田製作所
積層体の切断装置
14日前
株式会社村田製作所
固体電解コンデンサ
7日前
株式会社村田製作所
積層セラミック電子部品
26日前
株式会社村田製作所
積層セラミックコンデンサ
12日前
株式会社村田製作所
積層セラミックコンデンサ
12日前
株式会社村田製作所
熱拡散デバイス及び電子機器
14日前
株式会社村田製作所
高周波モジュール及び通信装置
20日前
株式会社村田製作所
コイル部品およびその製造方法
12日前
株式会社村田製作所
二次電池用負極および二次電池
27日前
株式会社村田製作所
インダクタ部品およびバックコンバータ
12日前
株式会社村田製作所
聴診デバイスおよび聴診システムに関する。
1か月前
株式会社村田製作所
積層セラミックコンデンサおよびその製造方法
15日前
株式会社村田製作所
方向性結合器、高周波モジュール及び通信装置
7日前
株式会社村田製作所
筋振動検知センサ、電気刺激装置及び筋振動検知方法
15日前
続きを見る
他の特許を見る