TOP
|
特許
|
意匠
|
商標
特許ウォッチ
Twitter
他の特許を見る
10個以上の画像は省略されています。
公開番号
2025167838
公報種別
公開特許公報(A)
公開日
2025-11-07
出願番号
2024072788
出願日
2024-04-26
発明の名称
積層セラミックコンデンサ
出願人
株式会社村田製作所
代理人
弁理士法人深見特許事務所
主分類
H01G
4/30 20060101AFI20251030BHJP(基本的電気素子)
要約
【課題】耐湿性の向上が図られた積層セラミックコンデンサを提供する。
【解決手段】積層セラミックコンデンサ100において、外部電極120、130は、第1端面115及び第2端面116各々に設けられ、複数の内部電極層151他と接続されている。長さ方向Lにおける素体部の中央部における、積層方向及び幅方向Wに沿う断面において、複数の内部電極層における幅方向Wの最大ずれ量は、5μm以下である。複数の内部電極層の各々の幅方向Wの両縁部155は、2本の直線部155aと、2本の曲線部155bとからなる。2本の直線部は、幅方向Wに互いに間隔をあけて長さ方向Lに直線状に延びている。2本の曲線部155bは、2本の直線部155aにそれぞれ接続されている。2本の曲線部155bは、長さ方向Lにおいて2本の直線部155aから離れるにしたがって幅方向Wにおいて互いに接近するように一定の曲率にて湾曲している。
【選択図】図6
特許請求の範囲
【請求項1】
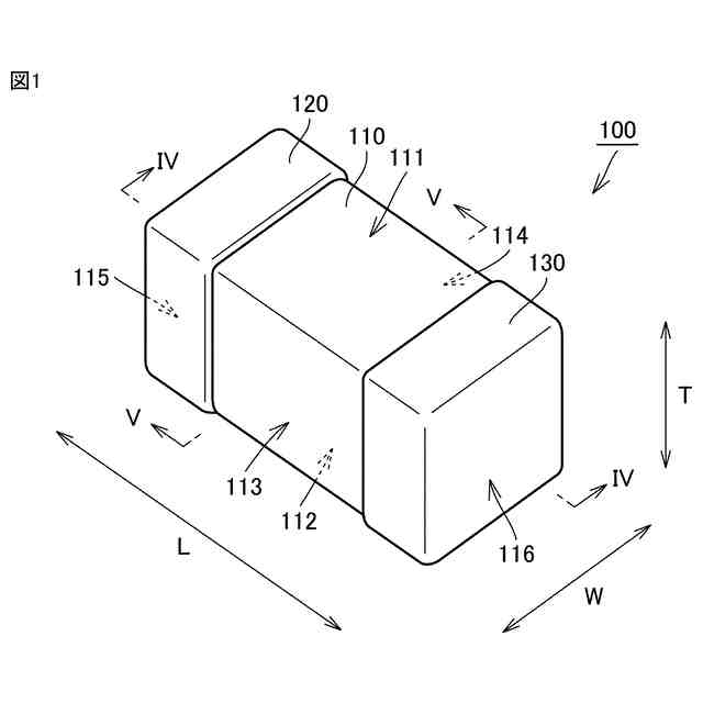
積層方向に積層された複数の誘電体層および複数の内部電極層を含み、かつ、前記積層方向に相対する第1主面および第2主面、前記積層方向に直交する幅方向に相対する第1側面および第2側面、ならびに、前記積層方向および前記幅方向に直交する長さ方向に相対する第1端面および第2端面を有する素体部と、
前記第1端面および前記第2端面の各々に設けられ、前記複数の内部電極層と接続された外部電極とを備え、
前記長さ方向における前記素体部の中央部における、前記積層方向および前記幅方向に沿う断面において、前記複数の内部電極層における前記幅方向の最大ずれ量は、5μm以下であり、
前記複数の内部電極層の各々の前記幅方向の両縁部は、前記幅方向に互いに間隔をあけて前記長さ方向に直線状に延びる2本の直線部と、当該2本の直線部にそれぞれ接続され、前記長さ方向において前記2本の直線部から離れるにしたがって前記幅方向において互いに接近するように一定の曲率にて湾曲する2本の曲線部とによって構成され、
前記複数の内部電極層の各々において前記長さ方向の端に位置して前記外部電極と接続される接続端は、前記2本の曲線部と接続され、
前記第1端面および前記第2端面において、前記複数の内部電極層の前記接続端における前記幅方向の最大ずれ量は、5μm以下である、積層セラミックコンデンサ。
続きを表示(約 620 文字)
【請求項2】
前記素体部は、前記第1側面、前記第2側面、前記第1端面および前記第2端面のうちの互いに隣り合う2つの面が交わる部分である稜線部を含み、
前記2本の曲線部の各々の前記曲率は、前記稜線部の曲率よりも小さい、請求項1に記載の積層セラミックコンデンサ。
【請求項3】
前記素体部において、前記幅方向における、前記第1側面と前記複数の内部電極層との間、および、前記第2側面と前記複数の内部電極層との間、に位置するサイドマージン部の各々は、前記幅方向に積層された複数の層にて構成されている、請求項1に記載の積層セラミックコンデンサ。
【請求項4】
前記素体部は、前記第1側面、前記第2側面、前記第1端面および前記第2端面のうちの互いに隣り合う2つの面が交わる部分である稜線部を含み、
前記サイドマージン部の各々を構成する前記複数の層のうちの前記幅方向における最も内側に位置する最内層は、前記複数の内部電極層に沿って設けられ、
前記最内層の前記幅方向における外側に位置する面の曲率は、前記2本の曲線部の各々の前記曲率よりも大きく、かつ、前記稜線部の曲率よりも小さい、請求項3に記載の積層セラミックコンデンサ。
【請求項5】
前記複数の内部電極層の各々の前記幅方向の前記両縁部には、Mgが偏析している、請求項1から4のいずれか1項に記載の積層セラミックコンデンサ。
発明の詳細な説明
【技術分野】
【0001】
本発明は、積層セラミックコンデンサに関する。
続きを表示(約 2,000 文字)
【背景技術】
【0002】
積層セラミックコンデンサの構成が開示された先行技術文献として、特開2017-147429号公報(特許文献1)がある。当該特許文献1に記載された積層セラミックコンデンサは、セラミック層と内部電極とが交互に複数層積層された略直方体形状の積層部と、積層部の幅方向の一対の側面を覆うサイドマージン部と、積層部およびサイドマージン部の間に配置された接合部とを備えている。
【先行技術文献】
【特許文献】
【0003】
特開2017-147429号公報
【発明の概要】
【発明が解決しようとする課題】
【0004】
近年、積層セラミックコンデンサの小型大容量化が進んでいる。詳細には、積層セラミックコンデンサの外形が小さくなりつつ、当該外形に対する内部電極層の占有面積率が大きくなり、これに伴い、積層された複数の内部電極層を幅方向において挟み込むサイドマージン部が薄くなることがある。
【0005】
このようにサイドマージン部が薄くなった場合には、積層セラミックコンデンサの幅方向の一対の側面から、積層セラミックコンデンサの長さ方向の端面を経由して当該端面に露出した内部電極層に至るまでの水分の浸入経路の道のりが短くなり、結果として積層セラミックコンデンサの耐湿性が低下してしまうおそれがある。
【0006】
したがって、本発明は、上述した問題を解決すべくなされたものであり、耐湿性の向上が図られた積層セラミックコンデンサを提供することを目的とする。
【課題を解決するための手段】
【0007】
本発明に基づく積層セラミックコンデンサは、素体部と、外部電極とを備えている。上記素体部は、積層方向に積層された複数の誘電体層および複数の内部電極層を含み、かつ、上記積層方向に相対する第1主面および第2主面、上記積層方向に直交する幅方向に相対する第1側面および第2側面、ならびに、上記積層方向および上記幅方向に直交する長さ方向に相対する第1端面および第2端面を有している。上記外部電極は、上記第1端面および上記第2端面の各々に設けられ、上記複数の内部電極層と接続されている。上記長さ方向における上記素体部の中央部における、上記積層方向および上記幅方向に沿う断面において、上記複数の内部電極層における上記幅方向の最大ずれ量は、5μm以下である。上記複数の内部電極層の各々の上記幅方向の両縁部は、2本の直線部と、2本の曲線部とによって構成されている。上記2本の直線部は、上記幅方向に互いに間隔をあけて上記長さ方向に直線状に延びている。上記2本の曲線部は、上記2本の直線部にそれぞれ接続されている。また、上記2本の曲線部は、上記長さ方向において上記2本の直線部から離れるにしたがって上記幅方向において互いに接近するように一定の曲率にて湾曲している。上記本発明に基づく積層セラミックコンデンサにあっては、上記複数の内部電極層の各々において上記長さ方向の端に位置して上記外部電極と接続される接続端が、上記2本の曲線部と接続されており、上記第1端面および上記第2端面において、上記複数の内部電極層の上記接続端における上記幅方向の最大ずれ量が、5μm以下である。
【0008】
上記本発明に基づく積層セラミックコンデンサにあっては、上記素体部は、上記第1側面、上記第2側面、上記第1端面および上記第2端面のうちの互いに隣り合う2つの面が交わる部分である稜線部を含んでいてもよい。その場合には、上記2本の曲線部の各々の上記曲率は、上記稜線部の曲率よりも小さくてもよい。
【0009】
上記本発明に基づく積層セラミックコンデンサにあっては、上記素体部において、上記幅方向における、上記第1側面と上記複数の内部電極層との間、および、上記第2側面と上記複数の内部電極層との間、に位置するサイドマージン部の各々は、上記幅方向に積層された複数の層にて構成されていてもよい。
【0010】
上記本発明に基づく積層セラミックコンデンサにあっては、上記素体部は、上記第1側面、上記第2側面、上記第1端面および上記第2端面のうちの互いに隣り合う2つの面が交わる部分である稜線部を含んでいてもよい。その場合には、上記サイドマージン部の各々を構成する上記複数の層のうちの上記幅方向における最も内側に位置する最内層は、上記複数の内部電極層に沿って設けられてもよい。また、その場合には、上記最内層の上記幅方向における外側に位置する面の曲率は、上記2本の曲線部の各々の上記曲率よりも大きく、かつ、上記稜線部の曲率よりも小さくてもよい。
(【0011】以降は省略されています)
この特許をJ-PlatPat(特許庁公式サイト)で参照する
関連特許
株式会社村田製作所
切断装置
1日前
株式会社村田製作所
弾性波装置
2日前
株式会社村田製作所
超音波ノズル
1日前
株式会社村田製作所
高周波電力増幅器
1日前
株式会社村田製作所
高周波電力増幅器
1日前
株式会社村田製作所
健康管理システム
3日前
株式会社村田製作所
ニッケル粉末の製造方法
1日前
株式会社村田製作所
ニッケル粉末の製造方法
1日前
株式会社シマノ
電動リール
9日前
株式会社村田製作所
フィルタ装置及びマルチプレクサ
9日前
株式会社村田製作所
振動装置および触覚提示モジュール
2日前
株式会社村田製作所
健康管理システム及び健康管理方法
3日前
株式会社村田製作所
半導体装置及び半導体装置の製造方法
9日前
株式会社村田製作所
半導体装置及び半導体装置の製造方法
9日前
株式会社村田製作所
検出装置、検出方法およびプログラム
9日前
株式会社村田製作所
コイル部品および、これを含むフィルタ回路
3日前
株式会社村田製作所
インダクタ部品
3日前
株式会社村田製作所
健康管理システム及び健康管理方法
3日前
東ソー株式会社
絶縁電線
1か月前
APB株式会社
蓄電セル
1か月前
株式会社東芝
端子台
1か月前
ローム株式会社
半導体装置
1か月前
マクセル株式会社
電源装置
1か月前
三菱電機株式会社
回路遮断器
17日前
株式会社GSユアサ
蓄電装置
1か月前
株式会社GSユアサ
蓄電装置
1か月前
株式会社ホロン
冷陰極電子源
1か月前
株式会社GSユアサ
蓄電装置
23日前
富士電機株式会社
電磁接触器
9日前
株式会社GSユアサ
蓄電装置
9日前
日本特殊陶業株式会社
保持装置
22日前
トヨタ自動車株式会社
冷却構造
1か月前
北道電設株式会社
配電具カバー
1か月前
日新イオン機器株式会社
基板処理装置
1か月前
大電株式会社
電線又はケーブル
1日前
トヨタ自動車株式会社
バッテリ
1か月前
続きを見る
他の特許を見る