TOP
|
特許
|
意匠
|
商標
特許ウォッチ
Twitter
他の特許を見る
10個以上の画像は省略されています。
公開番号
2025167164
公報種別
公開特許公報(A)
公開日
2025-11-07
出願番号
2024071533
出願日
2024-04-25
発明の名称
電池パック
出願人
株式会社村田製作所
代理人
弁理士法人つばさ国際特許事務所
主分類
H02J
7/00 20060101AFI20251030BHJP(電力の発電,変換,配電)
要約
【課題】安全性を高めることができる電池パックを得る。
【解決手段】本開示の一実施の形態に係る電池パックは、正極および負極を有し、電力を蓄えることが可能な蓄電池と、蓄電池に熱的に接続され、熱電変換により電力を生成可能な熱電変換素子と、正極と負極とを結ぶ経路に設けられ、熱電変換素子が生成した電力が印加される制御端子を有し、熱電変換素子が生成した電力に基づいてオン状態になることにより、蓄電池を放電可能な第1のスイッチとを備える。
【選択図】図1
特許請求の範囲
【請求項1】
正極および負極を有し、電力を蓄えることが可能な蓄電池と、
前記蓄電池に熱的に接続され、熱電変換により電力を生成可能な熱電変換素子と、
前記正極と前記負極とを結ぶ経路に設けられ、前記熱電変換素子が生成した電力が印加される制御端子を有し、前記熱電変換素子が生成した電力に基づいてオン状態になることにより、前記蓄電池を放電可能な第1のスイッチと
を備えた電池パック。
続きを表示(約 1,700 文字)
【請求項2】
外気に熱的に接続されたヒートシンクをさらに備え、
前記熱電変換素子は、さらに前記ヒートシンクに熱的に接続され、外気の温度と前記蓄電池の温度との差に応じた電力を生成可能である
請求項1に記載の電池パック。
【請求項3】
前記蓄電池、前記熱電変換素子、および前記第1のスイッチを収容し、外気に熱的に接続された筐体をさらに備え、
前記熱電変換素子は、さらに前記筐体に熱的に接続され、外気の温度と前記蓄電池の温度との差に応じた電力を生成可能である
請求項1に記載の電池パック。
【請求項4】
前記第1のスイッチは、前記熱電変換素子が生成した電力に基づいてオン状態になった後に、オン状態を維持可能である
請求項1に記載の電池パック。
【請求項5】
前記熱電変換素子が生成した電力に基づいて前記第1のスイッチの前記制御端子を駆動することにより、前記第1のスイッチをオン状態にすることが可能なスイッチ制御回路をさらに備えた
請求項4に記載の電池パック。
【請求項6】
前記熱電変換素子が生成した電力に基づいて前記第1のスイッチの前記制御端子の電圧を、前記第1のスイッチをオン状態にするためのオン電圧にすることが可能であり、前記制御端子の電圧を前記オン電圧にした後に、前記制御端子の電圧を維持可能なスイッチ制御回路をさらに備えた
請求項1に記載の電池パック。
【請求項7】
第1のダイオード、第2のダイオード、第3のダイオード、および第4のダイオードをさらに備え、
前記熱電変換素子は、第1の端子と、第2の端子とを有し、
前記第1のスイッチの前記制御端子は、第1の制御端子および第2の制御端子を含み、
前記第1のダイオードは、前記熱電変換素子の前記第1の端子に導かれたアノードと、前記第1のスイッチの前記第1の制御端子に接続されたカソードとを有し、
前記第2のダイオードは、前記熱電変換素子の前記第2の端子に導かれたアノードと、前記第1のスイッチの前記第1の制御端子に接続されたカソードとを有し、
前記第3のダイオードは、前記第1のスイッチの前記第2の制御端子に接続されたアノードと、前記熱電変換素子の前記第2の端子に導かれたカソードとを有し、
前記第4のダイオードは、前記第1のスイッチの前記第2の制御端子に接続されたアノードと、前記熱電変換素子の前記第1の端子に導かれたカソードとを有する
請求項1に記載の電池パック。
【請求項8】
駆動電力が供給されることが可能な駆動端子と、
第2のスイッチと
をさらに備え、
前記熱電変換素子は、ペルチェ素子を含み、
前記第2のスイッチは、前記駆動電力を前記熱電変換素子に供給することが可能であり、
前記第1のスイッチは、前記第2のスイッチが前記駆動電力を前記熱電変換素子に供給していない場合に、前記蓄電池を放電可能である
請求項1から請求項7のいずれか一項に記載の電池パック。
【請求項9】
前記熱電変換素子は、第1の端子と、第2の端子とを有し、
前記駆動電力は、前記第1の端子の電圧が前記第2の端子の電圧よりも高い第1の極性の電力、または前記第1の端子の電圧が前記第2の端子の電圧よりも低い第2の極性の電力に選択的に設定されることが可能である
請求項8に記載の電池パック。
【請求項10】
前記第2のスイッチは、
前記熱電変換素子に接続された第1の端子と、前記駆動端子に接続された第2の端子と、前記第1のスイッチの前記制御端子に導かれた第3の端子と、前記駆動端子に導かれた制御端子とを有し、
前記駆動端子に前記駆動電力が供給された場合には、前記第1の端子および前記第2の端子を互いに接続可能であり、
前記駆動端子に前記駆動電力が供給されていない場合には、前記第1の端子および前記第3の端子を互いに接続可能である
請求項8に記載の電池パック。
(【請求項11】以降は省略されています)
発明の詳細な説明
【技術分野】
【0001】
本開示は、蓄電池を備えた電池パックに関する。
続きを表示(約 1,600 文字)
【背景技術】
【0002】
蓄電池を備えた電池パックでは、しばしば、温度を検出するとともに、温度制御を行う。例えば、特許文献1には、ペルチェ素子を用いて複数の電池セルの温度の均一化を図る技術が開示されている。
【先行技術文献】
【特許文献】
【0003】
特開2023-23527号公報
【発明の概要】
【発明が解決しようとする課題】
【0004】
ところで、電池パックでは、例えば、電池パックが熱源に近い位置に置かれた場合や、電池パックの蓄電池が発熱する場合において、安全性が高いことが望まれており、さらなる安全性の向上が期待される。
【0005】
安全性を高めることができる電池パックを提供することが望ましい。
【課題を解決するための手段】
【0006】
本開示の一実施の形態における電池パックは、蓄電池と、熱電変換素子と、第1のスイッチとを備えている。蓄電池は、正極および負極を有し、電力を蓄えることが可能なものである。熱電変換素子は、蓄電池に熱的に接続され、熱電変換により電力を生成可能なものである。第1のスイッチは、正極と負極とを結ぶ経路に設けられ、熱電変換素子が生成した電力が印加される制御端子を有し、熱電変換素子が生成した電力に基づいてオン状態になることにより、蓄電池を放電可能なものである。
【0007】
本開示の一実施の形態における電池パックによれば、安全性を高めることができる。
【図面の簡単な説明】
【0008】
図1は、本開示の一実施の形態に係る電池パックの一構成例を表すブロック図である。
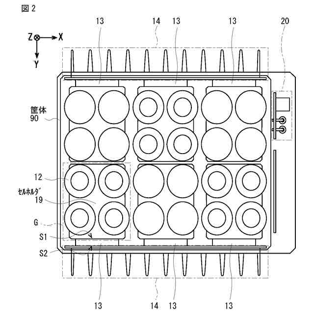
図2は、図1に示した電池パックの一構成例を表す説明図である。
図3Aは、図1に示した電池パックの温度制御を行う場合における一動作例を表す説明図である。
図3Bは、図1に示した電池パックの温度制御を行う場合における他の一動作例を表す説明図である。
図4Aは、図1に示した電池パックの蓄電池を放電させる場合における一動作例を表す説明図である。
図4Bは、図1に示した電池パックの蓄電池を放電させる場合における他の一動作例を表す説明図である。
図5は、変形例に係る電池パックの一構成例を表すブロック図である。
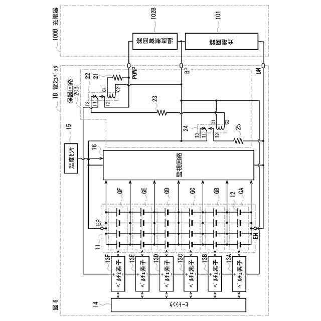
図6は、変形例に係る電池パックの一構成例を表すブロック図である。
図7は、変形例に係る電池パックの一構成例を表すブロック図である。
図8は、変形例に係る電池パックの一構成例を表すブロック図である。
図9は、変形例に係る電池パックの一構成例を表すブロック図である。
図10は、変形例に係る電池パックの一構成例を表すブロック図である。
図11は、変形例に係る電池パックの一構成例を表すブロック図である。
図12は、変形例に係る電池パックの一構成例を表すブロック図である。
図13は、変形例に係る電池パックの一構成例を表すブロック図である。
図14は、変形例に係る電池パックの一構成例を表すブロック図である。
【発明を実施するための形態】
【0009】
以下、本開示の実施の形態について、図面を参照して詳細に説明する。
【0010】
<実施の形態>
[構成例]
図1,2は、一実施の形態に係る電池パック(電池パック1)の一構成例を表すものである。図1では、電池パック1は、充電器100に接続されている。電池パック1は、蓄電池11と、6つのペルチェ素子13(ペルチェ素子13A~13F)と、ヒートシンク14と、温度センサ15と、監視回路16と、保護回路20とを備えている。蓄電池11、6つのペルチェ素子13、温度センサ15、監視回路16、および保護回路20は、筐体90(図2)の内部に収容されている。
(【0011】以降は省略されています)
この特許をJ-PlatPat(特許庁公式サイト)で参照する
関連特許
株式会社村田製作所
測定装置
1か月前
株式会社村田製作所
切断装置
1日前
株式会社村田製作所
移相回路
1か月前
株式会社村田製作所
二次電池
1か月前
株式会社村田製作所
コイル部品
1か月前
株式会社村田製作所
コイル部品
1か月前
株式会社村田製作所
電池パック
22日前
株式会社村田製作所
高周波回路
1か月前
株式会社村田製作所
電子聴診器
1か月前
株式会社村田製作所
電池パック
1か月前
株式会社村田製作所
ネブライザ
1か月前
株式会社村田製作所
コイル部品
1か月前
株式会社村田製作所
弾性波装置
2日前
株式会社村田製作所
電力増幅回路
1か月前
株式会社村田製作所
フィルタ装置
24日前
株式会社村田製作所
超音波ノズル
1日前
株式会社村田製作所
フィルタ装置
1か月前
株式会社村田製作所
電力システム
1か月前
株式会社村田製作所
外観検査装置
1か月前
株式会社村田製作所
インダクタ部品
22日前
株式会社村田製作所
インダクタ部品
22日前
株式会社村田製作所
インダクタ部品
22日前
株式会社村田製作所
インダクタ部品
22日前
株式会社村田製作所
インダクタ部品
22日前
株式会社村田製作所
圧力センサ装置
1か月前
株式会社村田製作所
指装着デバイス
15日前
株式会社村田製作所
電池モジュール
1か月前
株式会社村田製作所
インダクタ部品
1か月前
株式会社村田製作所
インダクタ部品
10日前
株式会社村田製作所
インダクタ部品
10日前
株式会社村田製作所
高周波電力増幅器
1日前
株式会社村田製作所
積層体の切断装置
24日前
株式会社村田製作所
積層体の切断装置
24日前
株式会社村田製作所
電子部品包装装置
1か月前
株式会社村田製作所
高周波電力増幅器
1日前
株式会社村田製作所
正極及び二次電池
22日前
続きを見る
他の特許を見る