TOP
|
特許
|
意匠
|
商標
特許ウォッチ
Twitter
他の特許を見る
公開番号
2025165638
公報種別
公開特許公報(A)
公開日
2025-11-05
出願番号
2024069823
出願日
2024-04-23
発明の名称
積層体の切断装置
出願人
株式会社村田製作所
代理人
個人
,
個人
主分類
B26D
5/34 20060101AFI20251028BHJP(切断手工具;切断;切断機)
要約
【課題】積層体における切断するべき箇所を高精度に特定する。
【解決手段】切断装置10は、載置面22Aに平行な第1軸、及び載置面22Aに平行且つ第1軸と直交する第2軸に沿って往復動作可能な可動ステージ22と、載置面22Aに直交する第3軸に沿って往復動作可能なカット刃33と、を備えている。また、切断装置10は、載置面22A上に載置された積層体の主面における基準箇所の位置を検出する主面カメラ43と、当該積層体の端面を撮像する側方カメラ41と、を備えている。切断装置10の制御装置は、主面カメラ43の検出結果に基づいて、側方カメラ41のピントが載置面22Aに載置された積層体の端面に合うように、側方カメラ41に対する、第2軸に沿う方向での可動ステージ22の相対位置を決定する。
【選択図】図3
特許請求の範囲
【請求項1】
切断対象としての積層体を載置可能な載置面を有し、前記載置面に平行な第1軸、及び前記載置面に平行且つ前記第1軸と直交する第2軸に沿って往復動作可能な可動ステージと、
前記第2軸に沿って延びる刃先を有し、前記載置面に直交する第3軸に沿って往復動作可能なカット刃と、
前記第2軸に沿う方向において前記可動ステージが存在する範囲内に位置し、前記載置面上に載置された前記積層体の主面における予め定められた基準箇所の位置を検出する主面センサと、
前記可動ステージに対して前記第2軸に沿う方向の一方側に位置し、前記載置面上に載置された前記積層体の端面を撮像する端面カメラと、
前記主面センサの検出結果に基づいて、前記端面カメラのピントが前記載置面に載置された前記積層体の端面に合うように、前記端面カメラに対する、前記第2軸に沿う方向での前記可動ステージの相対位置を決定する制御装置と、
を備える
積層体の切断装置。
続きを表示(約 650 文字)
【請求項2】
切断対象としての積層体を載置可能な載置面を有し、前記載置面に平行な第1軸に沿って往復動作可能な可動ステージと、
前記載置面に平行且つ前記第1軸に直交する第2軸に沿って延びる刃先を有し、前記載置面に直交する第3軸に沿って往復動作可能なカット刃と、
前記第2軸に沿う方向において前記可動ステージが存在する範囲内に位置し、前記載置面上に載置された前記積層体の主面における予め定められた基準箇所の位置を検出する主面センサと、
前記可動ステージに対して前記第2軸に沿う方向の一方側に位置し、前記載置面上に載置された前記積層体の端面を撮像する端面カメラと、
前記主面センサの検出結果に基づいて、前記端面カメラのピントが前記載置面に載置された前記積層体の端面に合うように、前記端面カメラの焦点距離を決定する制御装置と、
を備える
積層体の切断装置。
【請求項3】
前記主面センサは、前記積層体の主面における少なくとも一部の領域を撮影範囲とするカメラである
請求項1又は2に記載の積層体の切断装置。
【請求項4】
前記主面センサは、前記載置面及び当該載置面上に載置された前記積層体の主面の表面形状を検出するレーザ変位計である
請求項1又は2に記載の積層体の切断装置。
【請求項5】
前記基準箇所は、前記積層体の主面の外縁である
請求項1又は2に記載の積層体の切断装置。
発明の詳細な説明
【技術分野】
【0001】
本発明は、積層体の切断装置に関する。
続きを表示(約 2,000 文字)
【背景技術】
【0002】
特許文献1は、積層電子部品を切断するための作業装置を開示している。この作業装置は、設置台と、ブレードカッターと、ビデオカメラと、制御装置と、を備えている。設置台は、積層体を載置可能な載置面を有する。また、設置台は、モータからの動力により載置面に平行な方向に往復動作する。ブレードカッターは、設置台の載置面に直交する方向に往復動作する。ブレードカッターが往復動作することにより、設置台上に載置された積層体が切断される。ビデオカメラは、ブレードカッターの端部の近傍に位置している。ビデオカメラは、設置台上に載置された積層体の端面を撮影する。制御装置は、ビデオカメラが撮像した画像データに基づいて、ブレードカッターと設置台との位置関係を調整する。
【先行技術文献】
【特許文献】
【0003】
特開2000-357628号公報
【発明の概要】
【発明が解決しようとする課題】
【0004】
近年、電子部品の小型化が進んでいる。そのため、解像度の高いビデオカメラを利用しなければ積層体における切断するべき箇所を特定するのが困難になっている。一方、解像度の高いビデオカメラを利用すると、撮像対象物の位置の僅かな誤差で撮像対象物に対するビデオカメラのピントがずれることがあり得る。
【0005】
特許文献1の技術では、ブレードカッターでの切断時に積層体に作用する力などに起因して、設置台上において積層体の位置がずれることがあり得る。この場合、ビデオカメラに対する積層体の相対位置がずれることで、ビデオカメラのピントが積層体の端面に合わなくなることがあり得る。そしてその結果、積層体における切断するべき箇所を高精度に特定できないおそれがある。
【課題を解決するための手段】
【0006】
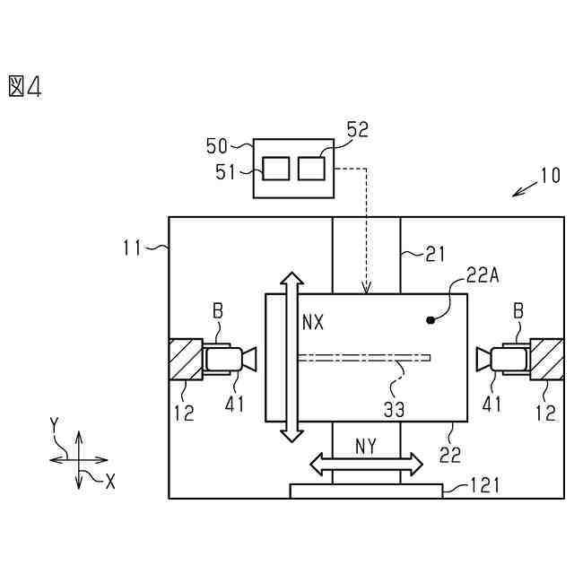
上記課題を解決するため、本発明の積層体の切断装置は、切断対象としての積層体を載置可能な載置面を有し、前記載置面に平行な第1軸、及び前記載置面に平行且つ前記第1軸と直交する第2軸に沿って往復動作可能な可動ステージと、前記第2軸に沿って延びる刃先を有し、前記載置面に直交する第3軸に沿って往復動作可能なカット刃と、前記第2軸に沿う方向において前記可動ステージが存在する範囲内に位置し、前記載置面上に載置された前記積層体の主面における予め定められた基準箇所の位置を検出する主面センサと、前記可動ステージに対して前記第2軸に沿う方向の一方側に位置し、前記載置面上に載置された前記積層体の端面を撮像する端面カメラと、前記主面センサの検出結果に基づいて、前記端面カメラのピントが前記載置面に載置された前記積層体の端面に合うように、前記端面カメラに対する、前記第2軸に沿う方向での前記可動ステージの相対位置を決定する制御装置と、を備える。
【0007】
上記課題を解決するため、本発明の積層体の切断装置は、切断対象としての積層体を載置可能な載置面を有し、前記載置面に平行な第1軸に沿って往復動作可能な可動ステージと、前記載置面に平行且つ前記第1軸に直交する第2軸に沿って延びる刃先を有し、前記載置面に直交する第3軸に沿って往復動作可能なカット刃と、前記第2軸に沿う方向において前記可動ステージが存在する範囲内に位置し、前記載置面上に載置された前記積層体の主面における予め定められた基準箇所の位置を検出する主面センサと、前記可動ステージに対して前記第2軸に沿う方向の一方側に位置し、前記載置面上に載置された前記積層体の端面を撮像する端面カメラと、前記主面センサの検出結果に基づいて、前記端面カメラのピントが前記載置面に載置された前記積層体の端面に合うように、前記端面カメラの焦点距離を決定する制御装置と、を備える。
【発明の効果】
【0008】
本発明によれば、積層体における切断するべき箇所をより高精度に特定でき得る。
【図面の簡単な説明】
【0009】
図1は、積層体の端面を示す部分平面図である。
図2は、図1における2-2線での断面図である。
図3は、切断装置の正面図である。
図4は、図3における4-4線での部分断面図である。
図5は、可動ステージと端面カメラとの位置関係の例を表した図である。
図6は、可動ステージと端面カメラとの位置関係の例を表した図である。
【発明を実施するための形態】
【0010】
以下、積層体の切断装置の一実施形態を説明する。なお、図面は、理解を容易にするために構成要素を拡大して示している場合がある。また、構成要素の寸法比率は実際のものと、又は別の図面中のものと異なる場合がある。
(【0011】以降は省略されています)
この特許をJ-PlatPat(特許庁公式サイト)で参照する
関連特許
株式会社村田製作所
二次電池
1か月前
株式会社村田製作所
切断装置
1日前
株式会社村田製作所
移相回路
1か月前
株式会社村田製作所
測定装置
1か月前
株式会社村田製作所
コイル部品
1か月前
株式会社村田製作所
電池パック
22日前
株式会社村田製作所
コイル部品
1か月前
株式会社村田製作所
ネブライザ
1か月前
株式会社村田製作所
弾性波装置
2日前
株式会社村田製作所
電子聴診器
1か月前
株式会社村田製作所
電池パック
1か月前
株式会社村田製作所
高周波回路
1か月前
株式会社村田製作所
コイル部品
1か月前
株式会社村田製作所
フィルタ装置
1か月前
株式会社村田製作所
フィルタ装置
24日前
株式会社村田製作所
電力システム
1か月前
株式会社村田製作所
電力増幅回路
1か月前
株式会社村田製作所
外観検査装置
1か月前
株式会社村田製作所
超音波ノズル
1日前
株式会社村田製作所
インダクタ部品
1か月前
株式会社村田製作所
インダクタ部品
22日前
株式会社村田製作所
インダクタ部品
22日前
株式会社村田製作所
インダクタ部品
22日前
株式会社村田製作所
インダクタ部品
22日前
株式会社村田製作所
電池モジュール
1か月前
株式会社村田製作所
インダクタ部品
22日前
株式会社村田製作所
圧力センサ装置
1か月前
株式会社村田製作所
指装着デバイス
15日前
株式会社村田製作所
インダクタ部品
10日前
株式会社村田製作所
インダクタ部品
10日前
株式会社村田製作所
高周波電力増幅器
1日前
株式会社村田製作所
正極及び二次電池
22日前
株式会社村田製作所
伸縮性コイル部品
1か月前
株式会社村田製作所
高周波モジュール
1か月前
株式会社村田製作所
高周波電力増幅器
1日前
株式会社村田製作所
電子部品包装装置
1か月前
続きを見る
他の特許を見る