TOP
|
特許
|
意匠
|
商標
特許ウォッチ
Twitter
他の特許を見る
10個以上の画像は省略されています。
公開番号
2025168902
公報種別
公開特許公報(A)
公開日
2025-11-12
出願番号
2024073754
出願日
2024-04-30
発明の名称
固体電解コンデンサ
出願人
株式会社村田製作所
代理人
弁理士法人WisePlus
主分類
H01G
9/012 20060101AFI20251105BHJP(基本的電気素子)
要約
【課題】コンデンサ素子を構成する弁作用金属基体の幅方向への位置ずれを防止する。
【解決手段】長手方向Lの一方の端部である第1の端部11aが陽極端子領域であり、他方の端部である第2の端部11bが陰極形成領域である弁作用金属基体11を備えるコンデンサ素子10と、コンデンサ素子10を封止して封止体30を形成する封止材20と、封止体30の少なくとも底面34に設けられ、陽極端子領域と電気的に接続される陽極外部電極40と、封止体30の表面に設けられ、前記陰極形成領域と電気的に接続される陰極外部電極50と、を備える固体電解コンデンサ1であって、弁作用金属基体11の陽極端子領域の底面11cと陽極外部電極40の間の位置に、導電性スペーサー60が配置されており、弁作用金属基体11の前記陽極端子領域を幅方向Wにおいて挟む位置に、導電性スペーサー60から突出した2カ所以上の凸部61が設けられている。
【選択図】図2
特許請求の範囲
【請求項1】
長手方向の一方の端部である第1の端部が陽極端子領域であり、他方の端部である第2の端部が陰極形成領域である弁作用金属基体を備えるコンデンサ素子と、
前記コンデンサ素子を封止して封止体を形成する封止材と、
前記封止体の少なくとも底面に設けられ、前記陽極端子領域と電気的に接続される陽極外部電極と、
前記封止体の表面に設けられ、前記陰極形成領域と電気的に接続される陰極外部電極と、を備える固体電解コンデンサであって、
前記弁作用金属基体の前記陽極端子領域の底面と前記陽極外部電極の間の位置に導電性スペーサーが配置されており、
前記弁作用金属基体の前記陽極端子領域を幅方向において挟む位置に、前記導電性スペーサーから突出した2カ所以上の凸部が設けられている、固体電解コンデンサ。
続きを表示(約 370 文字)
【請求項2】
前記凸部が前記弁作用金属基体の前記陽極端子領域と隣接する位置において、前記凸部の表面に低融点導電部材が設けられている、請求項1に記載の固体電解コンデンサ。
【請求項3】
前記凸部が、前記導電性スペーサーの側部から突出した壁部である、請求項1又は2に記載の固体電解コンデンサ。
【請求項4】
前記凸部が、前記導電性スペーサーの上面から突出した柱部である、請求項1又は2に記載の固体電解コンデンサ。
【請求項5】
前記弁作用金属基体の前記陽極端子領域の底面と前記導電性スペーサーの上面の間に、低融点導電部材が設けられており、前記弁作用金属基体の前記陽極端子領域と前記導電性スペーサーが、前記低融点導電部材により接続されている、請求項1又は2に記載の固体電解コンデンサ。
発明の詳細な説明
【技術分野】
【0001】
本発明は、固体電解コンデンサに関する。
続きを表示(約 1,900 文字)
【背景技術】
【0002】
特許文献1には、コンデンサ素子を複数備える固体電解コンデンサが開示されている。具体的には、複数のコンデンサ素子の陽極部がまとめられて、陽極端子と接続された陽極段部に溶接などにより接続された構成が開示されている(特許文献1の図2等参照)。
【先行技術文献】
【特許文献】
【0003】
特許第6928790号公報
【発明の概要】
【発明が解決しようとする課題】
【0004】
陽極端子と接続された陽極段部を設けることにより、陽極部と陰極部の厚み差が解消され、コンデンサ素子の積層体の姿勢を真っすぐにすることができる。積層体の姿勢を真っすぐにできない場合、チップの低背化が難しくなることがある。
【0005】
上記の構成の固体電解コンデンサでは、陽極段部上に積層体を搭載する際に、積層体が固体電解コンデンサの幅方向において外側にずれる位置ずれが生じることがあった。積層体の幅方向への位置ずれが生じると、積層体を封止する封止材が局所的に薄くなってしまい、積層体の一部が封止体から露出する箇所が生じる可能性がある。
【0006】
本発明は、上記の問題を解決するためになされたものであり、コンデンサ素子を構成する弁作用金属基体の幅方向への位置ずれが防止された固体電解コンデンサを提供することを目的とする。
【課題を解決するための手段】
【0007】
本発明の固体電解コンデンサは、長手方向の一方の端部である第1の端部が陽極端子領域であり、他方の端部である第2の端部が陰極形成領域である弁作用金属基体を備えるコンデンサ素子と、前記コンデンサ素子を封止して封止体を形成する封止材と、前記封止体の少なくとも底面に設けられ、前記陽極端子領域と電気的に接続される陽極外部電極と、前記封止体の表面に設けられ、前記陰極形成領域と電気的に接続される陰極外部電極と、を備える固体電解コンデンサであって、前記弁作用金属基体の前記陽極端子領域の底面と前記陽極外部電極の間の位置に導電性スペーサーが配置されており、前記弁作用金属基体の前記陽極端子領域を幅方向において挟む位置に、前記導電性スペーサーから突出した2カ所以上の凸部が設けられている。
【発明の効果】
【0008】
本発明によれば、コンデンサ素子を構成する弁作用金属基体の幅方向への位置ずれが防止された固体電解コンデンサを提供することができる。
【図面の簡単な説明】
【0009】
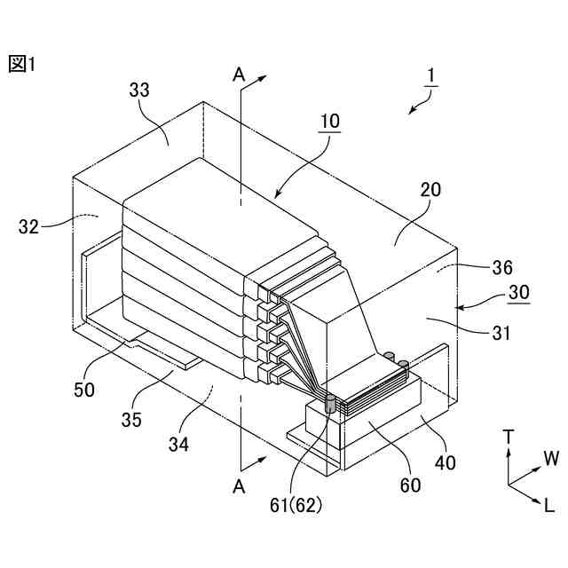
図1は、固体電解コンデンサの一例を模式的に示す斜視図である。
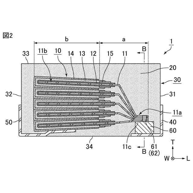
図2は、図1に示す固体電解コンデンサのA-A線断面図である。
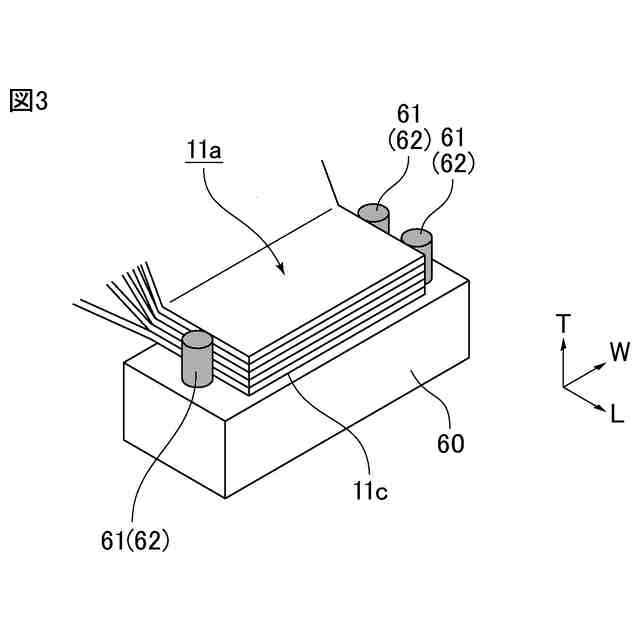
図3は、図1に示す導電性スペーサーの上面近傍を拡大して模式的に示す斜視図である。
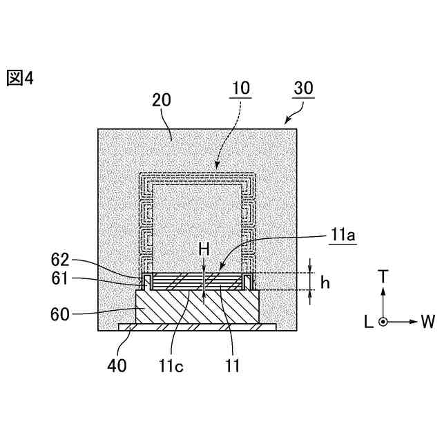
図4は、図2に示す固体電解コンデンサのB-B線断面図である。
図5は、凸部の形状の他の例を模式的に示す断面図である。
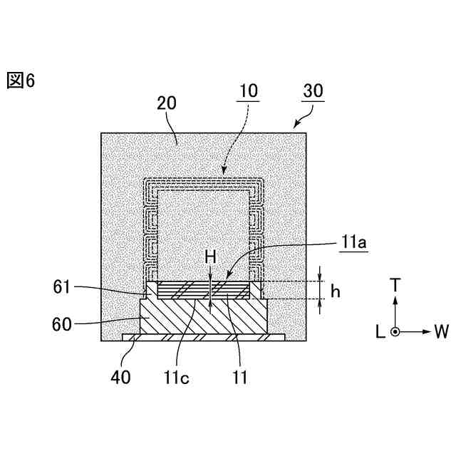
図6は、図4に示す固体電解コンデンサのB-B線断面図と同じ位置において、凸部の表面に低融点導電部材が設けられていない形態の例を模式的に示す断面図である。
図7は、図3に示す導電性スペーサーの上面近傍と同じ位置において、弁作用金属基体の陽極端子領域の底面と導電性スペーサーの上面の間に低融点導電部材が設けられている形態の例を模式的に示す斜視図である。
図8は、固体電解コンデンサの別の一例を模式的に示す斜視図である。
図9は、図8に示す固体電解コンデンサのC-C線断面図である。
図10は、図9に示す固体電解コンデンサのD-D線断面図である。
図11は、図10に示す固体電解コンデンサのD-D線断面図と同じ位置において、凸部の表面に低融点導電部材が設けられておらず、弁作用金属基体の陽極端子領域の底面と導電性スペーサーの上面の間に低融点導電部材が設けられていない形態の例を模式的に示す断面図である。
【発明を実施するための形態】
【0010】
以下、本発明の固体電解コンデンサについて説明する。
しかしながら、本発明は、以下の構成に限定されるものではなく、本発明の要旨を変更しない範囲において適宜変更して適用することができる。なお、以下において記載する本発明の各実施形態の望ましい構成を2つ以上組み合わせたものもまた本発明である。
(【0011】以降は省略されています)
この特許をJ-PlatPat(特許庁公式サイト)で参照する
関連特許
株式会社村田製作所
電池
1か月前
株式会社村田製作所
釣り具
1か月前
株式会社村田製作所
測定装置
1か月前
株式会社村田製作所
電子部品
1か月前
株式会社村田製作所
二次電池
29日前
株式会社村田製作所
移相回路
1か月前
株式会社村田製作所
高周波回路
1か月前
株式会社村田製作所
噴霧ノズル
1か月前
株式会社村田製作所
コイル部品
23日前
株式会社村田製作所
電池パック
7日前
株式会社村田製作所
ネブライザ
1か月前
株式会社村田製作所
電子聴診器
1か月前
株式会社村田製作所
コイル部品
1か月前
株式会社村田製作所
コイル部品
1か月前
株式会社村田製作所
コイル部品
1か月前
株式会社村田製作所
電池パック
1か月前
株式会社村田製作所
外観検査装置
15日前
株式会社村田製作所
流体制御装置
1か月前
株式会社村田製作所
電力システム
24日前
株式会社村田製作所
フィルタ装置
9日前
株式会社村田製作所
フィルタ装置
1か月前
株式会社村田製作所
フィルタ回路
1か月前
株式会社村田製作所
電力増幅回路
15日前
株式会社村田製作所
圧力センサ装置
1か月前
株式会社村田製作所
電池モジュール
1か月前
株式会社村田製作所
複合型電子部品
1か月前
株式会社村田製作所
インダクタ部品
17日前
株式会社村田製作所
指装着デバイス
今日
株式会社村田製作所
インダクタ部品
7日前
株式会社村田製作所
インダクタ部品
1か月前
株式会社村田製作所
インダクタ部品
7日前
株式会社村田製作所
インダクタ部品
7日前
株式会社村田製作所
インダクタ部品
7日前
株式会社村田製作所
インダクタ部品
7日前
株式会社村田製作所
積層インダクタ
1か月前
株式会社村田製作所
弾性波フィルタ
1か月前
続きを見る
他の特許を見る