TOP
|
特許
|
意匠
|
商標
特許ウォッチ
Twitter
他の特許を見る
公開番号
2025175751
公報種別
公開特許公報(A)
公開日
2025-12-03
出願番号
2024081988
出願日
2024-05-20
発明の名称
インダクタおよびインダクタの製造方法
出願人
株式会社村田製作所
代理人
弁理士法人クシブチ国際特許事務所
主分類
H01F
17/04 20060101AFI20251126BHJP(基本的電気素子)
要約
【課題】金属磁性粒子と樹脂から成る素体にコイル導体を内包するインダクタにおいて、素体内における局所的な磁気飽和の発生を抑制して磁気飽和許容電流を向上すること。
【解決手段】インダクタは、平均粒径の異なる第1金属磁性粒子及び第2金属磁性粒子並びに樹脂を含むコアと、コアに埋め込まれた巻回部を有するコイル導体と、を有する素体を備え、素体は巻回部の中心軸と交差して互いに対向する二つの主面を有し、巻回部の中心軸と平行な素体の断面において、コアと巻回部との境界線である導体境界線からの距離が所定の距離以下である第1金属磁性粒子の上記導体境界線に沿った単位長さ当たりの数である第1数密度は、素体の少なくとも一方の上記主面の位置を示す境界線である表面境界線からの距離が上記所定の距離以下である第1金属磁性粒子の上記表面境界線に沿った単位長さあたりの数である第2数密度より低い。
【選択図】図5
特許請求の範囲
【請求項1】
絶縁被膜を有する第1金属磁性粒子と、絶縁被膜を有し且つ前記第1金属磁性粒子より平均粒径の小さい第2金属磁性粒子と、樹脂と、を含むコアと、
前記コアに埋め込まれた、コイルを構成する導体である巻回部を有するコイル導体と、
を有する素体を備え、
前記素体は、前記巻回部の中心軸と交差して互いに対向する二つの主面を有し、
前記巻回部の中心軸と平行な、前記素体の断面において、
前記コアと前記巻回部との境界線である導体境界線からの距離が所定の距離以下である前記第1金属磁性粒子の、前記導体境界線に沿った単位長さ当たりの数である第1数密度は、前記素体の少なくとも一方の前記主面の位置を示す境界線である表面境界線からの距離が前記所定の距離以下である前記第1金属磁性粒子の、前記表面境界線に沿った単位長さあたりの数である第2数密度より低い、
インダクタ。
続きを表示(約 1,200 文字)
【請求項2】
前記所定の距離は、個々の前記第1金属磁性粒子の、円相当径の1/10の距離である、
請求項1に記載のインダクタ。
【請求項3】
前記巻回部の中心軸と平行な、前記素体の断面において、前記素体の少なくとも一方の前記主面の表面境界からの距離が前記所定の距離以下である前記第1金属磁性粒子のうち、少なくとも一部は、2個以上の前記第1金属磁性粒子が互いに接触している、
請求項1に記載のインダクタ。
【請求項4】
前記第2数密度に対する前記第1数密度の比は、0.58以上0.89以下である、
請求項1に記載のインダクタ。
【請求項5】
前記第1数密度は、前記導体境界線のうち、前記素体の少なくとも一方の前記主面と前記巻回部とに挟まれた部分の少なくとも一部における、前記導体境界線からの距離が前記所定の距離以下である前記第1金属磁性粒子の、前記導体境界線に沿った単位長さ当たりの数である、
請求項1に記載のインダクタ。
【請求項6】
巻回部を有するコイル導体を作製するコイル導体形成工程と、
絶縁被膜を有する第1金属磁性粒子と、絶縁被膜を有し且つ前記第1金属磁性粒子より平均粒径の小さい第2金属磁性粒子と、樹脂と、を含むコアに前記コイル導体を埋設して素体を形成する素体成型工程と、
前記素体の電極予定箇所に、前記コイル導体と接続する外部電極をめっきにより形成するめっき層形成工程と、
を有し、
前記素体成型工程では、
前記素体は、前記コアを構成する前記第1金属磁性粒子と前記第2金属磁性粒子と前記樹脂とを含む混合粉を加熱しながら加圧することで形成され、
前記素体の外面であって前記巻回部の中心軸と交差する前記素体の少なくとも一つの主面の部分は、前記素体の他の部分を形成する前記混合粉に比べて、前記第1金属磁性粒子の含有量が多い前記混合粉により形成される、
インダクタの製造方法。
【請求項7】
コイル導体を作製するコイル導体形成工程と、
絶縁被膜を有する第1金属磁性粒子と、絶縁被膜を有し且つ前記第1金属磁性粒子より平均粒径の小さい第2金属磁性粒子と、樹脂と、を含むコアに前記コイル導体を埋設して素体を形成する素体成型工程と、
前記素体の電極予定箇所に、前記コイル導体と接続する外部電極をめっきにより形成するめっき層形成工程と、
を有し、
前記素体成型工程において、
前記素体は、前記コアを構成する前記第1金属磁性粒子と前記第2金属磁性粒子と前記樹脂とを含む混合粉を加熱しながら加圧することで形成され、
前記コイル導体は、前記素体の形成に用いられる前記混合粉よりも前記第1金属磁性粒子の含有量が少ない前記混合粉を付着させた状態で、前記コアに埋設される、
インダクタの製造方法。
発明の詳細な説明
【技術分野】
【0001】
本発明は、インダクタおよびインダクタの製造方法に関する。
続きを表示(約 2,200 文字)
【背景技術】
【0002】
特許文献1には、インダクタ等の電子部品に用いる複合磁性粒子が開示されている。この複合磁性粒子は、第1樹脂材料から成る第1樹脂部で被覆された第1金属磁性粒子と、第1樹脂材料よりも分子量が大きい第2樹脂材料から成る第2樹脂部を介して第1金属磁性粒子に結着する、第1金属磁性粒子よりも小径な第2金属磁性粒子と、を備える。特許文献1では、上記のように構成された複合磁性粒子は、樹脂組成物と混合した際の凝集が抑制されるとされている。
【先行技術文献】
【特許文献】
【0003】
特開2020-161753号公報
【発明の概要】
【発明が解決しようとする課題】
【0004】
金属磁性粒子と樹脂から成る磁性コアとしての素体にコイル導体を内包するインダクタでは、金属磁性粒子を樹脂に混合した際の金属磁性粒子の凝集を抑制することで、素体内部における磁気特性の不均一性を低減することができる。しかしながら、素体内部における磁気特性が均一であったとしても、コイル導体へ通電した際に素体内部に発生する磁界分布に偏りがあると、素体内部において局所的な磁気飽和が発生し、インダクタとしての磁気飽和許容電流が低下し得る。
【0005】
本発明の目的は、金属磁性粒子と樹脂から成る素体にコイル導体を内包するインダクタにおいて、素体内における局所的な磁気飽和の発生を抑制して磁気飽和許容電流を向上することである。
【課題を解決するための手段】
【0006】
本発明の一態様は、絶縁被膜を有する第1金属磁性粒子と、絶縁被膜を有し且つ前記第1金属磁性粒子より平均粒径の小さい第2金属磁性粒子と、樹脂と、を含むコアと、前記コアに埋め込まれた、コイルを構成する導体である巻回部を有するコイル導体と、を有する素体を備え、前記素体は、前記巻回部の中心軸と交差して互いに対向する二つの主面を有し、前記巻回部の中心軸と平行な、前記素体の断面において、前記コアと前記巻回部との境界線である導体境界線からの距離が所定の距離以下である前記第1金属磁性粒子の、前記導体境界線に沿った単位長さ当たりの数である第1数密度は、前記素体の少なくとも一方の前記主面の位置を示す境界線である表面境界線からの距離が前記所定の距離以下である前記第1金属磁性粒子の、前記表面境界線に沿った単位長さあたりの数である第2数密度より低い、インダクタである。
【0007】
本発明の他の態様は、巻回部を有するコイル導体を作製するコイル導体形成工程と、絶縁被膜を有する第1金属磁性粒子と、絶縁被膜を有し且つ前記第1金属磁性粒子より平均粒径の小さい第2金属磁性粒子と、樹脂と、を含むコアに前記コイル導体を埋設して素体を形成する素体成型工程と、前記素体の電極予定箇所に、前記コイル導体と接続する外部電極をめっきにより形成するめっき層形成工程と、を有し、前記素体成型工程では、前記素体は、前記コアを構成する前記第1金属磁性粒子と前記第2金属磁性粒子と前記樹脂とを含む混合粉を加熱しながら加圧することで形成され、前記素体の外面であって前記巻回部の中心軸と交差する前記素体の少なくとも一つの主面の部分は、前記素体の他の部分を形成する前記混合粉に比べて、前記第1金属磁性粒子の含有量が多い前記混合粉により形成される、インダクタの製造方法である。
【0008】
本発明の更に他の態様は、コイル導体を作製するコイル導体形成工程と、絶縁被膜を有する第1金属磁性粒子と、絶縁被膜を有し且つ前記第1金属磁性粒子より平均粒径の小さい第2金属磁性粒子と、樹脂と、を含むコアに前記コイル導体を埋設して素体を形成する素体成型工程と、前記素体の電極予定箇所に、前記コイル導体と接続する外部電極をめっきにより形成するめっき層形成工程と、を有し、前記素体成型工程において、前記素体は、前記コアを構成する前記第1金属磁性粒子と前記第2金属磁性粒子と前記樹脂とを含む混合粉を加熱しながら加圧することで形成され、前記コイル導体は、前記素体の形成に用いられる前記混合粉よりも前記第1金属磁性粒子の含有量が少ない前記混合粉を付着させた状態で、前記コアに埋設される、インダクタの製造方法である。
【発明の効果】
【0009】
本発明によれば、金属磁性粒子と樹脂から成る素体にコイル導体を内包するインダクタにおいて、素体内における局所的な磁気飽和の発生を抑制して磁気飽和許容電流を向上することができる。
【図面の簡単な説明】
【0010】
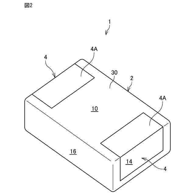
本発明の実施形態に係るインダクタを上面の側から視た斜視図である。
インダクタを底面の側から視た斜視図である。
インダクタの内部構成を示す透視斜視図である。
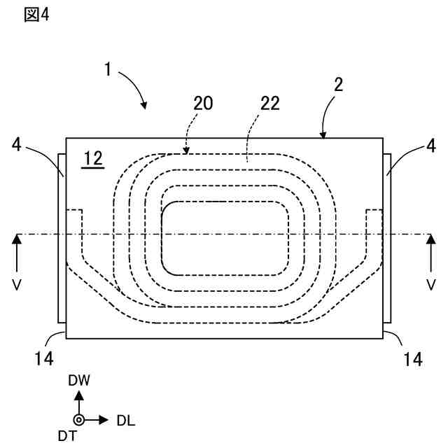
図3に示すインダクタを上面の側から視た平面透視図である。
図4に示すインダクタのV-V断面図である。
素体の導体境界線近傍の部分拡大図である。
インダクタの製造工程を示す図である。
【発明を実施するための形態】
(【0011】以降は省略されています)
この特許をJ-PlatPat(特許庁公式サイト)で参照する
関連特許
株式会社村田製作所
二次電池
1か月前
株式会社村田製作所
切断装置
6日前
株式会社村田製作所
コイル部品
1か月前
株式会社村田製作所
弾性波装置
7日前
株式会社村田製作所
ネブライザ
1か月前
株式会社村田製作所
電池パック
27日前
株式会社村田製作所
超音波ノズル
6日前
株式会社村田製作所
フィルタ装置
29日前
株式会社村田製作所
電力増幅回路
1か月前
株式会社村田製作所
外観検査装置
1か月前
株式会社村田製作所
電力システム
1か月前
株式会社村田製作所
インダクタ部品
27日前
株式会社村田製作所
インダクタ部品
1か月前
株式会社村田製作所
インダクタ部品
27日前
株式会社村田製作所
インダクタ部品
27日前
株式会社村田製作所
インダクタ部品
27日前
株式会社村田製作所
インダクタ部品
27日前
株式会社村田製作所
指装着デバイス
20日前
株式会社村田製作所
インダクタ部品
15日前
株式会社村田製作所
インダクタ部品
15日前
株式会社村田製作所
高周波モジュール
1か月前
株式会社村田製作所
積層体の切断装置
29日前
株式会社村田製作所
正極及び二次電池
27日前
株式会社村田製作所
積層体の切断装置
29日前
株式会社村田製作所
伸縮性コイル部品
1か月前
株式会社村田製作所
健康管理システム
8日前
株式会社村田製作所
高周波電力増幅器
6日前
株式会社村田製作所
高周波電力増幅器
6日前
株式会社村田製作所
固体電解コンデンサ
22日前
株式会社村田製作所
積層セラミック電子部品
1か月前
株式会社村田製作所
ニッケル粉末の製造方法
6日前
株式会社村田製作所
ニッケル粉末の製造方法
6日前
株式会社村田製作所
積層セラミックコンデンサ
27日前
株式会社村田製作所
積層セラミックコンデンサ
27日前
株式会社村田製作所
熱拡散デバイス及び電子機器
29日前
株式会社シマノ
電動リール
14日前
続きを見る
他の特許を見る