TOP
|
特許
|
意匠
|
商標
特許ウォッチ
Twitter
他の特許を見る
10個以上の画像は省略されています。
公開番号
2025169761
公報種別
公開特許公報(A)
公開日
2025-11-14
出願番号
2024074839
出願日
2024-05-02
発明の名称
指装着デバイス
出願人
株式会社村田製作所
代理人
個人
,
個人
主分類
A61B
5/11 20060101AFI20251107BHJP(医学または獣医学;衛生学)
要約
【課題】種々の歩行態様において指装着デバイスの装着の向きを精度よく判定することが可能な指装着デバイスを提供する。
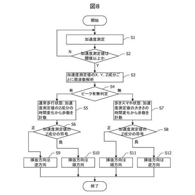
【解決手段】指に装着される環状部材に、加速度センサ及び処理部が支持されている。環状部材への指の挿抜方向をZ方向とするXYZ直交座標系を定義する。処理部は、加速度センサで測定された加速度測定値のZ成分の周波数スペクトルが最大のピークを示す周波数の半分の周波数の位置に、加速度測定値のX成分及びY成分の少なくとも一方の周波数スペクトルのピークが有るか否かのピーク有無判定処理を行う。さらに、処理部は、ピーク有無判定処理の結果と、加速度測定値のZ成分の符号とに基づいて、環状部材のZ方向に関する装着の向きを判定する機能を有する。
【選択図】図8
特許請求の範囲
【請求項1】
指に装着される環状部材と、
前記環状部材に支持された加速度センサと、
前記環状部材に支持された処理部と
を備え、
前記環状部材への指の挿抜方向をZ方向とするXYZ直交座標系を定義したとき、
前記処理部は、
前記加速度センサで測定された加速度測定値のZ成分の周波数スペクトルが最大のピークを示す周波数の半分の周波数の位置に、前記加速度測定値のX成分及びY成分の少なくとも一方の周波数スペクトルのピークが有るか否かのピーク有無判定処理を行い、
前記ピーク有無判定処理の結果と、前記加速度測定値のZ成分の符号とに基づいて、前記環状部材のZ方向に関する装着の向きを判定する機能を有する指装着デバイス。
続きを表示(約 890 文字)
【請求項2】
前記環状部材は、XZ面に関して非対称であり、
前記処理部は、前記ピーク有無判定処理の結果と、前記加速度測定値のZ成分の符号と、前記加速度測定値のX成分の符号とに基づいて、前記環状部材が装着されている指が右手の指か左手の指かを判定する機能を有する請求項1に記載の指装着デバイス。
【請求項3】
前記処理部は、
前記ピーク有無判定処理の結果が「ピーク有り」の場合、前記加速度測定値のZ成分の時間変化に基づいて歩数を計算し、
前記ピーク有無判定処理の結果が「ピーク無し」の場合、前記加速度測定値の大きさの時間変化に基づいて歩数を計算する請求項1または2に記載の指装着デバイス。
【請求項4】
前記処理部は、
前記加速度測定値の時間変化に基づいて、所定の指令動作が行われたことを検出する機能と、
前記指令動作が行われたことを検出すると、前記指令動作に対応する処理を実行する請求項1または2に記載の指装着デバイス。
【請求項5】
さらに、前記環状部材に支持された無線通信部を備えており、
前記処理部は、前記指令動作に対応する処理として、前記処理部は、前記無線通信部を介して外部機器に対する操作指令を送信する請求項4に記載の指装着デバイス。
【請求項6】
さらに、
前記環状部材で囲まれた空間に光を放射する発光素子と放射された光が乱反射した光を受光する受光素子、または前記環状部材の内周面側の温度及び外周面側の温度を測定する温度センサが前記環状部材に支持されており、
前記処理部は、前記発光素子と前記受光素子とによる測定結果、または前記温度センサによる測定結果に基づいて、前記環状部材が指に装着されているか否かを判定する機能を有する請求項1または2に記載の指装着デバイス。
【請求項7】
前記処理部は、前記環状部材が指に装着されていないと判定した場合は、前記ピーク有無判定処理を実行しない請求項6に記載の指装着デバイス。
発明の詳細な説明
【技術分野】
【0001】
本発明は、指装着デバイスに関する。
続きを表示(約 2,800 文字)
【背景技術】
【0002】
腕装着型の電子機器の腕への装着の向きを判別することが可能な電子機器が公知である(特許文献1)。この電子機器は、検出される加速度の範囲に基づいて、電子機器の装着の向きを判別する。この判別には、歩行時に、真下に垂らした状態から主に前方に腕が振れ、後方にはほとんど腕が振れないことが利用されている。
【先行技術文献】
【特許文献】
【0003】
特開2013-61176号公報
【発明の概要】
【発明が解決しようとする課題】
【0004】
従来の電子機器では、前方に大きく腕を振らないで歩行する場合や、電子機器を装着した方の手でスマートフォンを持って歩行する場合には、装着の向きを高精度に判別することができない。本発明の目的は、種々の歩行態様において指装着デバイスの装着の向きを精度よく判定することが可能な指装着デバイスを提供することである。
【課題を解決するための手段】
【0005】
本発明の一観点によると、
指に装着される環状部材と、
前記環状部材に支持された加速度センサと、
前記環状部材に支持された処理部と
を備え、
前記環状部材への指の挿抜方向をZ方向とするXYZ直交座標系を定義したとき、
前記処理部は、
前記加速度センサで測定された加速度測定値のZ成分の周波数スペクトルが最大のピークを示す周波数の半分の周波数の位置に、前記加速度測定値のX成分及びY成分の少なくとも一方の周波数スペクトルのピークが有るか否かのピーク有無判定処理を行い、
前記ピーク有無判定処理の結果と、前記加速度測定値のZ成分の符号とに基づいて、前記環状部材のZ方向に関する装着の向きを判定する機能を有する指装着デバイスが提供される。
【発明の効果】
【0006】
上述のピーク有無判定処理により、通常歩行状態か、スマートフォン等を持って歩行している状態かを判別することができる。この歩行状態の別、及び加速度測定値のZ成分の符号に基づいて指装着デバイスの装着の向きを判定するため、判定精度を高めることができる。
【図面の簡単な説明】
【0007】
図1は、第1実施例による指装着デバイスの概略斜視図である。
図2は、第1実施例による指装着デバイスのブロック図である。
図3Aから図3Dまでの図面は、通常歩行状態で測定された加速度測定値の周波数スペクトルを示すグラフである。
図4Aから図4Dまでの図面は、歩きスマホ状態で測定された加速度測定値の周波数スペクトルを示すグラフである。
図5Aから図5Dまでの図面は、通常歩行状態で測定された加速度測定値のZ成分の時間変化を示すグラフである。
図6Aから図6Dまでの図面は、歩きスマホ状態で測定された加速度測定値のZ成分の時間変化を示すグラフである。
図7は、図3Aから図6Dまでの図面に示した測定結果から得られる情報をまとめて示す図表である。
図8は、処理部50(図2)が実行する処理の手順を示すフローチャートである。
図9は、第2実施例による指装着デバイスの正面図である。
図10Aから図10Dまでの図面は、通常歩行状態のときに測定された加速度測定値のX成分、Y成分、及びZ成分の時間変化を示すグラフである。
図11Aから図11Dまでの図面は、歩きスマホ状態のときに測定された加速度測定値のX成分、Y成分、及びZ成分の時間変化を示すグラフである。
図12は、図10Aから図11Dまでの図面に示した測定結果から得られる情報をまとめて示す図表である。
図13は、第2実施例による指装着デバイスの処理部50(図2)が実行する処理の手順を示すフローチャートである。
図14は、指装着デバイスが装着状態か否かを判定する方法を説明するための指装着デバイスの概略断面図である。
図15Aは、第3実施例による指装着デバイスの断面図であり、図15Bは、図15Aに示した指装着デバイスの支持部材80Aの断面図であり、図15Cは、支持部材80Aを取り巻く複数の部品の断面図である。
図16は、第3実施例による指装着デバイスのブロック図である。
図17は、処理部50が行う制御の状態遷移図である。
図18は、第1モード51及び第2モード52のときの処理部50が行う制御のタイミングチャートである。
図19は、第4実施例による指装着デバイスの処理部50(図16)が第1モード51で制御を行っているときの状態遷移図である。
図20は、第5実施例による指装着デバイスの処理部50が実行する手順を示すフローチャートである。
図21は、第5実施例の変形例による指装着デバイスの処理部50が、図20の生体データ送信(ステップSA6)時に実行する手順を示すフローチャートである。
図22は、第6実施例による生体情報収集装置のブロック図である。
図23は、制御端末110が実行する処理の手順を示すフローチャートである。
【発明を実施するための形態】
【0008】
[第1実施例]
図1から図8までの図面を参照して、第1実施例による指装着デバイスについて説明する。
図1は、第1実施例による指装着デバイスの概略斜視図である。環状部材80に、加速度センサ20、処理部50、及びメモリ60が支持されている。環状部材80は、指に装着された状態で使用される。図1には示されていないが、加速度センサ20、処理部50、及びメモリ60を動作させるためのバッテリーが環状部材80に支持されている。
【0009】
環状部材80への指の挿抜方向をZ方向とする右手系のXYZ直交座標系を定義する。すなわち、右ネジをX軸の正の向きからY軸の正の向きに向かって回転させたとき、ネジが進む向きがZ軸の正の向きである。加速度センサ20は、X軸、Y軸、及びZ軸の3軸方向の加速度を測定することができる。
【0010】
図2は、第1実施例による指装着デバイスのブロック図である。第1実施例による指装着デバイスは、加速度センサ20、処理部50、及びメモリ60を含む。なお、加速度センサ20の他に、ジャイロセンサを含んでもよい。処理部50は、例えばMPUを含み、処理部50がメモリ60に保存されたプログラムを実行することにより、種々の機能が実現される。メモリ60には、その他に種々のデータが保存される。
(【0011】以降は省略されています)
この特許をJ-PlatPat(特許庁公式サイト)で参照する
関連特許
株式会社村田製作所
切断装置
7日前
株式会社村田製作所
弾性波装置
8日前
株式会社村田製作所
電池パック
28日前
株式会社村田製作所
外観検査装置
1か月前
株式会社村田製作所
電力増幅回路
1か月前
株式会社村田製作所
超音波ノズル
7日前
株式会社村田製作所
フィルタ装置
1か月前
株式会社村田製作所
インダクタ部品
16日前
株式会社村田製作所
インダクタ部品
16日前
株式会社村田製作所
インダクタ部品
28日前
株式会社村田製作所
インダクタ部品
28日前
株式会社村田製作所
インダクタ部品
28日前
株式会社村田製作所
インダクタ部品
28日前
株式会社村田製作所
インダクタ部品
1か月前
株式会社村田製作所
指装着デバイス
21日前
株式会社村田製作所
インダクタ部品
28日前
株式会社村田製作所
正極及び二次電池
28日前
株式会社村田製作所
積層体の切断装置
1か月前
株式会社村田製作所
積層体の切断装置
1か月前
株式会社村田製作所
高周波モジュール
1か月前
株式会社村田製作所
高周波電力増幅器
7日前
株式会社村田製作所
高周波電力増幅器
7日前
株式会社村田製作所
健康管理システム
9日前
株式会社村田製作所
固体電解コンデンサ
23日前
株式会社村田製作所
ニッケル粉末の製造方法
7日前
株式会社村田製作所
ニッケル粉末の製造方法
7日前
株式会社村田製作所
積層セラミック電子部品
1か月前
株式会社村田製作所
積層セラミックコンデンサ
28日前
株式会社村田製作所
積層セラミックコンデンサ
28日前
株式会社村田製作所
熱拡散デバイス及び電子機器
1か月前
株式会社シマノ
電動リール
15日前
株式会社村田製作所
コイル部品およびその製造方法
28日前
株式会社村田製作所
高周波モジュール及び通信装置
1か月前
株式会社村田製作所
フィルタ装置及びマルチプレクサ
15日前
株式会社村田製作所
健康管理システム及び健康管理方法
9日前
株式会社村田製作所
振動装置および触覚提示モジュール
8日前
続きを見る
他の特許を見る