TOP
|
特許
|
意匠
|
商標
特許ウォッチ
Twitter
他の特許を見る
公開番号
2025058794
公報種別
公開特許公報(A)
公開日
2025-04-09
出願番号
2023179177
出願日
2023-09-28
発明の名称
ホバーアイロン
出願人
個人
代理人
主分類
A61L
2/07 20060101AFI20250402BHJP(医学または獣医学;衛生学)
要約
【課題】布団シーツ、ベッドシーツの皺を伸ばし、かつ殺菌消臭する為のアイロンを提供する。
【解決手段】このホバーアイロンは、本体の中に小型で強力なモーターが内蔵されており、空気を圧縮する為のプロペラが付けてあり、外側には空気を取り込める為に外壁(スカート)で機体の下部を囲む様に空気を外部に逃がさない様にする事で、アイロンが浮く事で軽くなり熱水蒸気も中に籠り殺菌でき消臭も出来、皺も伸ばし乾燥し最後には香りを付けることができる。
【選択図】図1
特許請求の範囲
【請求項1】
エアークッション、ホバークラフト原現を利用した物である。
続きを表示(約 270 文字)
【請求項2】
小型のモーターとプロペラを、取り付けた物である。
【請求項3】
熱スチーム(飽和水蒸気)で加熱させ消毒、除菌させ布団のシーツを消臭させるための物である。
【請求項4】
スチームをシーツにミスト状の熱い飽和水蒸気を、噴霧させ殺菌、除菌、消臭させるための物である。
【請求項5】
布団、ベッドのシーツの皺を伸ばし、皺を取るための物である。
【請求項6】
布団のシーツ、ベッドのシーツに爽やかな香りを付ける為の香りのミストを、掛ける噴射口も付けた物である。
発明の詳細な説明
【技術分野】
【0001】
布団シーツ、ベッドシーツの皺を伸ばし取る為に考案したアイロンである。アイロン本体に小型の強力モーターとプロペラを取り付け、ミストの熱水蒸気を掛け殺菌と消毒が出来る様にした世界初の画期的なアイロンである。
続きを表示(約 1,300 文字)
【背景技術】
【0002】
旅館、ホテル業界は、人手不足で困っている。インバウンドが始まり、物価高も重なり、リネンも高くなり、旅館、ホテルの減収で利益を得る為に毎回のシーツの洗濯は、経費の圧迫になる。そこで、連泊のお客様のシーツは、このホバー皺取りアイロンで皺を伸ばし殺菌消臭する事で経費削減になるのである。
【発明の開示】
【発明が解決しようとする課題】
【0003】
このホバーアイロンは、本体の中に小型で強力なモーターが内蔵されており、空気を圧縮する為のプロペラが付けてあり、外側には空気を取り込める為に外壁(スカート)で機体の下部を囲む様に空気を外部に逃がさない様にする事で、アイロンが浮く事で軽くなり熱水蒸気も中に籠り殺菌でき消臭も出来、皺も伸ばし乾燥し最後には香りを付ける事で旅館、ホテルの利益増収に貢献するのである。
【課題を解決するための手段】
【0004】
ホバーアイロンは、世界初、日本が世界に誇れる技術であり、初めてサービス業界、日本のおもてなし文化に貢献出来る物であり、特に優れるのは軽くて使い易く衛生的で、アイロンを掛けるだけで一石三鳥の活躍をする事である。
【発明の効果】
【0005】
今までに無かったホバーアイロンで見え方は、大きく見えるが圧縮空気が、アイロンを持ち上げるので簡単に誰でも使えて楽である。前にも述べた様に、殺菌除菌消臭、皺取り、皺伸ばし乾燥、香り付けと自分たちで出来るので経済的である。
【発明を実施するための最良の形態】
【0006】
世界初の日本の技術で、世界に類を見ない日本のテクノロジーで世界を驚かすホバーアイロンである。旅館、ホテル、あらゆるサービス業のおもてなし文化で、人手不足に一役買うホバーアイロンである。
【 実施例】
【0007】
毎回述べているが、まだ、試作段階であるが試作の結果思った通りであったのである。
【産業上の利用可能性】
【0008】
インバウンド、人手不足、物価高と目の回る現状の変化、少しでも経費削減を、自分自身で身を削って時代を乗り切る事で、このホバーアイロンは、産業界に大いに貢献するアイロンである。
【図面の簡単な説明】
【0009】
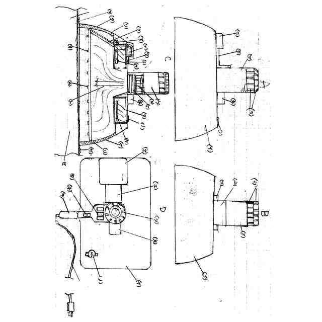
図面の名称 Aはホバーアイロンの正面図 Bはホバーアイロンの側面図 Cはホバーアイロンの断面図 Dはホバーアイロンの上面図 (ア)ホバーアイロン (イ)スカート(外壁) (ウ)モーター (エ)集積回路 (オ)ミストノズル噴射口 (カ)飽和熱水蒸気噴出口 (キ)切り替スイッチ (ク)ICチップ (ケ)ヒーター(熱源) (コ)シーツ (サ)皺 (シ)コード (ス)水タンク (セ)ベッド (ソ)ゴムスカート (タ)ステンレスカバー (チ)風量切り替スウィッチ (ツ)送風機(フアン) (テ)ハンドル (ト)風圧 (ナ)送水管 (二)水圧ポンプ (ヌ)圧力弁 (ネ)電気配線ボックス (ノ)フタ
この特許をJ-PlatPat(特許庁公式サイト)で参照する
関連特許
個人
貼付剤
4日前
個人
短下肢装具
3か月前
個人
嚥下鍛錬装置
3か月前
個人
洗井間専家。
7か月前
個人
前腕誘導装置
3か月前
個人
白内障治療法
7か月前
個人
排尿補助器具
17日前
個人
矯正椅子
5か月前
個人
アイマスク装置
2か月前
個人
胸骨圧迫補助具
1か月前
個人
ホバーアイロン
6か月前
個人
歯の修復用材料
4か月前
個人
腰ベルト
7日前
個人
バッグ式オムツ
4か月前
個人
汚れ防止シート
1か月前
個人
ウォート指圧法
15日前
個人
車椅子持ち上げ器
7か月前
個人
シャンプー
6か月前
個人
哺乳瓶冷まし容器
3か月前
三生医薬株式会社
錠剤
7か月前
個人
陣痛緩和具
3か月前
個人
湿布連続貼り機。
2か月前
個人
歯の保護用シール
5か月前
個人
性行為補助具
3か月前
株式会社大野
骨壷
4か月前
個人
服薬支援装置
7か月前
株式会社八光
剥離吸引管
5か月前
個人
治療用酸化防御装置
1か月前
個人
エア誘導コルセット
2か月前
株式会社コーセー
化粧料
14日前
株式会社ニデック
検眼装置
3か月前
株式会社ニデック
眼科装置
21日前
個人
形見の製造方法
4か月前
株式会社松風
口腔用組成物
3か月前
個人
精力増強キット
1か月前
株式会社ダリヤ
皮膚化粧料
7か月前
続きを見る
他の特許を見る