TOP
|
特許
|
意匠
|
商標
特許ウォッチ
Twitter
他の特許を見る
10個以上の画像は省略されています。
公開番号
2025161671
公報種別
公開特許公報(A)
公開日
2025-10-24
出願番号
2024065051
出願日
2024-04-13
発明の名称
腰ベルト
出願人
個人
代理人
個人
主分類
A61F
5/02 20060101AFI20251017BHJP(医学または獣医学;衛生学)
要約
【課題】腰の曲げ伸ばしによって上方にずれにくい腰ベルトを提供する。
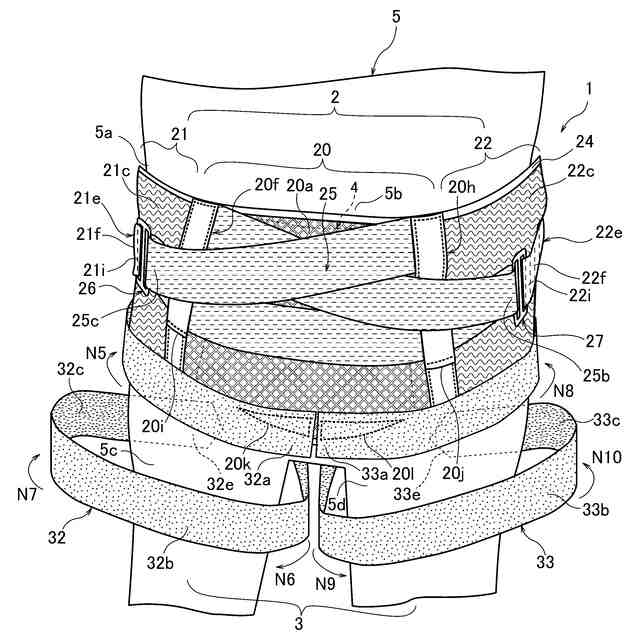
【解決手段】腰ベルト1は、本体部2と、本体部2の位置ずれを防止する位置ずれ防止部3とを備える。本体部2は、腰当て部20と、腰当て部20の両側部から左右方向に延び、伸縮性を有する一対の巻き付け部(左巻き付け部21,右巻き付け部22)とを含む。位置ずれ防止部3は、後端部32a,33aが腰当て部20に固定され、左右の大腿部に巻き付ける一対の大腿ベルト(左大腿ベルト32,右大腿ベルト33)と、前記左右の大腿部に巻き付けられた前記一対の大腿ベルトの各々の先端部32e,33eの近傍を留めるための一対の大腿ベルト留め具(左大腿ベルトアジャスター30,右大腿ベルトアジャスター31)とを含む。前記一対の大腿ベルト留め具の各々は、前記一対の巻き付け部のいずれかに取り付けられている。
【選択図】図2
特許請求の範囲
【請求項1】
装着者の腰部を固定するための腰ベルトであって、
帯状体であり、前記装着者の前記腰部を含む胴部に巻き付ける本体部と、
前記本体部が上方に位置ずれするのを防止する位置ずれ防止部と、を備え、
前記本体部は、前記帯状体の略中央に設けられ、前記腰部に当てるための腰当て部と、前記腰当て部の両側部から左右方向に延び、伸縮性を有し、前記腰当て部を前記腰部に当てて保持するために前記装着者の前記胴部に巻き付ける一対の巻き付け部と、を含み、
前記位置ずれ防止部は、後端部が前記腰当て部に設けられた固定部に固定され、前記装着者の左右の大腿部に巻き付ける一対の大腿ベルトと、前記左右の大腿部に巻き付けられた前記一対の大腿ベルトの各々の先端部の近傍を留めるための一対の大腿ベルト留め具と、を含み、
前記一対の大腿ベルト留め具の各々は、前記一対の巻き付け部のいずれかに取り付けられている、腰ベルト。
続きを表示(約 2,000 文字)
【請求項2】
請求項1に記載の腰ベルトであって、
前記固定部は、前記腰当て部の下部に設けられており、
前記一対の大腿ベルトの各々は、それぞれ前記腰当て部の前記固定部において左右の外側に向けて固定されており、前記左右の大腿部の各々の外側部から内側部に沿って巻き付けられる、腰ベルト。
【請求項3】
請求項2に記載の腰ベルトであって、
前記一対の大腿ベルトの各々は、それぞれ前記左右の外側に向けられるとともに斜め下方向に向けて固定されている、腰ベルト。
【請求項4】
請求項1に記載の腰ベルトであって、
前記一対の巻き付け部の各々は、第1の巻き付け部と第2の巻き付け部とであり、
第1の巻き付け部と第2の巻き付け部とは、前記腰当て部の前記両側部の各々に近い位置に配置され、前記伸縮性を生じさせる伸縮領域と、前記伸縮領域よりも前記腰当て部から遠い位置に配置された非伸縮領域とを有しており、
前記第1の巻き付け部が有する前記非伸縮領域の外面と前記第2の巻き付け部が有する前記非伸縮領域の内面とは、面ファスナーを形成して互いに接着でき、
前記一対の大腿ベルト留め具の各々は、下記の(a)~(d)のいずれかのように、取り付けられている、腰ベルト。
(a)両方とも前記第2の巻き付け部が有する前記非伸縮領域の外面に
(b)前記第2の巻き付け部が有する前記非伸縮領域の外面と前記伸縮領域の外面とに分けて
(c)前記第1の巻き付け部が有する前記非伸縮領域の前記外面と前記第2の巻き付け部が有する前記非伸縮領域の外面とに分けて
(d)前記第1の巻き付け部が有する前記伸縮領域の外面と前記第2の巻き付け部が有する前記伸縮領域の外面とに分けて
【請求項5】
請求項1に記載の腰ベルトであって、
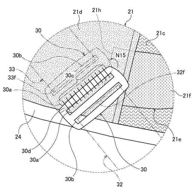
前記一対の大腿ベルトの各々は、表面と裏面とを有し、
前記表面には、表ループ面又は表フック面のいずれかが形成され、
前記表面において、前記先端部には、前記表ループ面又は前記表フック面の前記いずれかと面ファスナーを形成し得るフック片又はループ片のいずれかが形成されており、
前記一対の大腿ベルト留め具の各々は、前記一対の大腿ベルトの各々を前記先端部の近傍で折り返すことにより反転し、
前記一対の大腿ベルトの各々において、前記フック片又は前記ループ片が形成された前記先端部と前記表面に形成された前記表ループ面又は前記表フック面とは、前記面ファスナーを形成して互いに接着する、腰ベルト。
【請求項6】
請求項5に記載の腰ベルトであって、
前記裏面には、前記表面と面ファスナーを形成して互いに接着可能な裏フック面又は裏ループ面のいずれかが形成されており、
前記フック片又は前記ループ片は、前記先端部において、前記裏フック面又は前記裏ループ面の前記いずれかを折り返して形成されたものである、腰ベルト。
【請求項7】
請求項1に記載の腰ベルトであって、
前記一対の大腿ベルト留め具の各々は、前記一対の巻き付け部の前記いずれかにおいて前記装着者から見て内側方向及び外側方向に回動可能に軸支される回動軸を有し、
前記装着者が前記一対の大腿ベルトを前記左右の大腿部に巻き付ける場合には、前記一対の大腿ベルト留め具の各々は、前記回動軸を中心にして前記外側方向に回動され、前記一対の大腿ベルト留め具の各々と同じ側に固定された前記一対の大腿ベルトの各々を留め、
前記装着者が前記一対の大腿ベルトを前記左右の大腿部に巻き付けない場合には、前記一対の大腿ベルト留め具の各々は、前記回動軸を中心にして前記内側方向に回動され、前記一対の大腿ベルト留め具の各々と反対側に固定された前記一対の大腿ベルトの各々を留める、腰ベルト。
【請求項8】
請求項1に記載の腰ベルトであって、
前記一対の大腿ベルト留め具の各々は、雄部品と雌部品とを有するテープアジャスターバックルであり、
前記雄部品及び前記雌部品の一方は、前記一対の巻き付け部の前記いずれかに取り付けられており、他方は、前記一対の大腿ベルトの各々に、前記一対の大腿ベルトの各々の長さを調整可能に取り付けられており、
前記テープアジャスターバックルは、前記雄部品を前記雌部品に嵌め合わせることにことにより、前記一対の巻き付け部の前記いずれかと前記一対の大腿ベルトの各々とを連結し、前記一対の巻き付け部の前記いずれかと前記一対の大腿ベルトの各々とを連結した状態で前記一対の大腿ベルトの各々の長さを調節する、腰ベルト。
発明の詳細な説明
【技術分野】
【0001】
本発明は、装着者の腰部を固定するための腰ベルトに関する。
続きを表示(約 1,600 文字)
【背景技術】
【0002】
特許文献1には、伸縮性を有する第1の補助バンド部及び第2の補助バンド部を腰当て部の上辺近傍で交差させることにより、装着者の腰部を効率よく押圧すると共に、装着者の体表面へのフィット性を高めた腰ベルトが記載されている。
【0003】
しかしながら、前記従来技術においては、次に述べるように改善すべき点があった。
【0004】
すなわち、装着者がこのような腰ベルトを装着して運動や作業をした場合でも、腰の曲げ伸ばしによって腰ベルトが上方にずれ、装着位置を修正しなければならないという問題があった。
【先行技術文献】
【特許文献】
【0005】
特開2013-138823号公報
【発明の概要】
【発明が解決しようとする課題】
【0006】
本発明は、前記したような事情のもとで考え出されたものであって、装着者が装着し運動や作業をした場合に、腰の曲げ伸ばしによって上方にずれにくく、装着位置の修正をする頻度を少なくできる腰ベルトを提供することを目的としている。
【課題を解決するための手段】
【0007】
本発明により提供される腰ベルトは、帯状体であり、前記装着者の前記腰部を含む胴部に巻き付ける本体部と、前記本体部が上方に位置ずれするのを防止する位置ずれ防止部と、を備え、前記本体部は、前記帯状体の略中央に設けられ、前記腰部に当てるための腰当て部と、前記腰当て部の両側部から左右方向に延び、伸縮性を有し、前記腰当て部を前記腰部に当てて保持するために前記装着者の前記胴部に巻き付ける一対の巻き付け部と、を含み、前記位置ずれ防止部は、後端部が前記腰当て部に設けられた固定部に固定され、前記装着者の左右の大腿部に巻き付ける一対の大腿ベルトと、前記左右の大腿部に巻き付けられた前記一対の大腿ベルトの各々の先端部の近傍を留めるための一対の大腿ベルト留め具と、を含み、前記一対の大腿ベルト留め具の各々は、前記一対の巻き付け部のいずれかに取り付けられていることを特徴としている。
【0008】
好ましくは、前記固定部は、前記腰当て部の下部に設けられており、前記一対の大腿ベルトの各々は、それぞれ前記腰当て部の前記固定部において左右の外側に向けて固定されており、前記左右の大腿部の各々の外側部から内側部に沿って巻き付けられる。
【0009】
好ましくは、前記一対の大腿ベルトの各々は、それぞれ前記左右の外側に向けられるとともに斜め下方向に向けて固定されている。
【0010】
好ましくは、前記一対の巻き付け部の各々は、第1の巻き付け部と第2の巻き付け部とであり、第1の巻き付け部と第2の巻き付け部とは、前記腰当て部の前記両側部の各々に近い位置に配置され、前記伸縮性を生じさせる伸縮領域と、前記伸縮領域よりも前記腰当て部から遠い位置に配置された非伸縮領域とを有しており、前記第1の巻き付け部が有する前記非伸縮領域の外面と前記第2の巻き付け部が有する前記非伸縮領域の内面とは、面ファスナーを形成して互いに接着でき、前記一対の大腿ベルト留め具の各々は、下記の(a)~(d)のいずれかのように、取り付けられている。
(a)両方とも前記第2の巻き付け部が有する前記非伸縮領域の外面に
(b)前記第2の巻き付け部が有する前記非伸縮領域の外面と前記伸縮領域の外面とに分けて
(c)前記第1の巻き付け部が有する前記非伸縮領域の前記外面と前記第2の巻き付け部が有する前記非伸縮領域の外面とに分けて
(d)前記第1の巻き付け部が有する前記伸縮領域の外面と前記第2の巻き付け部が有する前記伸縮領域の外面とに分けて
(【0011】以降は省略されています)
この特許をJ-PlatPat(特許庁公式サイト)で参照する
関連特許
個人
貼付剤
1か月前
個人
簡易担架
23日前
個人
腋臭防止剤
23日前
個人
短下肢装具
4か月前
個人
足踏み器具
1か月前
個人
前腕誘導装置
4か月前
個人
嚥下鍛錬装置
5か月前
個人
排尿補助器具
1か月前
個人
水分吸収性物品
2日前
個人
ウォート指圧法
1か月前
個人
アイマスク装置
3か月前
個人
腰ベルト
1か月前
個人
汚れ防止シート
2か月前
個人
テスト肺
4日前
個人
胸骨圧迫補助具
3か月前
個人
排尿排便補助器具
25日前
個人
美容セット
1か月前
個人
湿布連続貼り機。
3か月前
個人
陣痛緩和具
5か月前
個人
介護移乗アシスト
2日前
個人
哺乳瓶冷まし容器
4か月前
株式会社コーセー
化粧料
1か月前
個人
性行為補助具
4か月前
個人
治療用酸化防御装置
2か月前
個人
エア誘導コルセット
3か月前
株式会社ダリヤ
毛髪化粧料
2か月前
株式会社ダリヤ
毛髪化粧料
2日前
株式会社松風
口腔用組成物
5か月前
個人
シリンダ式歩行補助具
4か月前
株式会社ニデック
眼科装置
2か月前
個人
こむら返り応急治し具
1か月前
株式会社ニデック
眼科装置
2か月前
個人
手指運動ツール
3か月前
個人
精力増強キット
2か月前
株式会社ニデック
眼科装置
1か月前
株式会社ニデック
検眼装置
5か月前
続きを見る
他の特許を見る