TOP
|
特許
|
意匠
|
商標
特許ウォッチ
Twitter
他の特許を見る
10個以上の画像は省略されています。
公開番号
2025167293
公報種別
公開特許公報(A)
公開日
2025-11-07
出願番号
2024071770
出願日
2024-04-25
発明の名称
インダクタ部品
出願人
株式会社村田製作所
代理人
個人
,
個人
,
個人
主分類
H01F
17/04 20060101AFI20251030BHJP(基本的電気素子)
要約
【課題】直流抵抗のばらつきおよび増大を抑制可能なインダクタ部品を提供すること。
【解決手段】インダクタ部品が、第1仮想平面に位置する第1導体層と、第1導体層に設けられ、第1仮想平面に対して交差する第1方向に沿った第1旋回軸まわりに延在する第1インダクタ配線と、第1導体層に接し、第1方向において第1導体層に対して第1インダクタ配線とは反対側に位置する第1層間絶縁層とを備える。第1導体層は、第1旋回軸まわりに延在する第1本体部と、第1本体部から第1旋回軸に接近する方向に延びる第1突出部とを含み、第1方向に沿って見た場合に、第1突出部は、本体部との接続部分から第1層間絶縁層の端部に向かって最短距離で延びていない。
【選択図】図3
特許請求の範囲
【請求項1】
第1仮想平面に位置する第1導体層と、
前記第1導体層上に設けられ、前記第1仮想平面に対して交差する第1方向に沿った第1旋回軸まわりに延在する第1インダクタ配線と、
前記第1導体層に接し、前記第1方向において、前記第1導体層に対して前記第1インダクタ配線とは反対側に位置する第1層間絶縁層と
を備え、
前記第1導体層は、
前記第1旋回軸まわりに延在する第1本体部と、
前記第1本体部から前記第1旋回軸に接近する方向に延びる第1突出部と
を含み、
前記第1方向に沿って見た場合に、前記第1突出部は、前記第1本体部との接続部分から前記第1層間絶縁層の端部に向かって最短距離で延びていない、インダクタ部品。
続きを表示(約 2,900 文字)
【請求項2】
磁性材料を含み、前記第1導体層および前記第1インダクタ配線が内部に位置する素体を備え、
前記素体は、その内部に、前記第1インダクタ配線よりも前記第1旋回軸に近い第1領域と、前記第1インダクタ配線よりも前記第1旋回軸から離れた第2領域とを有し、
前記第1領域および前記第2領域に、前記磁性材料が位置している、請求項1に記載のインダクタ部品。
【請求項3】
前記素体の内部に位置し、前記第1インダクタ配線の前記第1方向に交差する第2方向に交差する側面に接する第1絶縁層を備え、
前記第1突出部の前記第1方向の両端のうち、前記第1インダクタ配線に近い端部が、前記第1絶縁層に接し、
前記第1突出部が延びる方向における前記第1突出部の両端のうち、前記第1本体部から遠い方の端が、前記磁性材料に接している、請求項2に記載のインダクタ部品。
【請求項4】
前記第1導体層は、1.0μm未満の前記第1方向の寸法である厚みを有し、
前記第1導体層の前記厚みは、前記第1インダクタ配線の前記厚みの1/100よりも小さい、請求項1~3のいずれかに記載のインダクタ部品。
【請求項5】
前記第1仮想平面に対して平行に隣接する第2仮想平面に設けられた第2導体層と、
前記第2導体層上に設けられ、前記第1導体層および前記第2導体層の間に位置すると共に、前記第1方向に沿った第2旋回軸まわりに延在する第2インダクタ配線と、
前記第2導体層に接し、前記第1方向において、前記第2導体層に対して前記第2インダクタ配線とは反対側に位置する第2層間絶縁層と
を備え、
前記第2導体層が、
前記第2旋回軸まわりに延在する第2本体部と、
前記第2本体部から前記第2旋回軸に接近する方向に延びる第2突出部と
を含み、
前記第1方向に沿って見た場合に、前記第2突出部は、前記本体部との接続部分から前記第2層間絶縁層の端部に向かって最短距離で延びておらず、
前記第1インダクタ配線が、第1入力素子に接続される第1入力部と、出力素子に接続される第1出力部とを有し、
前記第2インダクタ配線が、前記第1入力素子とは異なる第2入力素子に接続される第2入力部と、前記出力素子に接続される第2出力部とを有し、
前記第1方向に沿って見た場合に、前記第1入力部および前記第2入力部は、前記第1方向に交差する第2方向において離れた位置にあり、前記第1出力部および前記第2出力部は相互に隣接している、請求項1~3のいずれかに記載のインダクタ部品。
【請求項6】
前記第1導体層が、
前記第1本体部から、前記第1方向に交差する第2方向でかつ前記第1旋回軸から離れる方向、または、前記第2方向でかつ前記第1旋回軸に接近する方向に延びる引き出し部を含み、
前記第1方向に沿って見た場合に、前記引き出し部が延びる方向に交差する方向における前記引き出し部の大きさを前記引き出し部の幅とし、前記第1インダクタ配線が延びる方向に交差する方向における前記第1インダクタ配線の大きさを前記第1インダクタ配線の幅とすると、
前記引き出し部の幅が、前記第1インダクタ配線の幅よりも大きい、請求項1~3のいずれかに記載のインダクタ部品。
【請求項7】
前記素体の前記第1方向に交差する外面に設けられた外部端子と、
前記素体の内部に位置する垂直配線と
を備え、
前記垂直配線は、
前記第1方向に沿って見た場合に、前記第1領域および前記第2領域と重ならない位置に設けられ、前記第1方向に交差する第2方向において前記素体の磁性材料と接触していると共に、前記第1方向に延びて前記第1インダクタ配線および前記外部端子を接続している、請求項2に記載のインダクタ部品。
【請求項8】
前記第1導体層が、
前記第1本体部から、前記第1方向に交差する第2方向でかつ前記第1旋回軸に接近する方向に延びる引き出し部を含み、
前記引き出し部は、
前記第2方向において前記第1旋回軸に対向しかつ前記第1旋回軸から最も離れている前記第1本体部の部分に設けられている、請求項1~3のいずれかに記載のインダクタ部品。
【請求項9】
前記第1仮想平面に対して平行に隣接する第2仮想平面に設けられた第2導体層と、
前記第2導体層上に設けられ、前記第1導体層および前記第2導体層の間に位置すると共に、前記第1方向に沿った第2旋回軸まわりに延在する第2インダクタ配線と、
前記第2導体層に接し、前記第1方向において、前記第2導体層に対して前記第2インダクタ配線とは反対側に位置する第2層間絶縁層と
を備え、
前記第2導体層が、
前記第2旋回軸まわりに位置する第2本体部と、
前記第2本体部から前記第2旋回軸に接近する方向に延びる第2突出部と
を含み、
前記第1方向に沿って見た場合に、前記第2突出部は、前記本体部との接続部分から前記第2層間絶縁層の端部に向かって最短距離で延びておらず、
前記第1導体層は、
前記第1本体部から、前記第1方向に交差する第2方向に沿って前記第1旋回軸から離れる方向に延びる第1引き出し部を含み、
前記第2導体層は、
前記第2本体部から、前記第2方向に沿って前記第2旋回軸から離れる方向に延びる第2引き出し部を含む、インダクタ部品であって、
前記第1引き出し部の前記第1方向の両端のうち、前記第1インダクタ配線に近い端部に接する第2絶縁層と、
前記第2引き出し部の前記第1方向の両端のうち、前記第2インダクタ配線に近い端部に接する第3絶縁層と
を備え、
前記第1方向に沿って見た場合に、前記第1引き出し部および前記第2引き出し部は重なる位置にあり、前記第3絶縁層は、前記第2絶縁層と同じ大きさか、または、前記第2絶縁層よりも小さく、前記第2絶縁層は、前記第3絶縁層の全体と重なっている、請求項1~3のいずれかに記載のインダクタ部品。
【請求項10】
前記第1導体層および前記第1インダクタ配線が内部に位置する素体を備え、
前記素体が、前記第1方向に交差する第2方向に交差する側面を有し、
前記第1導体層が、
前記第1本体部から、前記第2方向でかつ前記第1旋回軸から離れる方向に延びる引き出し部を含み、
前記引き出し部の前記第2方向の両端のうち、前記第1本体部から遠い方の先端部が、前記側面から露出し、少なくとも1つの絶縁層に接している、請求項1~3のいずれかに記載のインダクタ部品。
(【請求項11】以降は省略されています)
発明の詳細な説明
【技術分野】
【0001】
本開示は、インダクタ部品に関する。
続きを表示(約 2,000 文字)
【背景技術】
【0002】
特許文献1は、基板と、基板の主面上にめっき成長で設けられたコイルとを備えるコイル部品を開示する。特許文献1のコイル部品では、基板にコイルをめっき成長させるためのシードパターンが形成されている。シードパターンは、螺旋パターンと、螺旋パターンから基板の外部に向かって延びる導通パターンとを含んでいる。
【先行技術文献】
【特許文献】
【0003】
特開2016-103591号公報
【発明の概要】
【発明が解決しようとする課題】
【0004】
特許文献1のコイル部品では、導通パターンが、基板の側面に直交する方向に真っ直ぐに延びているため、製造時に、エッチング液により配線が浸食されて溶解する場合がある。製造時に配線が溶解すると、コイル部品の直流抵抗がばらついたり、直流抵抗が増大したりするおそれがある。
【0005】
本開示は、直流抵抗のばらつきおよび増大を抑制可能なインダクタ部品を提供することを目的とする。
【課題を解決するための手段】
【0006】
本開示の一態様のインダクタ部品は、
第1仮想平面に位置する第1導体層と、
前記第1導体層上に設けられ、前記第1仮想平面に対して交差する第1方向に沿った第1旋回軸まわりに延在する第1インダクタ配線と、
前記第1導体層に接し、前記第1方向において、前記第1導体層に対して前記第1インダクタ配線とは反対側に位置する第1層間絶縁層と
を備え、
前記第1導体層は、
前記第1旋回軸まわりに延在する第1本体部と、
前記第1本体部から前記第1旋回軸に接近する方向に延びる第1突出部と
を含み、
前記第1方向に沿って見た場合に、前記第1突出部は、前記本体部との接続部分から前記第1層間絶縁層の端部に向かって最短距離で延びていない。
【発明の効果】
【0007】
前記態様のインダクタ部品によれば、直流抵抗のばらつきおよび増大を抑制できる。
【図面の簡単な説明】
【0008】
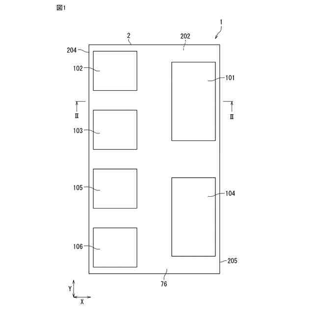
本開示の一態様のインダクタ部品を示す平面図。
図1のII-II線に沿った断面図。
図1のインダクタ部品の第1インダクタ配線および第3インダクタ配線の層を説明するための平面模式図。
図1のインダクタ部品の第2インダクタ配線および第4インダクタ配線の層を説明するための平面模式図。
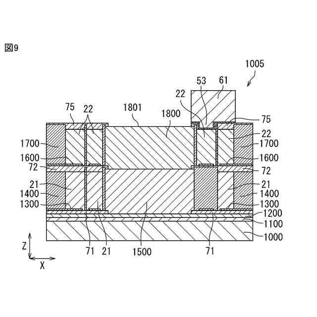
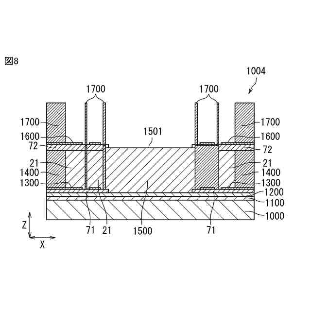
図1のインダクタ部品の製造方法の一例を説明するための第1の図。
図1のインダクタ部品の製造方法の一例を説明するための第2の図。
図1のインダクタ部品の製造方法の一例を説明するための第3の図。
図1のインダクタ部品の製造方法の一例を説明するための第4の図。
図1のインダクタ部品の製造方法の一例を説明するための第5の図。
図1のインダクタ部品の製造方法の一例を説明するための第6の図。
図1のインダクタ部品の製造方法の一例を説明するための第7の図。
図1のインダクタ部品の製造方法の一例を説明するための第8の図。
図1のインダクタ部品の製造方法の一例を説明するための第9の図。
図1のインダクタ部品の製造方法の一例を説明するための第10の図。
図1のインダクタ部品の第1の変形例を示す斜視図。
図1のインダクタ部品の第2の変形例を示す拡大側面図。
図1のインダクタ部品の第3の変形例を示す平面模式図。
図1のインダクタ部品の第4の変形例を示す平面模式図。
【発明を実施するための形態】
【0009】
本開示の種々の態様について説明する。
【0010】
第1態様のインダクタ部品は、
第1仮想平面に位置する第1導体層と、
前記第1導体層上に設けられ、前記第1仮想平面に対して交差する第1方向に沿った第1旋回軸まわりに延在する第1インダクタ配線と、
前記第1導体層に接し、前記第1方向において、前記第1導体層に対して前記第1インダクタ配線とは反対側に位置する第1層間絶縁層と
を備え、
前記第1導体層は、
前記第1旋回軸まわりに延在する第1本体部と、
前記第1本体部から前記第1旋回軸に接近する方向に延びる第1突出部と
を含み、
前記第1方向に沿って見た場合に、前記第1突出部は、前記本体部との接続部分から前記第1層間絶縁層の端部に向かって最短距離で延びていない。
(【0011】以降は省略されています)
この特許をJ-PlatPat(特許庁公式サイト)で参照する
関連特許
株式会社村田製作所
二次電池
1か月前
株式会社村田製作所
切断装置
1日前
株式会社村田製作所
移相回路
1か月前
株式会社村田製作所
電池パック
1か月前
株式会社村田製作所
コイル部品
1か月前
株式会社村田製作所
電池パック
22日前
株式会社村田製作所
コイル部品
1か月前
株式会社村田製作所
弾性波装置
2日前
株式会社村田製作所
ネブライザ
1か月前
株式会社村田製作所
電子聴診器
1か月前
株式会社村田製作所
高周波回路
1か月前
株式会社村田製作所
コイル部品
1か月前
株式会社村田製作所
フィルタ装置
24日前
株式会社村田製作所
電力システム
1か月前
株式会社村田製作所
電力増幅回路
1か月前
株式会社村田製作所
外観検査装置
1か月前
株式会社村田製作所
フィルタ装置
1か月前
株式会社村田製作所
超音波ノズル
1日前
株式会社村田製作所
インダクタ部品
22日前
株式会社村田製作所
インダクタ部品
1か月前
株式会社村田製作所
インダクタ部品
22日前
株式会社村田製作所
インダクタ部品
22日前
株式会社村田製作所
インダクタ部品
22日前
株式会社村田製作所
インダクタ部品
22日前
株式会社村田製作所
指装着デバイス
15日前
株式会社村田製作所
インダクタ部品
10日前
株式会社村田製作所
インダクタ部品
10日前
株式会社村田製作所
電池モジュール
1か月前
株式会社村田製作所
高周波電力増幅器
1日前
株式会社村田製作所
伸縮性コイル部品
1か月前
株式会社村田製作所
積層体の切断装置
24日前
株式会社村田製作所
健康管理システム
3日前
株式会社村田製作所
積層体の切断装置
24日前
株式会社村田製作所
高周波モジュール
1か月前
株式会社村田製作所
正極及び二次電池
22日前
株式会社村田製作所
高周波電力増幅器
1日前
続きを見る
他の特許を見る