TOP
|
特許
|
意匠
|
商標
特許ウォッチ
Twitter
他の特許を見る
10個以上の画像は省略されています。
公開番号
2025165595
公報種別
公開特許公報(A)
公開日
2025-11-05
出願番号
2024069740
出願日
2024-04-23
発明の名称
熱拡散デバイス及び電子機器
出願人
株式会社村田製作所
代理人
弁理士法人WisePlus
主分類
F28D
15/02 20060101AFI20251028BHJP(熱交換一般)
要約
【課題】熱源温度の低減効果に優れる熱拡散デバイスを提供する。
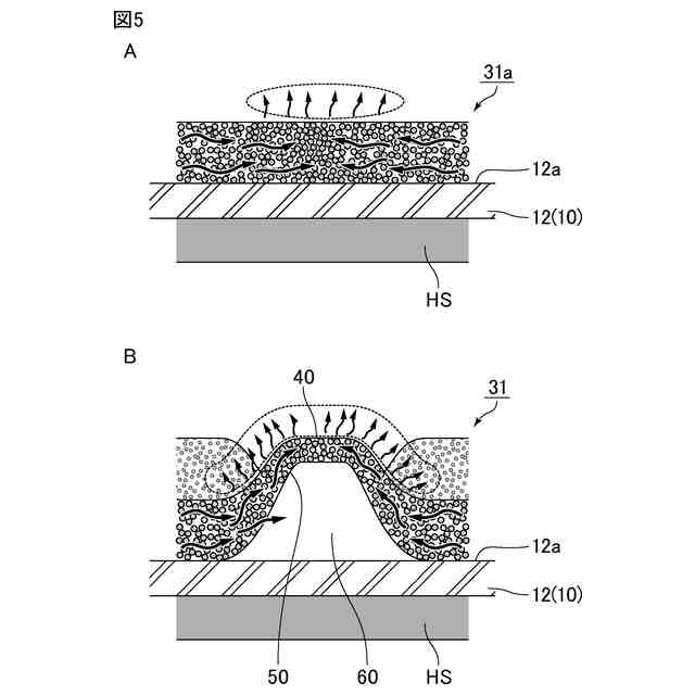
【解決手段】熱拡散デバイスの一実施形態であるベーパーチャンバー1は、厚さ方向Zに対向する第1内面11a及び第2内面12aを有し、かつ、内部空間が設けられた筐体10と、筐体10の上記内部空間に封入された作動媒体20と、筐体10の上記内部空間に配置されたウィック30と、を備える。ウィック30は、第1ウィック31を含む。第1ウィック31は、金属多孔質体から構成され、筐体10の第1内面11a側の表面に複数の凸部40又は凹部45を有する。
【選択図】図4
特許請求の範囲
【請求項1】
厚さ方向に対向する第1内面及び第2内面を有し、かつ、内部空間が設けられた筐体と、
前記筐体の前記内部空間に封入された作動媒体と、
前記筐体の前記内部空間に配置されたウィックと、を備え、
前記ウィックは、第1ウィックを含み、
前記第1ウィックは、金属多孔質体から構成され、前記筐体の前記第1内面側の表面に複数の凸部又は凹部を有する、熱拡散デバイス。
続きを表示(約 650 文字)
【請求項2】
前記第1ウィックの表面と前記筐体の前記第2内面との間に中空部が形成されている、請求項1に記載の熱拡散デバイス。
【請求項3】
前記第1ウィックは、前記筐体の前記第2内面側の表面に複数の凹部又は凸部を有する、請求項2に記載の熱拡散デバイス。
【請求項4】
前記第2内面側の凹部は、前記第1内面側の凸部の反対側に位置し、
前記第2内面側の凸部は、前記第1内面側の凹部の反対側に位置する、請求項3に記載の熱拡散デバイス。
【請求項5】
前記第1ウィックの厚さが一定である、請求項2に記載の熱拡散デバイス。
【請求項6】
前記第1ウィックは、前記筐体の前記第2内面側の表面が平坦である、請求項1に記載の熱拡散デバイス。
【請求項7】
前記第1ウィックは、前記筐体の蒸発部と前記厚さ方向で重なる領域に配置されている、請求項1~6のいずれか1項に記載の熱拡散デバイス。
【請求項8】
前記ウィックは、前記筐体の前記内部空間の全体にわたって配置されるシート状の第2ウィックをさらに含む、請求項7に記載の熱拡散デバイス。
【請求項9】
前記第1ウィックを構成する前記金属多孔質体は、金属焼結体又は金属不織布である、請求項1~6のいずれか1項に記載の熱拡散デバイス。
【請求項10】
請求項1~6のいずれか1項に記載の熱拡散デバイスを備える、電子機器。
発明の詳細な説明
【技術分野】
【0001】
本発明は、熱拡散デバイス及び電子機器に関する。
続きを表示(約 1,600 文字)
【背景技術】
【0002】
近年、素子の高集積化及び高性能化による発熱量が増加している。また、製品の小型化が進むことで、発熱密度が増加するため、放熱対策が重要となっている。この状況はスマートフォン及びタブレット等のモバイル端末の分野において特に顕著である。熱対策部材としては、グラファイトシート等が用いられることが多いが、その熱輸送量は充分ではないため、様々な熱対策部材の使用が検討されている。中でも、非常に効果的に熱を拡散させることが可能である熱拡散デバイスとして、面状のヒートパイプであるベーパーチャンバーの使用の検討が進んでいる。
【0003】
ベーパーチャンバーは、筐体の内部に、作動媒体(作動液ともいう)と、毛細管力によって作動媒体を輸送するウィックとが封入された構造を有する。作動媒体は、電子部品等の発熱素子からの熱を吸収する蒸発部において発熱素子からの熱を吸収してベーパーチャンバー内で蒸発した後、ベーパーチャンバー内を移動し、冷却されて液相に戻る。液相に戻った作動媒体は、ウィックの毛細管力によって再び発熱素子側の蒸発部に移動し、発熱素子を冷却する。これを繰り返すことにより、ベーパーチャンバーは外部動力を有することなく自立的に作動し、作動媒体の蒸発潜熱及び凝縮潜熱を利用して、二次元的に高速で熱を拡散することができる。
【0004】
特許文献1には、筐体と、上記筐体を内側から支持するように、上記筐体の内部空間に配置された柱と、上記筐体の内部空間に封入された作動液と、上記筐体の内部空間に配置されたウィックとを有し、上記筐体の主内面の少なくとも一部分が、上記筐体の内部空間に露出しており、平均深さが10nm以上の細孔を有している、ベーパーチャンバーが開示されている。特許文献1には、ウィックの材料として、例えば、多孔体、メッシュ、焼結体、不織布、ワイヤー等を用いることができると記載されている。
【0005】
特許文献2には、厚さ方向に対向する第1内壁面及び第2内壁面を有する筐体と、上記筐体の内部空間に封入される作動媒体と、上記筐体の上記内部空間に配置されるウィック構造体と、を備え、上記ウィック構造体は、上記第1内壁面に接する支持部と、上記支持部と同一材料からなり、上記支持部と一体的に構成される有孔部と、を含む、熱拡散デバイスが開示されている。
【先行技術文献】
【特許文献】
【0006】
特開2018-189349号公報
国際公開第2023/090265号
【発明の概要】
【発明が解決しようとする課題】
【0007】
ベーパーチャンバー等の熱拡散デバイスは、入熱量が数十Wないし100Wを超える高い領域で使用されることがある。そのため、熱源に近い蒸発部に位置するウィックには、熱源温度を低減させるために、熱源からの熱をより多く受け取り、作動媒体に熱をより多く伝えて、作動媒体をより多く蒸発させることが求められる。
【0008】
本発明は、上記の問題を解決するためになされたものであり、熱源温度の低減効果に優れる熱拡散デバイスを提供することを目的とする。さらに、本発明は、上記熱拡散デバイスを備える電子機器を提供することを目的とする。
【課題を解決するための手段】
【0009】
本発明の熱拡散デバイスは、厚さ方向に対向する第1内面及び第2内面を有し、かつ、内部空間が設けられた筐体と、上記筐体の上記内部空間に封入された作動媒体と、上記筐体の上記内部空間に配置されたウィックと、を備える。上記ウィックは、第1ウィックを含む。上記第1ウィックは、金属多孔質体から構成され、上記筐体の上記第1内面側の表面に複数の凸部又は凹部を有する。
【0010】
本発明の電子機器は、本発明の熱拡散デバイスを備える。
【発明の効果】
(【0011】以降は省略されています)
この特許をJ-PlatPat(特許庁公式サイト)で参照する
関連特許
株式会社村田製作所
二次電池
1か月前
株式会社村田製作所
切断装置
1日前
株式会社村田製作所
移相回路
1か月前
株式会社村田製作所
コイル部品
1か月前
株式会社村田製作所
電池パック
22日前
株式会社村田製作所
弾性波装置
2日前
株式会社村田製作所
コイル部品
1か月前
株式会社村田製作所
ネブライザ
1か月前
株式会社村田製作所
電子聴診器
1か月前
株式会社村田製作所
コイル部品
1か月前
株式会社村田製作所
電力増幅回路
1か月前
株式会社村田製作所
外観検査装置
1か月前
株式会社村田製作所
電力システム
1か月前
株式会社村田製作所
フィルタ装置
24日前
株式会社村田製作所
超音波ノズル
1日前
株式会社村田製作所
フィルタ装置
1か月前
株式会社村田製作所
電池モジュール
1か月前
株式会社村田製作所
インダクタ部品
1か月前
株式会社村田製作所
インダクタ部品
10日前
株式会社村田製作所
インダクタ部品
10日前
株式会社村田製作所
インダクタ部品
22日前
株式会社村田製作所
指装着デバイス
15日前
株式会社村田製作所
インダクタ部品
22日前
株式会社村田製作所
インダクタ部品
22日前
株式会社村田製作所
インダクタ部品
22日前
株式会社村田製作所
インダクタ部品
22日前
株式会社村田製作所
高周波電力増幅器
1日前
株式会社村田製作所
高周波モジュール
1か月前
株式会社村田製作所
高周波電力増幅器
1日前
株式会社村田製作所
伸縮性コイル部品
1か月前
株式会社村田製作所
正極及び二次電池
22日前
株式会社村田製作所
積層体の切断装置
24日前
株式会社村田製作所
積層体の切断装置
24日前
株式会社村田製作所
健康管理システム
3日前
株式会社村田製作所
固体電解コンデンサ
17日前
株式会社村田製作所
コンデンサモジュール
1か月前
続きを見る
他の特許を見る