TOP
|
特許
|
意匠
|
商標
特許ウォッチ
Twitter
他の特許を見る
公開番号
2025154488
公報種別
公開特許公報(A)
公開日
2025-10-10
出願番号
2024057525
出願日
2024-03-29
発明の名称
ネブライザ
出願人
株式会社村田製作所
代理人
個人
,
個人
主分類
A61M
11/02 20060101AFI20251002BHJP(医学または獣医学;衛生学)
要約
【課題】物体によって液供給口が塞がれてしまうことを抑制する。
【解決手段】ネブライザは、ポンプと、液体を霧化するノズル100と、ノズル100に対して相対移動可能に当該ノズル100に取り付けられた開閉体200と、を備えている。ノズル100は、ポンプから圧送される気体が流通するガス供給通路114と、液体が流通する液体供給通路115と、ガス供給通路114及び液体供給通路115を外部に連通させるノズル空間S2と、を有している。開閉体200は、ノズル空間S2が開放されている第1位置201と、ノズル空間S2が閉塞されており、且つガス供給通路114及び液体供給通路115が連通している第2位置との間で移動可能である。
【選択図】図3
特許請求の範囲
【請求項1】
気体を圧送するポンプと、
液体を霧化するノズルと、
前記ノズルに対して相対移動可能に当該ノズルに取り付けられた開閉体と、
を備え、
前記ノズルは、
前記ポンプから圧送される気体が流通するガス供給通路と、
前記液体が流通する液体供給通路と、
前記ガス供給通路及び前記液体供給通路を外部に連通させるノズル空間と、
を有し、
前記開閉体は、前記ノズル空間が開放されている第1位置と、前記ノズル空間が閉塞されており、且つ前記ガス供給通路及び前記液体供給通路が連通している第2位置との間で移動可能である
ネブライザ。
続きを表示(約 1,000 文字)
【請求項2】
気体を圧送するポンプと、
内部空間を区画する内壁を有するケース本体と、
前記内部空間に位置しており、液体を霧化するノズルと、
前記ノズルに対して相対移動可能に当該ノズルに取り付けられた開閉体と、
を備え、
前記ノズルは、
前記ポンプから圧送される気体が流通するガス供給通路と、
前記液体が流通する液体供給通路と、
前記ガス供給通路及び前記液体供給通路を前記内部空間に連通させるノズル空間と、
を有し、
前記開閉体は、前記ノズル空間が開放されている第1位置と、前記ノズル空間が閉塞されており、且つ前記ガス供給通路及び前記液体供給通路が連通している第2位置との間で移動可能である
ネブライザ。
【請求項3】
前記ノズルは、
前記ポンプに接続するノズル本体と、
前記ノズル本体の外面を覆うカバー部材と、
を備え、
前記ノズル本体の外面及び前記カバー部材の内面は、前記液体供給通路に対して上流側で繋がっている吸い上げ通路を区画しており、
前記ノズル本体が、前記ガス供給通路と、前記液体供給通路とを備えており、
前記開閉体は、前記カバー部材に取り付けられている
請求項1に記載のネブライザ。
【請求項4】
前記開閉体は、前記ノズル空間の開口縁が向いている方向に直交する仮想平面上をスライド移動可能である
請求項1又は請求項2に記載のネブライザ。
【請求項5】
前記開閉体は、前記ノズル空間の開口縁が向いている方向に直交する仮想軸を中心として回動可能である
請求項1又は請求項2に記載のネブライザ。
【請求項6】
前記ガス供給通路の下流側の開口であるガス供給口の縁から、当該ガス供給口が向いている方向に当該ガス供給口の縁を投影したとき、前記ノズル空間の少なくとも一部は、前記ガス供給口の縁を搭載した範囲内に存在する
請求項1又は請求項2に記載のネブライザ。
【請求項7】
前記液体供給通路の下流端を含む一部又は前記液体供給通路の全部は、前記液体の流れ方向において上流側から下流側に近づくにつれて流路断面積が小さくなっている
請求項1又は請求項2に記載のネブライザ。
発明の詳細な説明
【技術分野】
【0001】
本発明は、ネブライザに関する。
続きを表示(約 1,500 文字)
【背景技術】
【0002】
特許文献1に記載のネブライザは、薬液等の液体を霧化するノズルを備えている。ノズルは、ガス供給通路と、液体供給通路とを備えている。ガス供給通路の供給口からは、気体が供給される。このノズルにおいては、気体の供給に伴って、液体供給通路を介して液体が吸い上げられる。そして、吸い上げられた液体は、液体供給通路の液供給口から外部へと供給される。供給された液体は、気体と衝突して霧化される。
【先行技術文献】
【特許文献】
【0003】
特開2015-159991号公報
【発明の概要】
【発明が解決しようとする課題】
【0004】
特許文献1に記載されたネブライザでは、使用を中断した直後は、液体供給通路に液体が付着した状態である。当該液体が乾燥すると、液体に含まれる成分が固化して塊状になるおそれがある。特に、液供給口周辺で液体が塊状になった場合、当該塊状の物体が液供給口を塞いでしまうおそれがある。
【課題を解決するための手段】
【0005】
上記課題を解決するため、本発明は、気体を圧送するポンプと、液体を霧化するノズルと、前記ノズルに対して相対移動可能に当該ノズルに取り付けられた開閉体と、を備え、前記ノズルは、前記ポンプから圧送される気体が流通するガス供給通路と、前記液体が流通する液体供給通路と、前記ガス供給通路及び前記液体供給通路を外部に連通させるノズル空間と、を有し、前記開閉体は、前記ノズル空間が開放されている第1位置と、前記ノズル空間が閉塞されており、且つ前記ガス供給通路及び前記液体供給通路が連通している第2位置との間で移動可能であるネブライザである。
【0006】
また、上記課題を解決するため、本発明は、気体を圧送するポンプと、内部空間を区画する内壁を有するケース本体と、前記内部空間に位置しており、液体を霧化するノズルと、前記ノズルに対して相対移動可能に当該ノズルに取り付けられた開閉体と、を備え、前記ノズルは、前記ポンプから圧送される気体が流通するガス供給通路と、前記液体が流通する液体供給通路と、前記ガス供給通路及び前記液体供給通路を前記内部空間に連通させるノズル空間と、を有し、前記開閉体は、前記ノズル空間が開放されている第1位置と、前記ノズル空間が閉塞されており、且つ前記ガス供給通路及び前記液体供給通路が連通している第2位置との間で移動可能であるネブライザである。
【発明の効果】
【0007】
上記構成によれば、物体が液供給口を塞ぐことを抑制できる。
【図面の簡単な説明】
【0008】
図1は、ネブライザを示す斜視図である。
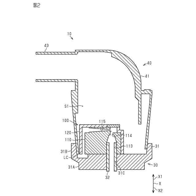
図2は、タンクユニット、ノズル、及び吐出ユニットの概略端面図である。
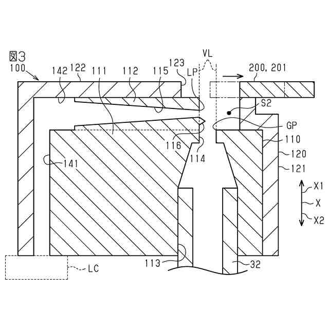
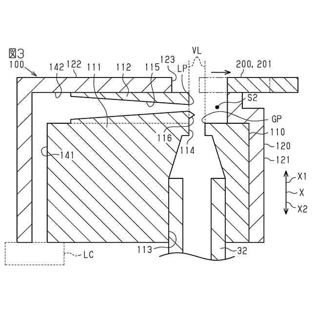
図3は、開閉体が第1位置にあるときのノズルの概略端面図である。
図4は、開閉体が第2位置にあるときのノズルの概略端面図である。
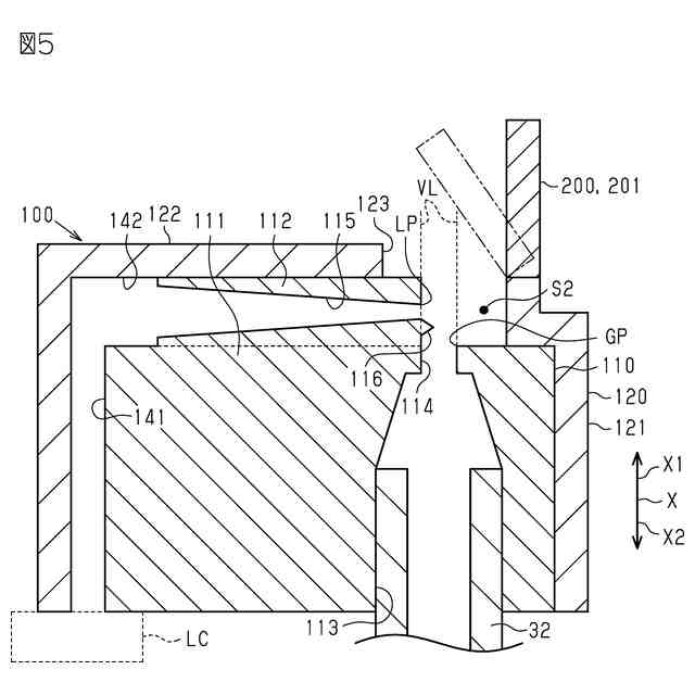
図5は、開閉体が第1位置にあるときの変更例のノズルの概略端面図である。
【発明を実施するための形態】
【0009】
以下、ネブライザの一実施形態を説明する。なお、図面は、理解を容易にするために構成要素を拡大して示している場合がある。構成要素の寸法比率は実際のものと、又は別の図面中のものと異なる場合がある。
【0010】
<ネブライザの全体構成について>
図1に示すように、ネブライザ10は、ポンプユニット20、タンクユニット30、吐出ユニット40と、を備えている。
(【0011】以降は省略されています)
この特許をJ-PlatPat(特許庁公式サイト)で参照する
関連特許
株式会社村田製作所
移相回路
25日前
株式会社村田製作所
測定装置
27日前
株式会社村田製作所
電子部品
1か月前
株式会社村田製作所
二次電池
19日前
株式会社村田製作所
コイル部品
13日前
株式会社村田製作所
電池パック
27日前
株式会社村田製作所
高周波回路
26日前
株式会社村田製作所
コイル部品
25日前
株式会社村田製作所
コイル部品
25日前
株式会社村田製作所
電子聴診器
25日前
株式会社村田製作所
ネブライザ
25日前
株式会社村田製作所
噴霧ノズル
1か月前
株式会社村田製作所
電力システム
14日前
株式会社村田製作所
外観検査装置
5日前
株式会社村田製作所
電力増幅回路
5日前
株式会社村田製作所
フィルタ装置
26日前
株式会社村田製作所
インダクタ部品
7日前
株式会社村田製作所
複合型電子部品
1か月前
株式会社村田製作所
電池モジュール
25日前
株式会社村田製作所
圧力センサ装置
27日前
株式会社村田製作所
伸縮性コイル部品
12日前
株式会社村田製作所
電子部品包装装置
27日前
株式会社村田製作所
高周波モジュール
5日前
株式会社村田製作所
コンデンサモジュール
25日前
株式会社村田製作所
ファブリペロー干渉計
26日前
株式会社村田製作所
造粒粉及びインダクタ
26日前
株式会社村田製作所
積層セラミック電子部品
26日前
株式会社村田製作所
光学的パターン表示物品
1か月前
株式会社村田製作所
濾過装置および濾過方法
26日前
株式会社村田製作所
積層セラミック電子部品
1か月前
株式会社村田製作所
積層セラミック電子部品
26日前
株式会社村田製作所
積層セラミック電子部品
1か月前
株式会社村田製作所
積層セラミック電子部品
1か月前
株式会社村田製作所
積層セラミック電子部品
11日前
株式会社村田製作所
積層セラミック電子部品
26日前
株式会社村田製作所
タブおよび電池モジュール
1か月前
続きを見る
他の特許を見る