TOP
|
特許
|
意匠
|
商標
特許ウォッチ
Twitter
他の特許を見る
10個以上の画像は省略されています。
公開番号
2025154005
公報種別
公開特許公報(A)
公開日
2025-10-10
出願番号
2024056766
出願日
2024-03-29
発明の名称
電子聴診器
出願人
株式会社村田製作所
代理人
個人
,
個人
主分類
A61B
7/04 20060101AFI20251002BHJP(医学または獣医学;衛生学)
要約
【課題】生体音を集音する電子聴診器において、音圧レベルが低い生体音を十分に拾う。
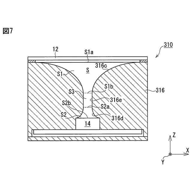
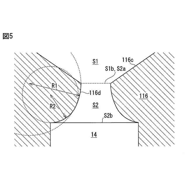
【解決手段】電子聴診器10は、生体に接触するダイヤフラム12と、ダイヤフラム12から伝播した振動を受振して電気信号に変換する音センサ14と、ダイヤフラム12から音センサ14に向かって振動が伝播する内部空間Sを画定する内壁面を備える管状部材16とを有する。管状部材16の内壁面が、ダイヤフラム側の第1の空間S1を画定する第1の内壁面16cと、音センサ側の第2の空間S2を画定する第2の内壁面16dと、第1の内壁面16cと第2の内壁面16dとが接する境界部16eを含んでいる。第1の空間S1の容積が、第2の空間S2の容積に比べて大きい。内部空間Sの横断面の断面積が、第1の空間S1ではダイヤフラム側端S1aから境界部16eに向かうにしたがって減少し、第2の空間S2では境界部16eから音センサ側端に向かうにしたがって増加する。
【選択図】図2
特許請求の範囲
【請求項1】
生体に接触する第1の表面と前記第1の表面に対して反対側の第2の表面とを備えるダイヤフラムと、
前記ダイヤフラムから伝播した振動を受振して電気信号に変換する音センサと、
前記ダイヤフラムから前記音センサに向かって振動が伝播する内部空間を画定する内壁面を備える管状部材と、を有し、
前記管状部材の前記内壁面が、前記ダイヤフラム側の第1の空間を画定する第1の内壁面と、前記音センサ側の第2の空間を画定する第2の内壁面と、前記第1の内壁面と前記第2の内壁面とが接する境界部を含み、
前記第1の空間の容積が、前記第2の空間の容積に比べて大きく、
前記管状部材の前記内部空間の延在方向と交差する前記内部空間の横断面の断面積が、前記第1の空間においてはダイヤフラム側端から前記境界部に向かうにしたがって減少し、前記第2の空間においては前記境界部から音センサ側端に向かうにしたがって増加する、電子聴診器。
続きを表示(約 870 文字)
【請求項2】
前記管状部材の前記第2の内壁面が、前記内部空間の前記延在方向と交差する方向視で凸に湾曲し、前記第2の空間を画定する、請求項1に記載の電子聴診器。
【請求項3】
前記第2の内壁面の曲率半径が、第1の空間側端に近い部分と音センサ側端に近い部分とを比較して、音センサ側端に近い部分の方が小さくなる、請求項2に記載の電子聴診器。
【請求項4】
前記管状部材の前記第1の内壁面が、前記内部空間の前記延在方向と交差する方向視で凸に湾曲し、前記第1の空間を画定する、請求項1に記載の電子聴診器。
【請求項5】
前記ダイヤフラムの前記第2の表面における外周縁と前記管状部材の端面との間に配置され、前記ダイヤフラムの前記第2の表面と前記管状部材の前記第1の内壁面とを離間させる環状のスペーサ部材を、さらに有する、請求項4に記載の電子聴診器。
【請求項6】
前記管状部材の前記内壁面が、前記第1の空間を画定する前記第1の内壁面の前記第2の空間側端と前記第2の空間を画定する前記第2内壁面の前記第1の空間側端それぞれに接続し、横断面の形状が一様な第3の空間を画定する第3の内壁面を含んでいる、請求項1に記載の電子聴診器。
【請求項7】
前記管状部材の前記内部空間が、前記第2の空間の前記音センサ側端に接続して前記音センサを収容する音センサ収容空間を含み、
前記音センサ収容空間の内壁面と前記音センサとの間に圧縮変形状態で配置された筒状シール部材を、さらに有する、請求項1に記載の電子聴診器。
【請求項8】
前記管状部材の前記音センサ収容空間の延在方向について、前記筒状シール部材のサイズが、前記音センサのサイズに比べて大きい、請求項7に記載の電子聴診器。
【請求項9】
前記ダイヤフラムの前記第2の表面における外周縁と前記管状部材の端面との間に圧縮変形状態で配置された環状シール部材を、さらに有する、請求項1に記載の電子聴診器。
発明の詳細な説明
【技術分野】
【0001】
本開示は、電子聴診器に関する。
続きを表示(約 1,600 文字)
【背景技術】
【0002】
例えは特許文献1には、生体と接触するダイヤフラムと、ダイヤフラムから伝播した振動を受振して電気信号に変換するマイクロフォン(音センサ)と、ダイヤフラムからマイクロフォンに向かって振動が伝播する内部空間を備えるチェストピースとを有する電子聴診器が記載されている。
【先行技術文献】
【特許文献】
【0003】
特開2022-119446号公報
【発明の概要】
【発明が解決しようとする課題】
【0004】
しかしながら、特許文献1に記載された電子聴診器は、音圧レベルが低い生体音、例えば肺音などを十分に拾うことができない。
【0005】
そこで、本開示は、生体音を集音する電子聴診器において、音圧レベルが低い生体音を十分に拾うことを課題とする。
【課題を解決するための手段】
【0006】
上記技術的課題を解決するために、本開示の一態様によれば、
生体に接触する第1の表面と前記第1の表面に対して反対側の第2の表面とを備えるダイヤフラムと、
前記ダイヤフラムから伝播した振動を受振して電気信号に変換する音センサと、
前記ダイヤフラムから前記音センサに向かって振動が伝播する内部空間を画定する内壁面を備える管状部材と、を有し、
前記管状部材の前記内壁面が、前記ダイヤフラム側の第1の空間を画定する第1の内壁面と、前記音センサ側の第2の空間を画定する第2の内壁面と、前記第1の内壁面と前記第2の内壁面とが接する境界部を含み、
前記第1の空間の容積が、前記第2の空間の容積に比べて大きく、
前記管状部材の前記内部空間の延在方向と交差する前記内部空間の横断面の断面積が、前記第1の空間においてはダイヤフラム側端から前記境界部に向かうにしたがって減少し、前記第2の空間においては前記境界部から音センサ側端に向かうにしたがって増加する、電子聴診器が提供される。
【発明の効果】
【0007】
本開示によれば、生体音を集音する電子聴診器は、音圧レベルが低い生体音を十分に拾うことができる。
【図面の簡単な説明】
【0008】
本開示の実施の形態1に係る電子聴診器の概略的な斜視図
図1のA-A線に沿った電子聴診器の断面図
実施の形態1に係る電子聴診器の分解斜視図
実施の形態2に係る電子聴診器の断面図
実施の形態2に係る電子聴診器における第2の空間周辺の拡大断面図
実施の形態3に係る電子聴診器の断面図
実施の形態4に係る電子聴診器の断面図
実施の形態4の別例に係る電子聴診器の断面図
実施の形態5に係る電子聴診器の断面図
実施の形態5に係る電子聴診器の分解斜視図
【発明を実施するための形態】
【0009】
以下、本開示の実施の形態について、図面を参照しながら説明する。
【0010】
(実施の形態1)
図1は、本開示の実施の形態1に係る電子聴診器の概略的な斜視図である。また、図2は、図1に示すA-A線に沿った実施の形態1に係る電子聴診器の断面図である。そして、図3は、実施の形態1に係る電子聴診器の分解斜視図である。なお、図面に示すX-Y-Z直交座標系は、本開示の実施の形態の理解を容易にするためのものであって、実施の形態を限定するものではない。なお、X軸方向は電子聴診器の幅方向を示し、Y軸方向は奥行き方向を示し、Z軸方向は厚さ方向を示している。また、Z軸方向は、電子聴診器が生体に接触する方向である。
(【0011】以降は省略されています)
この特許をJ-PlatPat(特許庁公式サイト)で参照する
関連特許
株式会社村田製作所
二次電池
17日前
株式会社村田製作所
移相回路
23日前
株式会社村田製作所
高周波回路
24日前
株式会社村田製作所
コイル部品
11日前
株式会社村田製作所
コイル部品
23日前
株式会社村田製作所
コイル部品
23日前
株式会社村田製作所
電子聴診器
23日前
株式会社村田製作所
ネブライザ
23日前
株式会社村田製作所
電力増幅回路
3日前
株式会社村田製作所
電力システム
12日前
株式会社村田製作所
フィルタ装置
24日前
株式会社村田製作所
外観検査装置
3日前
株式会社村田製作所
電池モジュール
23日前
株式会社村田製作所
インダクタ部品
5日前
株式会社村田製作所
高周波モジュール
3日前
株式会社村田製作所
伸縮性コイル部品
10日前
株式会社村田製作所
ファブリペロー干渉計
24日前
株式会社村田製作所
コンデンサモジュール
23日前
株式会社村田製作所
積層セラミック電子部品
9日前
株式会社村田製作所
濾過装置および濾過方法
24日前
株式会社村田製作所
積層セラミックコンデンサ
24日前
株式会社村田製作所
積層セラミックコンデンサ
24日前
株式会社村田製作所
高周波モジュール及び通信装置
3日前
株式会社村田製作所
二次電池用負極および二次電池
10日前
株式会社村田製作所
積層セラミック電子部品の製造方法
24日前
株式会社村田製作所
聴診デバイスおよび聴診システムに関する。
23日前
株式会社村田製作所
二次電池
19日前
株式会社村田製作所
端末装置、判定方法、コンピュータプログラム及びシステム
23日前
株式会社村田製作所
積層型コイル部品
5日前
株式会社村田製作所
押圧位置推定システム、押圧位置推定方法、及び押圧位置推定プログラム
23日前
株式会社村田製作所
スイッチ付き同軸コネクタおよび該スイッチ付き同軸コネクタを備える同軸コネクタセット
3日前
株式会社村田製作所
スイッチ付き同軸コネクタおよび該スイッチ付き同軸コネクタを備える同軸コネクタセット
3日前
個人
貼付剤
6日前
個人
健康器具
8か月前
個人
短下肢装具
3か月前
個人
鼾防止用具
8か月前
続きを見る
他の特許を見る