TOP
|
特許
|
意匠
|
商標
特許ウォッチ
Twitter
他の特許を見る
公開番号
2025168943
公報種別
公開特許公報(A)
公開日
2025-11-12
出願番号
2024073826
出願日
2024-04-30
発明の名称
方向性結合器、高周波モジュール及び通信装置
出願人
株式会社村田製作所
代理人
弁理士法人北斗特許事務所
主分類
H01P
5/18 20060101AFI20251105BHJP(基本的電気素子)
要約
【課題】高周波側での移相回路のインピーダンスの変化を抑制することで方向性を改善できる方向性結合器を提供する。
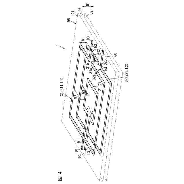
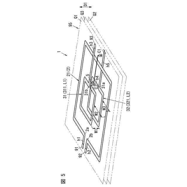
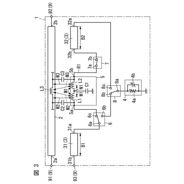
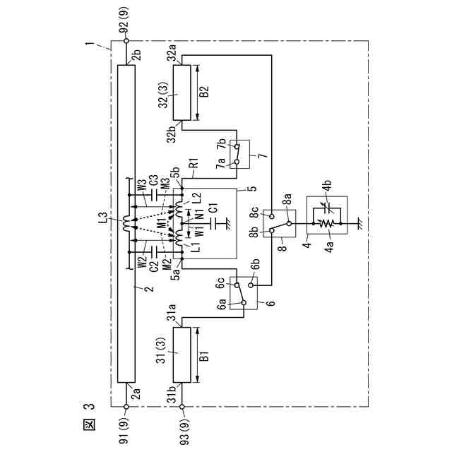
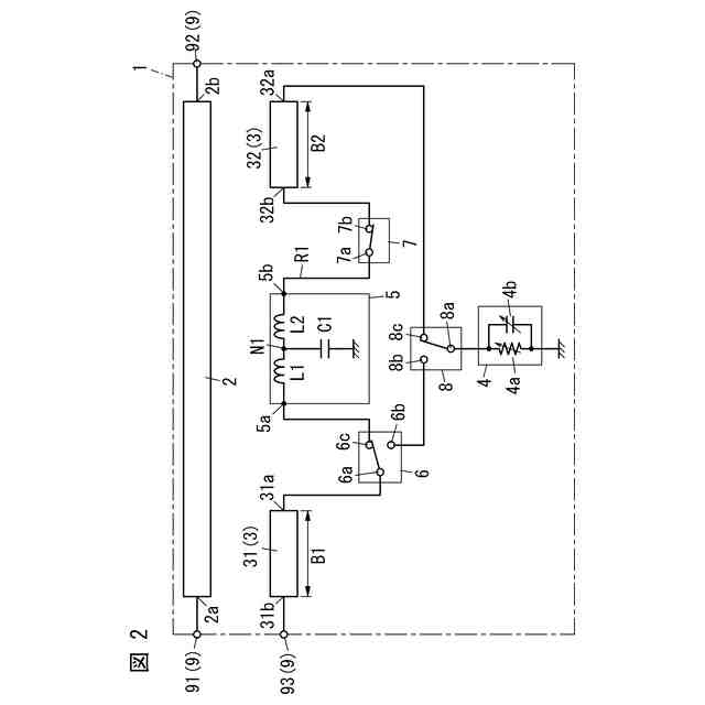
【解決手段】方向性結合器1は、主線路2、第1副線路31、第2副線路32及び移相回路5を備える。移相回路5は、第1副線路31と第2副線路32との間に直列に接続されている。移相回路5は、第1インダクタL1、第2インダクタL2及びキャパシタC1を備える。第1インダクタL1及び第2インダクタL2は、第1副線路31と第2副線路32の間に接続され、互いに直列に接続されている。キャパシタC1は、第1インダクタL1と第2インダクタL2との接続点N1とグランドとの間に接続されている。第1インダクタL1と第2インダクタL2との間の第1結合M1の大きさは、第1インダクタL1と主線路2との間の第2結合M2の大きさ、及び、第2インダクタL2と主線路2との間の第3結合M3の大きさのそれぞれよりも大きい。
【選択図】図3
特許請求の範囲
【請求項1】
主線路と、
互いに直列に接続された第1副線路及び第2副線路と、
前記第1副線路と前記第2副線路との間に直列に接続された移相回路と、を備え、
前記移相回路は、
前記第1副線路と前記第2副線路との間に接続され、互いに直列に接続された第1インダクタ及び第2インダクタと、
前記第1インダクタと前記第2インダクタとの接続点とグランドとの間に接続されたキャパシタと、を備え、
前記第1インダクタ及び前記第2インダクタは、互いに結合しかつ前記主線路と結合し、
前記第1インダクタと前記第2インダクタとの間の第1結合の大きさは、前記第1インダクタと前記主線路との間の第2結合の大きさ、及び、前記第2インダクタと前記主線路との間の第3結合の大きさのそれぞれよりも大きい、
方向性結合器。
続きを表示(約 1,100 文字)
【請求項2】
前記主線路、前記第1副線路、前記第2副線路、前記第1インダクタ、前記第2インダクタ及びキャパシタは、同一の基板に設けられており、
前記第1インダクタと前記主線路との間の距離、及び、前記第2インダクタと前記主線路との間の距離のそれぞれは、前記第1インダクタと前記第2インダクタとの間の距離よりも長い、
請求項1に記載の方向性結合器。
【請求項3】
前記第1インダクタは、前記第1副線路の少なくとも一部によって構成され、
前記第2インダクタは、前記第2副線路の少なくとも一部によって構成されている、
請求項2に記載の方向性結合器。
【請求項4】
前記基板は、前記基板の厚さ方向に積層された複数の層を有し、
前記複数の層は、互いに異なる第1層及び第2層を含み、
前記第1インダクタは、前記第1層に設けられ、
前記第2インダクタは、前記第2層に設けられ、
前記第1インダクタ及び前記第2インダクタの各々の少なくとも一部は、前記基板の厚さ方向において互いに重なるように、配置されている、
請求項3に記載の方向性結合器。
【請求項5】
前記複数の層は、前記第1層と前記第2層との間に設けられている第3層を更に含み、
前記主線路は、前記複数の層の前記第3層に設けられている、
請求項4に記載の方向性結合器。
【請求項6】
前記主線路は、前記複数の層のうち、前記第1層における前記第2層の側とは反対側の層、又は、前記第2層における前記第1層の側とは反対側の層に、設けられている、
請求項4に記載の方向性結合器。
【請求項7】
前記第1インダクタ及び前記第2インダクタは、一周未満又は一周以上巻回するループ形状部を含む、
請求項3~6のいずれか1項に記載の方向性結合器。
【請求項8】
前記主線路は、前記基板の厚さ方向からの平面視で、前記第1インダクタ及び前記第2インダクタの内周側に配置されている、
請求項7に記載の方向性結合器。
【請求項9】
前記主線路は、前記基板の厚さ方向からの平面視で、前記第1インダクタ及び前記第2インダクタの外周側に配置されている、
請求項7に記載の方向性結合器。
【請求項10】
前記主線路は、直線状であり、
前記基板の厚さ方向からの平面視で、前記主線路は、前記第1インダクタ及び前記第2インダクタの外周側に配置されている、
請求項7に記載の方向性結合器。
(【請求項11】以降は省略されています)
発明の詳細な説明
【技術分野】
【0001】
本発明は、方向性結合器、高周波モジュール及び通信装置に関し、より詳細には、第1副線路と第2副線路との間に接続された移相回路を備える方向性結合器、上記方向性結合器を備える高周波モジュール、及び、上記高周波モジュールを備える通信装置に関する。
続きを表示(約 1,800 文字)
【背景技術】
【0002】
特許文献1に記載の方向性結合器は、主線路と、第1副線路と、第2副線路と、移相回路と、を備える。第1副線路及び第2副線路は、移相回路を介して互いに直列に接続されている。第1副線路と第2副線路との間に移相回路を接続することで、低周波帯の信号を検波する際に、主線路を通過する高周波帯の信号の損失を低減できる。
【先行技術文献】
【特許文献】
【0003】
国際公開第2023/127694号
【発明の概要】
【発明が解決しようとする課題】
【0004】
特許文献1に記載の方向性結合器では、移相回路は、第1副線路及び第2副線路に直列に接続されたインダクタを含む。上記インダクタが主線路近傍に配置されると、上記インダクタと主線路とが磁界結合する。そして、上記インダクタと主線路とが磁界結合すると、高周波側での移相回路のインピーダンスが変化し、この結果、方向性結合器の方向性が悪化する。
【0005】
本発明は、上記の問題を鑑みて、高周波側での移相回路のインピーダンスの変化を抑制することで方向性を改善できる方向性結合器、高周波モジュール及び通信装置を提供することを目的とする。
【課題を解決するための手段】
【0006】
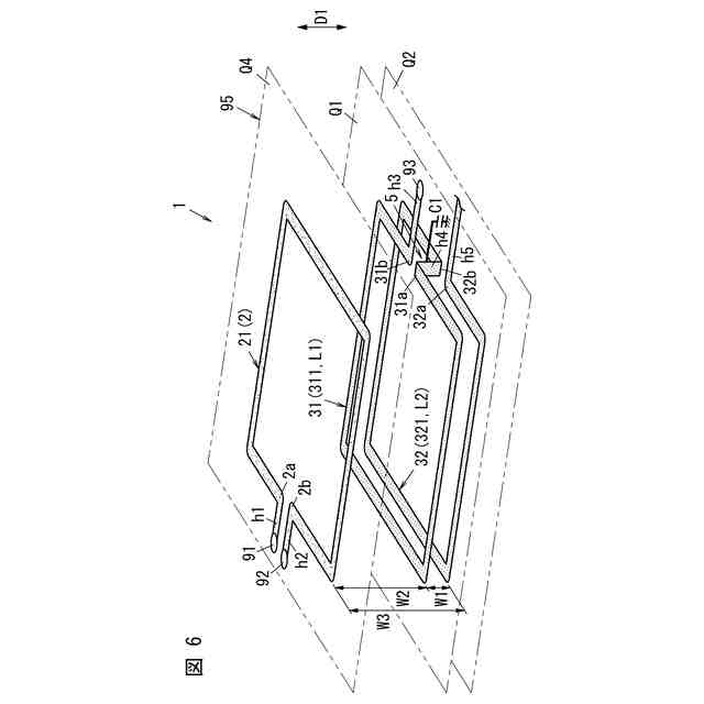
本発明の一態様に係る方向性結合器は、主線路と、第1副線路及び第2副線路と、移相回路と、を備える。前記第1副線路及び前記第2副線路は、互いに直列に接続されている。前記移相回路は、前記第1副線路と前記第2副線路との間に直列に接続されている。前記移相回路は、第1インダクタ及び第2インダクタと、キャパシタと、を備える。前記第1インダクタ及び前記第2インダクタは、前記第1副線路と前記第2副線路との間に接続され、互いに直列に接続されている。前記キャパシタは、前記第1インダクタと前記第2インダクタとの接続点とグランドとの間に接続されている。前記第1インダクタ及び前記第2インダクタは、互いに結合しかつ前記主線路と結合する。前記第1インダクタと前記第2インダクタとの間の第1結合の大きさは、前記第1インダクタと前記主線路との間の第2結合の大きさ、及び、前記第2インダクタと前記主線路との間の第3結合の大きさのそれぞれよりも大きい。
【0007】
本発明の一態様に係る方向性結合器は、主線路と、第1副線路及び第2副線路と、移相回路と、を備える。前記第1副線路及び第2副線路は、互いに直列に接続されている。前記移相回路は、前記第1副線路と前記第2副線路との間に直列に接続されている。前記移相回路は、第1インダクタ及び第2インダクタと、キャパシタと、を備える。前記第1インダクタ及び第2インダクタは、前記第1副線路と前記第2副線路との間に接続され、互いに直列に接続されている。前記キャパシタは、前記第1インダクタと前記第2インダクタとの接続点とグランドとの間に接続されている。前記主線路、前記第1副線路、前記第2副線路、前記第1インダクタ、前記第2インダクタ及びキャパシタは、同一の基板に設けられている。前記第1インダクタと前記主線路との間の距離、及び、前記第2インダクタと前記主線路との間の距離のそれぞれは、前記第1インダクタと前記第2インダクタとの間の距離よりも長い。
【0008】
本発明の一態様に係る高周波モジュールは、前記方向性結合器と、アンテナ端子と、複数のフィルタと、アンテナスイッチと、を備える。前記アンテナスイッチは、前記アンテナ端子に至る信号経路と前記複数のフィルタとの接続及び非接続を切り替える。前記方向性結合器の前記主線路は、前記信号経路の一部区間を構成する。
【0009】
本発明の一態様に係る通信装置は、前記高周波モジュールと、信号処理回路と、を備える。前記信号処理回路は、前記高周波モジュールに接続されており、高周波信号を信号処理する。
【発明の効果】
【0010】
本発明の態様に係る方向性結合器、高周波モジュール及び通信装置によれば、高周波側での移相回路のインピーダンスの変化を抑制することで方向性を改善できる、という利点がある。
【図面の簡単な説明】
(【0011】以降は省略されています)
この特許をJ-PlatPat(特許庁公式サイト)で参照する
関連特許
株式会社村田製作所
移相回路
1か月前
株式会社村田製作所
二次電池
29日前
株式会社村田製作所
電子部品
1か月前
株式会社村田製作所
測定装置
1か月前
株式会社村田製作所
コイル部品
1か月前
株式会社村田製作所
コイル部品
23日前
株式会社村田製作所
ネブライザ
1か月前
株式会社村田製作所
電子聴診器
1か月前
株式会社村田製作所
電池パック
7日前
株式会社村田製作所
コイル部品
1か月前
株式会社村田製作所
高周波回路
1か月前
株式会社村田製作所
電池パック
1か月前
株式会社村田製作所
噴霧ノズル
1か月前
株式会社村田製作所
フィルタ装置
1か月前
株式会社村田製作所
電力増幅回路
15日前
株式会社村田製作所
電力システム
24日前
株式会社村田製作所
フィルタ装置
9日前
株式会社村田製作所
外観検査装置
15日前
株式会社村田製作所
電池モジュール
1か月前
株式会社村田製作所
圧力センサ装置
1か月前
株式会社村田製作所
複合型電子部品
1か月前
株式会社村田製作所
積層インダクタ
1か月前
株式会社村田製作所
インダクタ部品
17日前
株式会社村田製作所
指装着デバイス
今日
株式会社村田製作所
インダクタ部品
7日前
株式会社村田製作所
インダクタ部品
7日前
株式会社村田製作所
インダクタ部品
7日前
株式会社村田製作所
インダクタ部品
7日前
株式会社村田製作所
インダクタ部品
7日前
株式会社村田製作所
呼吸検出システム
1か月前
株式会社村田製作所
伸縮性コイル部品
22日前
株式会社村田製作所
積層体の切断装置
9日前
株式会社村田製作所
電子部品包装装置
1か月前
株式会社村田製作所
高周波モジュール
15日前
株式会社村田製作所
積層体の切断装置
9日前
株式会社村田製作所
正極及び二次電池
7日前
続きを見る
他の特許を見る