TOP
|
特許
|
意匠
|
商標
特許ウォッチ
Twitter
他の特許を見る
公開番号
2025179769
公報種別
公開特許公報(A)
公開日
2025-12-10
出願番号
2024096277
出願日
2024-05-28
発明の名称
三重コイル変圧器
出願人
個人
代理人
主分類
H01F
30/10 20060101AFI20251203BHJP(基本的電気素子)
要約
【課題】変圧器においてコイルに発生した磁力線をできるだけ無駄なく取り込む三重コイルを提供する。
【解決手段】発信源である円柱状の一次コイルの中にすっぽりと二次コイルを入れ、これにより内側の磁力線を全部取り込む。さらにこの一次コイルの外側に、三次コイルを持ってくる。これにより外に広がる磁力線を出来るだけ取り込む事ができる、三重コイルの構成となす。
【選択図】図1
特許請求の範囲
【請求項1】
コイルを三重にすること
発明の詳細な説明
【発明の詳細な説明】
【】
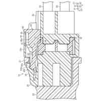
従来の変圧器は、鉄心の枠の一次コイルと二次コイルの隙間が大きく開いています。これでは一次コイルから出る磁力線が四方八方に散ってしまい無駄が生じる。二次コイル側に広がる磁力線のみ有効なだけである。
そこで枠も隙間もなくしてしまった方が磁力線の無駄がなくなる。
一番いいのは、発信源である円柱状の一次コイルの中にすっぽりと二次コイルを入れる事である。これにより内側の磁力線を全部取り込む事である。
さらにこの一次コイルの外側に、三次コイルを持ってくる。これにより外に広がる磁力線を出来るだけ取り込む事ができる、つまり三重コイルである。
【図面の簡単な説明】
【】
従来の変圧器は1次コイルと2次コイルが離れている。新型は一次コイル、二次コイル、三次コイルが三重に重なっているのが特徴である。
この特許をJ-PlatPat(特許庁公式サイト)で参照する
関連特許
個人
三重コイル変圧器
今日
日機装株式会社
加圧装置
5日前
日新イオン機器株式会社
イオン源
5日前
マクセル株式会社
電源装置
1か月前
株式会社東芝
端子台
1か月前
ローム株式会社
半導体装置
今日
三菱電機株式会社
回路遮断器
28日前
富士電機株式会社
電磁接触器
20日前
株式会社GSユアサ
蓄電装置
1か月前
株式会社GSユアサ
蓄電装置
20日前
日本特殊陶業株式会社
保持装置
今日
トヨタ自動車株式会社
蓄電装置
12日前
個人
電源ボックス及び電子機器
5日前
ホシデン株式会社
複合コネクタ
14日前
大電株式会社
電線又はケーブル
12日前
日本特殊陶業株式会社
保持装置
1か月前
トヨタ自動車株式会社
蓄電装置
1か月前
株式会社トクミ
ケーブル
6日前
株式会社東芝
電子源
5日前
ヒロセ電機株式会社
電気コネクタ
20日前
ローム株式会社
半導体モジュール
21日前
株式会社レゾナック
冷却器
28日前
日本無線株式会社
レーダアンテナ
1か月前
住友電装株式会社
コネクタ
今日
矢崎総業株式会社
コネクタ
20日前
住友電装株式会社
コネクタ
20日前
甲神電機株式会社
変流器及び零相変流器
1か月前
矢崎総業株式会社
バスバー
1日前
矢崎総業株式会社
端子
12日前
日本特殊陶業株式会社
アンテナ装置
7日前
株式会社パロマ
監視システム
12日前
トヨタ自動車株式会社
蓄電装置構造
6日前
日本特殊陶業株式会社
アンテナ装置
7日前
三菱電機株式会社
半導体装置
5日前
日本航空電子工業株式会社
コネクタ
1か月前
株式会社デンソー
熱交換部材
1か月前
続きを見る
他の特許を見る