TOP
|
特許
|
意匠
|
商標
特許ウォッチ
Twitter
他の特許を見る
10個以上の画像は省略されています。
公開番号
2025179560
公報種別
公開特許公報(A)
公開日
2025-12-10
出願番号
2024086394
出願日
2024-05-28
発明の名称
コネクタ
出願人
住友電装株式会社
代理人
個人
,
個人
主分類
H01R
13/64 20060101AFI20251203BHJP(基本的電気素子)
要約
【課題】リテーナの移動を強固に抑制可能としたコネクタを提供すること。
【解決手段】コネクタ10は、相手側コネクタ20に対して第1軸線Xに沿った嵌合方向X1に相対移動されることで相手側コネクタ20に嵌合可能なコネクタハウジング30と、コネクタハウジング30内に収容される端子と、コネクタハウジング30に装着されることによってコネクタハウジング30からの端子の抜けを阻止するリテーナ50と、コネクタハウジング30が相手側コネクタ20に嵌合された状態で仮係止位置から本係止位置K2に移動されることによって相手側コネクタ20からのコネクタハウジング30の離脱を阻止するコネクタ位置保証部材60とを備える。コネクタ位置保証部材60は、本係止位置K2にある状態でコネクタハウジング30からのリテーナ50の移動を阻止するようにリテーナ50と係合する係合凸部64を有する。
【選択図】図10
特許請求の範囲
【請求項1】
相手側コネクタに対して第1軸線に沿った嵌合方向に相対移動されることで前記相手側コネクタに嵌合可能なコネクタハウジングと、
前記コネクタハウジング内に収容される端子と、
前記コネクタハウジングに装着されることによって前記コネクタハウジングからの前記端子の抜けを阻止するリテーナと、
前記コネクタハウジングに組み付けられるとともに、前記コネクタハウジングが前記相手側コネクタに嵌合された状態で仮係止位置から本係止位置に移動されることによって前記相手側コネクタからの前記コネクタハウジングの離脱を阻止するコネクタ位置保証部材と、
を備える、コネクタであって、
前記コネクタ位置保証部材は、前記本係止位置にある状態で前記コネクタハウジングからの前記リテーナの移動を阻止するように前記リテーナと係合する係合部を有する、
コネクタ。
続きを表示(約 1,000 文字)
【請求項2】
前記コネクタ位置保証部材は、前記仮係止位置から前記本係止位置に向かって前記第1軸線に沿った本係止方向に移動可能に構成されており、
前記リテーナは、前記コネクタハウジングに対して、前記第1軸線と交差する第2軸線に沿った装着方向に装着されるように構成されている、
請求項1に記載のコネクタ。
【請求項3】
前記コネクタ位置保証部材は、前記第1軸線に沿った前記リテーナの前記コネクタハウジングに対するがたつきを抑制するように前記リテーナと接触可能な第1接触部を有する、
請求項2に記載のコネクタ。
【請求項4】
前記コネクタ位置保証部材は、前記第2軸線に沿った前記リテーナの前記コネクタハウジングに対するがたつきを抑制するように前記リテーナと接触可能な第2接触部を有する、
請求項2に記載のコネクタ。
【請求項5】
前記リテーナは、前記第1軸線に沿って延びる係合凹部を有し、
前記係合部は、前記コネクタ位置保証部材が前記本係止位置にある状態で前記係合凹部に嵌まる係合凸部であって、
前記係合凸部は、前記本係止方向の先端部における前記第2軸線に沿った両側に幅方向面取り部を有するとともに、前記幅方向面取り部から前記本係止方向の反対方向に向かって前記係合凹部との間隔を徐々に小さくする幅方向傾斜部を有し、
前記第2接触部は、前記幅方向傾斜部の終端位置に設けられている、
請求項4に記載のコネクタ。
【請求項6】
前記コネクタ位置保証部材は、前記第1軸線と直交するとともに前記第2軸線と直交する第3軸線に沿った前記リテーナの前記コネクタハウジングに対するがたつきを抑制するように前記リテーナと接触可能な第3接触部を有する、
請求項2に記載のコネクタ。
【請求項7】
前記リテーナは、前記第1軸線に沿って延びる係合凹部を有し、
前記係合部は、前記コネクタ位置保証部材が前記本係止位置にある状態で前記係合凹部に嵌まる係合凸部であって、
前記係合凸部は、前記本係止方向の先端部における前記係合凹部の底面側に底方向面取り部を有するとともに、前記底方向面取り部から前記本係止方向の反対方向に向かって前記係合凹部との間隔を徐々に小さくする底方向傾斜部を有し、
前記第3接触部は、前記底方向傾斜部の終端位置に設けられている、
請求項6に記載のコネクタ。
発明の詳細な説明
【技術分野】
【0001】
本開示は、コネクタに関するものである。
続きを表示(約 2,000 文字)
【背景技術】
【0002】
従来、コネクタとしては、相手側コネクタに嵌合可能な樹脂製のコネクタハウジングと、コネクタハウジングにそれぞれ組み付けられる端子とリテーナとコネクタ位置保証部材とを備えたものがある(例えば、特許文献1参照)。リテーナは、コネクタハウジングに装着されることによってコネクタハウジングからの端子の抜けを阻止する。コネクタ位置保証部材は、コネクタハウジングが相手側コネクタに嵌合された状態で仮係止位置から本係止位置に移動されることによって相手側コネクタからのコネクタハウジングの離脱を阻止する。
【先行技術文献】
【特許文献】
【0003】
特表2023-513260号公報
【発明の概要】
【発明が解決しようとする課題】
【0004】
ところで、上記のようなコネクタにおけるリテーナは、係止爪を有しており、係止爪がコネクタハウジングに引っ掛かることによってコネクタハウジングに装着される。しかしながら、上記のようなコネクタでは、例えば、リテーナの着脱を複数回行った場合等、係止爪が摩耗することなどによって、リテーナがコネクタハウジングから脱落する方向に移動してしまうといった虞がある。
【0005】
本開示の目的は、リテーナの移動を強固に抑制可能としたコネクタを提供することにある。
【課題を解決するための手段】
【0006】
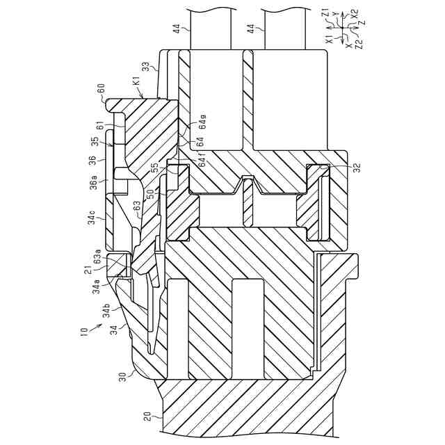
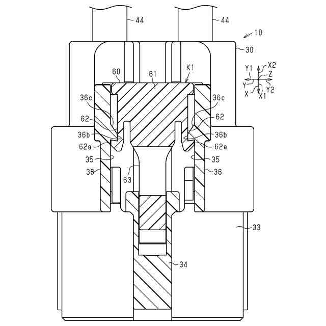
本開示のコネクタは、相手側コネクタに対して第1軸線に沿った嵌合方向に相対移動されることで前記相手側コネクタに嵌合可能なコネクタハウジングと、前記コネクタハウジング内に収容される端子と、前記コネクタハウジングに装着されることによって前記コネクタハウジングからの前記端子の抜けを阻止するリテーナと、前記コネクタハウジングに組み付けられるとともに、前記コネクタハウジングが前記相手側コネクタに嵌合された状態で仮係止位置から本係止位置に移動されることによって前記相手側コネクタからの前記コネクタハウジングの離脱を阻止するコネクタ位置保証部材と、を備える、コネクタであって、前記コネクタ位置保証部材は、前記本係止位置にある状態で前記コネクタハウジングからの前記リテーナの移動を阻止するように前記リテーナと係合する係合部を有する。
【発明の効果】
【0007】
本開示のコネクタによれば、リテーナの移動を強固に抑制できる。
【図面の簡単な説明】
【0008】
図1は、一実施形態におけるコネクタと相手側コネクタの斜視図である。
図2は、一実施形態におけるコネクタの分解斜視図である。
図3は、図1の3-3線に沿った断面図である。
図4は、図1の4-4線に沿った断面図である。
図5は、図1の5-5線に沿った断面図である。
図6は、一実施形態におけるコネクタ位置保証部材の斜視図である。
図7は、図1の7-7線に沿った断面図である。
図8は、図1の8-8線に沿った断面図である。
図9は、一実施形態におけるコネクタの作用を説明するための断面図である。
図10は、一実施形態におけるコネクタの作用を説明するための断面図である。
図11は、一実施形態におけるコネクタの一部拡大断面図である。
図12は、図11の12-12線に沿った断面図である。
【発明を実施するための形態】
【0009】
[本開示の実施形態の説明]
最初に本開示の実施態様を列記して説明する。
本開示のコネクタは、
[1]相手側コネクタに対して第1軸線に沿った嵌合方向に相対移動されることで前記相手側コネクタに嵌合可能なコネクタハウジングと、前記コネクタハウジング内に収容される端子と、前記コネクタハウジングに装着されることによって前記コネクタハウジングからの前記端子の抜けを阻止するリテーナと、前記コネクタハウジングに組み付けられるとともに、前記コネクタハウジングが前記相手側コネクタに嵌合された状態で仮係止位置から本係止位置に移動されることによって前記相手側コネクタからの前記コネクタハウジングの離脱を阻止するコネクタ位置保証部材と、を備える、コネクタであって、前記コネクタ位置保証部材は、前記本係止位置にある状態で前記コネクタハウジングからの前記リテーナの移動を阻止するように前記リテーナと係合する係合部を有する。
【0010】
同構成によれば、コネクタ位置保証部材は、本係止位置にある状態でコネクタハウジングからのリテーナの移動を阻止するようにリテーナと係合する係合部を有するため、特に別部材を追加することなく、リテーナの移動を強固に抑制することができる。
(【0011】以降は省略されています)
この特許をJ-PlatPat(特許庁公式サイト)で参照する
関連特許
住友電装株式会社
端子台
1か月前
住友電装株式会社
係止装置
6日前
住友電装株式会社
コネクタ
1か月前
住友電装株式会社
コネクタ
21日前
住友電装株式会社
コネクタ
1か月前
住友電装株式会社
コネクタ
2か月前
住友電装株式会社
コネクタ
1か月前
住友電装株式会社
コネクタ
1日前
住友電装株式会社
プロテクタ
2か月前
住友電装株式会社
電線保持部材
今日
住友電装株式会社
シールド端子
1か月前
住友電装株式会社
ワイヤハーネス
今日
住友電装株式会社
シールドコネクタ
1か月前
住友電装株式会社
端子保持ユニット及び端子
今日
住友電装株式会社
端子台、及び端子台の製造方法
2か月前
住友電装株式会社
電気接続箱および制御ユニット
2か月前
住友電装株式会社
プロテクタ、及びワイヤハーネス
6日前
住友電装株式会社
コネクタ及びコネクタアセンブリ
1か月前
住友電装株式会社
外導体端子及びシールドコネクタ
1か月前
住友電装株式会社
プロテクタとホルダとの一体化ユニット
1か月前
住友電装株式会社
プロテクタ及びプロテクタ付ワイヤハーネス
1か月前
株式会社オートネットワーク技術研究所
電装品
1か月前
株式会社オートネットワーク技術研究所
雌端子
1か月前
株式会社オートネットワーク技術研究所
電装品
今日
株式会社オートネットワーク技術研究所
電装品
1か月前
株式会社オートネットワーク技術研究所
コネクタ
13日前
株式会社オートネットワーク技術研究所
端子金具
13日前
株式会社オートネットワーク技術研究所
端子金具
13日前
株式会社オートネットワーク技術研究所
端子金具
13日前
株式会社オートネットワーク技術研究所
端子金具
13日前
株式会社オートネットワーク技術研究所
固定部材
1か月前
株式会社オートネットワーク技術研究所
コネクタ
1か月前
株式会社オートネットワーク技術研究所
コネクタ
2か月前
株式会社オートネットワーク技術研究所
コネクタ
1か月前
株式会社オートネットワーク技術研究所
圧接端子
6日前
株式会社オートネットワーク技術研究所
コネクタ
21日前
続きを見る
他の特許を見る