TOP
|
特許
|
意匠
|
商標
特許ウォッチ
Twitter
他の特許を見る
10個以上の画像は省略されています。
公開番号
2025163735
公報種別
公開特許公報(A)
公開日
2025-10-30
出願番号
2024067217
出願日
2024-04-18
発明の名称
コネクタ
出願人
住友電装株式会社
代理人
弁理士法人グランダム特許事務所
主分類
H01R
13/641 20060101AFI20251023BHJP(基本的電気素子)
要約
【課題】嵌合状態を検知する際の検知部の視認性を向上させることが可能なコネクタを提供する。
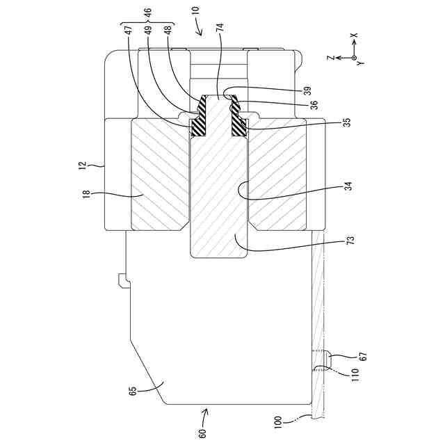
【解決手段】第1コネクタ10は、第1端子金具11を収容する第1ハウジング12と、第1ハウジング12に装着されるシール部材16と、を備える。第2コネクタ60は、第1ハウジング12に嵌合する第2ハウジング62を有している。シール部材16は、嵌合状態にある第1ハウジング12と第2ハウジング62との間に配置されるシール本体37と、シール本体37から突出して第1ハウジング12の外部に臨む突出部46と、を有している。第2ハウジング62は、第1ハウジング12との嵌合状態で突出部46に臨んだ状態となり、外部から視認可能に配置される検知部74を有している。検知部74と突出部46とは互いに異なる色を呈している。
【選択図】図10
特許請求の範囲
【請求項1】
第1コネクタおよび第2コネクタを備え、
前記第1コネクタは、第1端子金具を収容する第1ハウジングと、前記第1ハウジングに装着されるシール部材と、を備え、
前記第2コネクタは、前記第1ハウジングに嵌合する第2ハウジングを有し、
前記シール部材は、嵌合状態にある前記第1ハウジングと前記第2ハウジングとの間に配置されるシール本体と、前記シール本体から突出して前記第1ハウジングの外部に臨む突出部と、を有し、
前記第2ハウジングは、前記第1ハウジングとの嵌合状態で前記突出部に重なって前記外部から視認可能に配置される検知部を有し、
前記検知部と前記突出部とは互いに異なる色を呈している、コネクタ。
続きを表示(約 310 文字)
【請求項2】
前記検知部は、前記第1ハウジングに対する前記第2ハウジングの嵌合方向と交差する方向に前記突出部と対向して接触している、請求項1に記載のコネクタ。
【請求項3】
前記突出部は、前記シール本体から前記嵌合方向に突出し、前記検知部は、前記第1ハウジングと前記第2ハウジングとの嵌合状態で前記嵌合方向から視認可能に配置される、請求項2に記載のコネクタ。
【請求項4】
前記シール部材は、前記突出部を前記嵌合方向に貫通する貫通孔を有し、
前記検知部は、前記第1ハウジングと前記第2ハウジングとの嵌合状態で前記貫通孔の内部に配置される、請求項3に記載のコネクタ。
発明の詳細な説明
【技術分野】
【0001】
本開示は、コネクタに関する。
続きを表示(約 2,500 文字)
【背景技術】
【0002】
特許文献1に開示されたコネクタは、互いに嵌合可能な雌ハウジングおよび雄ハウジングを備える。雌ハウジングは、本体部と、本体部の周りを包囲するフード部と、を有している。本体部にはゴムリングが装着されている。雄ハウジングは、フード部の内部に嵌合する。雌ハウジングと雄ハウジングとが嵌合状態にあるときに、ゴムリングは雄ハウジングの
周壁と本体部との間に挟まるように配置される。
【0003】
雄ハウジングには突出片が突出して形成されている。フード部には、貫通孔が前後方向に貫通して形成されている。雌ハウジングと雄ハウジングとが嵌合状態にあるときに、突出片は、貫通孔に挿通され、さらにフード部の後方に露出して配置される。なお、その他の先行技術文献としては、特許文献2-5が挙げられる。
【先行技術文献】
【特許文献】
【0004】
特開平10-41015号公報
特開平10-172647号公報
特開2001-267003号公報
特開2001-283972号公報
特開2015-220203号公報
【発明の概要】
【発明が解決しようとする課題】
【0005】
特許文献1には、突出片がフード部の後方に突出している状態を視認することにより、雌ハウジングおよび雄ハウジングが正規に嵌合したことを検知できる旨、記載されている。突出片がフード部の後方に突出している状態で、突出片の奥側(背景側)には雌ハウジングの本体部が配置される。ここで、雌ハウジングおよび雄ハウジングが灰色系統の同色であると、突出片と本体部とのコントラストの差が小さく、突出片がフード部の後方に突出している状態を視認しにくくなる。これに対し、特許文献1においては、突出片の外面に形成された差込溝に、検知棒が差し込み可能であることをもって、雌ハウジングおよび雄ハウジングが正規に嵌合したと判断する機械的な検知手法を併用している。しかし、検知棒が設けられる分、部品点数が増加し、コストが高くなるという問題がある。
【0006】
そこで、本開示は、部品点数を増加させずにコネクタの嵌合状態を検知する際の視認性を向上させることを目的とする。
【課題を解決するための手段】
【0007】
本開示のコネクタは、第1コネクタおよび第2コネクタを備え、前記第1コネクタは、第1端子金具を収容する第1ハウジングと、前記第1ハウジングに装着されるシール部材と、を備え、前記第2コネクタは、前記第1ハウジングに嵌合する第2ハウジングを有し、前記シール部材は、嵌合状態にある前記第1ハウジングと前記第2ハウジングとの間に配置されるシール本体と、前記シール本体から突出して前記第1ハウジングの外部に臨む突出部と、を有し、前記第2ハウジングは、前記第1ハウジングとの嵌合状態で前記突出部に重なって前記外部から視認可能に配置される検知部を有し、前記検知部と前記突出部とは互いに異なる色を呈している、コネクタである。
【発明の効果】
【0008】
本開示によれば、嵌合状態を検知する際の視認性を向上させるコネクタを提供することが可能となる。
【図面の簡単な説明】
【0009】
図1は、本開示の実施形態1のコネクタにおいて、嵌合状態にある第1コネクタおよび第2コネクタの側断面図である。
図2は、実施形態1のコネクタにおいて、第2コネクタを斜め前上方から見た斜視図である。
図3は、実施形態1のコネクタにおいて、第2ハウジングの正面図である。
図4は、実施形態1のコネクタにおいて、第1コネクタを斜め前上方から見た斜視図である。
図5は、実施形態1のコネクタにおいて、第1ハウジングの背面図である。
図6は、実施形態1のコネクタにおいて、シール部材を斜め後下方から見た斜視図である。
図7は、実施形態1のコネクタにおいて、シール部材の側面図である。
図8は、実施形態1のコネクタにおいて、シール部材を斜め前上方から見た斜視図である。
図9は、実施形態1のコネクタにおいて、嵌合状態にある第1コネクタおよび第2コネクタの正面図である。
図10は、実施形態1のコネクタにおいて、検知部がシール部材の貫通孔に挿通された状態を示す側断面図である。
図11は、実施形態1のコネクタにおいて、検知部がシール部材の貫通孔に挿通された状態を拡大して示す横断面図である。
【発明を実施するための形態】
【0010】
[本開示の実施形態の説明]
最初に本開示の実施態様を列記して説明する。
本開示のコネクタは、
(1)第1コネクタおよび第2コネクタを備え、前記第1コネクタは、第1端子金具を収容する第1ハウジングと、前記第1ハウジングに装着されるシール部材と、を備え、前記第2コネクタは、前記第1ハウジングに嵌合する第2ハウジングを有し、前記シール部材は、嵌合状態にある前記第1ハウジングと前記第2ハウジングとの間に配置されるシール本体と、前記シール本体から突出して前記第1ハウジングの外部に臨む突出部と、を有し、前記第2ハウジングは、前記第1ハウジングとの嵌合状態で前記突出部に重なって前記外部から視認可能に配置される検知部を有し、前記検知部と前記突出部とは互いに異なる色を呈している。
第2ハウジングの検知部がシール部材の突出部に重なる状態を外部から視認することにより、第1ハウジングと第2ハウジングとが正規に嵌合していることを検知できる。特に、上記(1)の構成の場合、検知部と突出部とが互いに異なる色を呈しているので、突出部に重なった検知部を視認する際の視認性(識別性)を高めることができる。
(【0011】以降は省略されています)
この特許をJ-PlatPat(特許庁公式サイト)で参照する
関連特許
住友電装株式会社
端子台
1か月前
住友電装株式会社
コネクタ
1か月前
住友電装株式会社
コネクタ
9日前
住友電装株式会社
コネクタ
1か月前
住友電装株式会社
コネクタ
1か月前
住友電装株式会社
コネクタ
1か月前
住友電装株式会社
コネクタ
1か月前
住友電装株式会社
プロテクタ
1か月前
住友電装株式会社
シールド端子
24日前
住友電装株式会社
シールドコネクタ
1か月前
住友電装株式会社
ブラケット付きコネクタ
1か月前
住友電装株式会社
電気接続箱および制御ユニット
1か月前
住友電装株式会社
端子台、及び端子台の製造方法
1か月前
住友電装株式会社
絶縁構造体、及びワイヤハーネス
1か月前
住友電装株式会社
外導体端子及びシールドコネクタ
1か月前
住友電装株式会社
プロテクタ、及びワイヤハーネス
1か月前
住友電装株式会社
コネクタ及びコネクタアセンブリ
22日前
住友電装株式会社
プロテクタとホルダとの一体化ユニット
1か月前
住友電装株式会社
プロテクタ及びプロテクタ付ワイヤハーネス
1か月前
株式会社オートネットワーク技術研究所
雌端子
1か月前
株式会社オートネットワーク技術研究所
電装品
22日前
株式会社オートネットワーク技術研究所
電装品
22日前
株式会社オートネットワーク技術研究所
車載装置
1か月前
株式会社オートネットワーク技術研究所
端子金具
1日前
株式会社オートネットワーク技術研究所
端子金具
1日前
株式会社オートネットワーク技術研究所
コネクタ
1か月前
株式会社オートネットワーク技術研究所
コネクタ
1日前
株式会社オートネットワーク技術研究所
固定部材
23日前
株式会社オートネットワーク技術研究所
コネクタ
1か月前
株式会社オートネットワーク技術研究所
コネクタ
1か月前
株式会社オートネットワーク技術研究所
コネクタ
1か月前
株式会社オートネットワーク技術研究所
コネクタ
1か月前
株式会社オートネットワーク技術研究所
コネクタ
9日前
株式会社オートネットワーク技術研究所
端子金具
1日前
株式会社オートネットワーク技術研究所
端子金具
1日前
株式会社オートネットワーク技術研究所
コネクタ
1か月前
続きを見る
他の特許を見る