TOP
|
特許
|
意匠
|
商標
特許ウォッチ
Twitter
他の特許を見る
10個以上の画像は省略されています。
公開番号
2025150473
公報種別
公開特許公報(A)
公開日
2025-10-09
出願番号
2024051356
出願日
2024-03-27
発明の名称
プロテクタ
出願人
住友電装株式会社
,
本田技研工業株式会社
代理人
個人
,
個人
,
個人
,
個人
主分類
H02G
3/04 20060101AFI20251002BHJP(電力の発電,変換,配電)
要約
【課題】プロテクタ本体への別体クリップの固定強度を高めることを目的とする。
【解決手段】プロテクタ10は、ワイヤハーネスWHを収容する収容部22を含むプロテクタ本体20と、車体に固定されるクリップ部42を含み、前記プロテクタ本体20とは別体に設けられた別体クリップ40と、を備える。前記別体クリップ40は、挿入方向に沿って前記プロテクタ本体20に挿入される。前記プロテクタ本体20の一部と前記別体クリップ40の一部とが、前記プロテクタ本体20と前記別体クリップ40とを固定するロック部をなしている。前記ロック部は、第1ロック部R1と、前記挿入方向に沿って前記第1ロック部R1に対して離れた位置にある第2ロック部R2とを含む。
【選択図】図2
特許請求の範囲
【請求項1】
ワイヤハーネスを収容する収容部を含むプロテクタ本体と、
車体に固定されるクリップ部を含み、前記プロテクタ本体とは別体に設けられた別体クリップと、
を備え、
前記別体クリップは、挿入方向に沿って前記プロテクタ本体に挿入されており、
前記プロテクタ本体の一部と前記別体クリップの一部とが、前記プロテクタ本体と前記別体クリップとを固定するロック部をなしており、
前記ロック部は、第1ロック部と、前記挿入方向に沿って前記第1ロック部に対して離れた位置にある第2ロック部とを含む、プロテクタ。
続きを表示(約 990 文字)
【請求項2】
請求項1に記載のプロテクタであって、
前記第2ロック部は、前記プロテクタ本体に設けられた弾性片と、前記別体クリップに設けられた係止受部とを有し、
前記弾性片は、前記別体クリップの挿入時に撓むと共に、挿入後に弾性復帰して前記係止受部に係止し、
前記別体クリップの後端部が前記係止受部とされている、プロテクタ。
【請求項3】
請求項2に記載のプロテクタであって、
前記弾性片は、前記別体クリップの挿入時に、前記弾性片の外向き面を乗り越える前記別体クリップからの力を受けて前記外向き面とは反対側の内向き面のある側に向けて撓み、
前記弾性片の先端面は、前記弾性片が前記後端部に係止した状態で、前記後端部と接する部分から前記内向き面に行くにつれて前記後端部から離れる傾斜面状に形成されている、プロテクタ。
【請求項4】
請求項1から請求項3のいずれか1項に記載のプロテクタであって、
前記第2ロック部は、前記挿入方向と直交する方向に沿って前記第1ロック部の両側に設けられている、プロテクタ。
【請求項5】
請求項4に記載のプロテクタであって、
前記第1ロック部は、前記プロテクタ本体に設けられた第1突起と、前記別体クリップに設けられて前記第1突起と係止する第2突起とを有し、
前記プロテクタ本体は、前記第1突起の基端を支持する第1支持部と、前記第1支持部のうち前記挿入方向に沿った両端を支持する第2支持部とを有する、プロテクタ。
【請求項6】
請求項4に記載のプロテクタであって、
前記別体クリップは、前記プロテクタ本体に挿入される挿入部と、前記挿入部の後部から両側に突出する突出部とを有し、
前記挿入方向において、前記突出部の前方に前記プロテクタ本体のうち前記挿入部を囲う壁が位置すると共に、前記突出部の後方に前記プロテクタ本体のうち前記第2ロック部をなす部分が位置する、プロテクタ。
【請求項7】
請求項1から請求項3のいずれか1項に記載のプロテクタであって、
前記プロテクタ本体は、前記第2ロック部が設けられる第1領域と、前記第1領域の外側の第2領域とを仕切る仕切壁部を含む、プロテクタ。
発明の詳細な説明
【技術分野】
【0001】
本開示は、プロテクタに関する。
続きを表示(約 1,000 文字)
【背景技術】
【0002】
特許文献1は、プロテクタ本体と、プロテクタ本体とは別体に設けられてプロテクタ本体に固定された別体クリップとを備えるプロテクタを開示している。
【先行技術文献】
【特許文献】
【0003】
特開2019-110617号公報
【発明の概要】
【発明が解決しようとする課題】
【0004】
プロテクタ本体への別体クリップの固定強度を高めることが望まれている。
【0005】
そこで、プロテクタ本体への別体クリップの固定強度を高めることを目的とする。
【課題を解決するための手段】
【0006】
本開示のプロテクタは、ワイヤハーネスを収容する収容部を含むプロテクタ本体と、車体に固定されるクリップ部を含み、前記プロテクタ本体とは別体に設けられた別体クリップと、を備え、前記別体クリップは、挿入方向に沿って前記プロテクタ本体に挿入されており、前記プロテクタ本体の一部と前記別体クリップの一部とが、前記プロテクタ本体と前記別体クリップとを固定するロック部をなしており、前記ロック部は、第1ロック部と、前記挿入方向に沿って前記第1ロック部に対して離れた位置にある第2ロック部とを含む、プロテクタである。
【発明の効果】
【0007】
本開示によれば、プロテクタ本体への別体クリップの固定強度を高めることができる。
【図面の簡単な説明】
【0008】
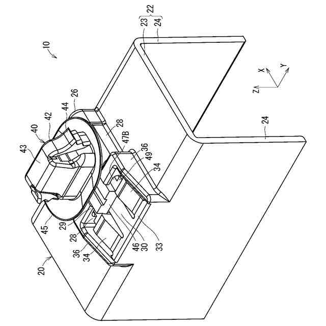
図1は実施形態1にかかるプロテクタを示す斜視図である。
図2は同プロテクタを示す分解斜視図である。
図3は同プロテクタを示す平面図である。
図4は同プロテクタを示す分解平面図である。
図5は同プロテクタを示す分解底面図である。
図6は同プロテクタを示す側面図である。
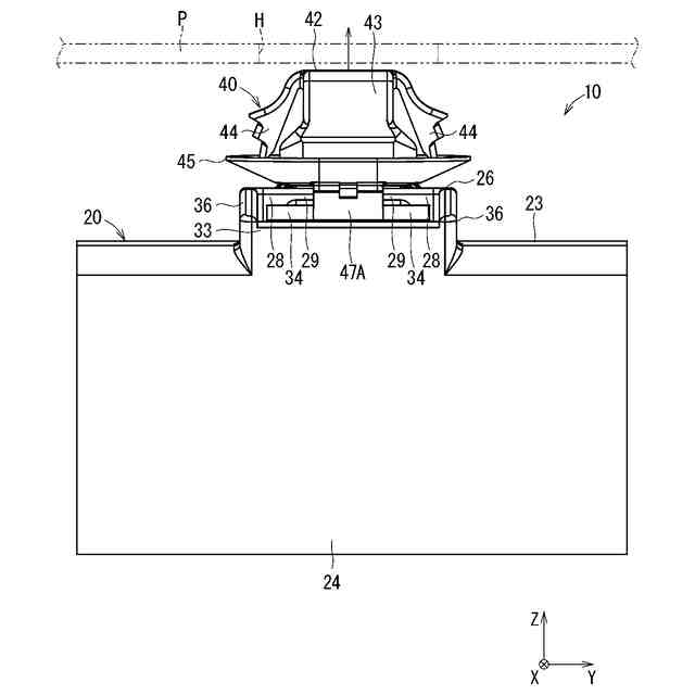
図7は図3のVII-VII線に沿った断面図である。
図8は図3のVIII-VIII線に沿った断面図である。
図9は図8の領域Aの拡大図である。
図10は別体クリップの挿入初期の状態を示す説明図である。
【発明を実施するための形態】
【0009】
[本開示の実施形態の説明]
最初に本開示の実施態様を列記して説明する。
【0010】
本開示のプロテクタは、次の通りである。
(【0011】以降は省略されています)
この特許をJ-PlatPat(特許庁公式サイト)で参照する
関連特許
住友電装株式会社
端子台
1か月前
住友電装株式会社
コネクタ
9日前
住友電装株式会社
コネクタ
1か月前
住友電装株式会社
コネクタ
1か月前
住友電装株式会社
コネクタ
1か月前
住友電装株式会社
シールド端子
24日前
住友電装株式会社
シールドコネクタ
1か月前
住友電装株式会社
外導体端子及びシールドコネクタ
1か月前
住友電装株式会社
コネクタ及びコネクタアセンブリ
22日前
住友電装株式会社
プロテクタとホルダとの一体化ユニット
1か月前
住友電装株式会社
プロテクタ及びプロテクタ付ワイヤハーネス
1か月前
株式会社オートネットワーク技術研究所
雌端子
1か月前
株式会社オートネットワーク技術研究所
電装品
22日前
株式会社オートネットワーク技術研究所
電装品
22日前
株式会社オートネットワーク技術研究所
コネクタ
1日前
株式会社オートネットワーク技術研究所
端子金具
1日前
株式会社オートネットワーク技術研究所
固定部材
23日前
株式会社オートネットワーク技術研究所
コネクタ
1か月前
株式会社オートネットワーク技術研究所
端子金具
1日前
株式会社オートネットワーク技術研究所
コネクタ
1か月前
株式会社オートネットワーク技術研究所
コネクタ
9日前
株式会社オートネットワーク技術研究所
端子金具
1日前
株式会社オートネットワーク技術研究所
端子金具
1日前
株式会社オートネットワーク技術研究所
電気接続箱
3日前
株式会社オートネットワーク技術研究所
基板用コネクタ
9日前
住友電装株式会社
接続構造体、リアクトル装置および接続構造体の製造方法
22日前
株式会社オートネットワーク技術研究所
車載用制御装置
1か月前
住友電装株式会社
電気接続箱
1か月前
株式会社オートネットワーク技術研究所
電子部品モジュール
10日前
住友電装株式会社
ワイヤハーネス
1日前
住友電装株式会社
バスバユニット
1か月前
住友電装株式会社
バスバユニット
11日前
株式会社オートネットワーク技術研究所
端子金具、及びコネクタ
1か月前
株式会社オートネットワーク技術研究所
端子金具、及びコネクタ
1か月前
住友電装株式会社
配線部材の配索構造
1か月前
住友電装株式会社
配線部材の配索構造
1か月前
続きを見る
他の特許を見る