TOP
|
特許
|
意匠
|
商標
特許ウォッチ
Twitter
他の特許を見る
公開番号
2025140415
公報種別
公開特許公報(A)
公開日
2025-09-29
出願番号
2024039813
出願日
2024-03-14
発明の名称
端子台
出願人
住友電装株式会社
代理人
弁理士法人暁合同特許事務所
主分類
H01R
9/16 20060101AFI20250919BHJP(基本的電気素子)
要約
【課題】ボルト締結時に金属粉の外部への放出及び端子の短絡を抑制することができる端子台を提供する。
【解決手段】端子台10は、第1方向に並ぶ複数の端子20と、複数の端子20を保持する樹脂部30と、複数のナット40と、複数のナット40を保持し且つ樹脂部30に組み付けられるナット保持部50と、を備え、各端子20は、端子接続部22と、端子接続部22を第1方向に直交する第2方向に貫通する挿通孔23と、を有し、各ナット40は、挿通孔23と第2方向に並んで配されるボルト孔41を有し、ナット保持部50は、第2方向の一方側に開口し且つ複数のナット40をそれぞれ収容する複数の収容部51と、複数の収容部51のそれぞれの第2方向の他方側に連なり且つ有底である複数のポケット部52と、第1方向に隣接する2つの端子20間を隔て且つ端子接続部22よりも第2方向の一方側に突出する隔壁54と、を備える。
【選択図】図5
特許請求の範囲
【請求項1】
第1方向に並ぶ複数の端子と、
前記複数の端子を保持する樹脂部と、
複数のナットと、
前記複数のナットを保持し且つ前記樹脂部に組み付けられるナット保持部と、を備え、
各前記端子は、端子接続部と、前記端子接続部を前記第1方向に直交する第2方向に貫通する挿通孔と、を有し、
各前記ナットは、前記挿通孔と前記第2方向に並んで配されるボルト孔を有し、
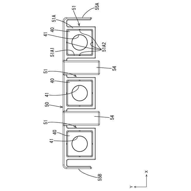
前記ナット保持部は、前記第2方向の一方側に開口し且つ前記複数のナットをそれぞれ収容する複数の収容部と、前記複数の収容部のそれぞれの前記第2方向の他方側に連なり且つ有底である複数のポケット部と、前記第1方向に隣接する2つの前記端子間を隔て且つ前記端子接続部よりも前記第2方向の一方側に突出する隔壁と、を備える、端子台。
続きを表示(約 340 文字)
【請求項2】
各前記収容部は、各前記ナットを前記第2方向に直交する方向から囲む周壁と、前記周壁の内面から突出する複数のリブと、を備える、請求項1に記載の端子台。
【請求項3】
各前記収容部は、各前記ナットを前記第2方向に直交する方向に囲む周壁と、各前記ナットに前記第2方向の他方側から接触する底部と、を備え、
前記底部から前記周壁の前記第2方向の一方側の端部までの前記第2方向における寸法は、前記ナットの前記第2方向における寸法より大きい、請求項1または請求項2に記載の端子台。
【請求項4】
前記樹脂部はロック部を備え、
前記ナット保持部は、前記ロック部に係止するロック受け部を備える、請求項1または請求項2に記載の端子台。
発明の詳細な説明
【技術分野】
【0001】
本開示は、端子台に関する。
続きを表示(約 2,100 文字)
【背景技術】
【0002】
従来、特開2013-45510号公報(下記特許文献1)に記載の端子台が知られている。この端子台は、3つの導電板と、3つのナットと、3つの導電板を保持するコネクタハウジングと、を備える。3つの導電板は左右方向に並んで配置されている。導電板は、ボルト締結によって電線側端子に接続される電線側締結部を備える。電線側締結部には締結ボルトが挿通可能なボルト挿通孔が形成されている。コネクタハウジングは、左右方向に並んで形成され、前方及び上方に開口する3つの電線側ナット収容部を備える。電線側ナット収容部には、ナットの軸線が上下方向となるように、ナットが収容されている。ナットは、電線側ナット収容部に対して前方から圧入されるようになっている。電線側ナット収容部の下方には、ナットに締結ボルトを締結した際に、ナットを貫通した締結ボルトの先端部分を逃がす逃がし凹部が連設されている。
【先行技術文献】
【特許文献】
【0003】
特開2013-45510号公報
【発明の概要】
【発明が解決しようとする課題】
【0004】
上記の構成では、電線側ナット収容部及び逃がし凹部が前方に開口しているため、締結ボルトをナットに締結する際に金属粉が生じ、端子台の周囲に放出されることが考えられる。また、上記の構成では、電線側端子と導電板とを接続する際に、左右方向に隣接する2つの電線側端子の間を区画するような絶縁性の部材が設けられていない。よって、電線側端子同士が接触し、この結果、導電板同士が短絡するおそれがある。
【0005】
本開示は上記のような事情に基づいて完成されたものであって、ボルト締結時に金属粉の外部への放出及び端子の短絡を抑制することができる端子台を提供することを目的とする。
【課題を解決するための手段】
【0006】
本開示の端子台は、第1方向に並ぶ複数の端子と、前記複数の端子を保持する樹脂部と、複数のナットと、前記複数のナットを保持し且つ前記樹脂部に組み付けられるナット保持部と、を備え、各前記端子は、端子接続部と、前記端子接続部を前記第1方向に直交する第2方向に貫通する挿通孔と、を有し、各前記ナットは、前記挿通孔と前記第2方向に並んで配されるボルト孔を有し、前記ナット保持部は、前記第2方向の一方側に開口し且つ前記複数のナットをそれぞれ収容する複数の収容部と、前記複数の収容部のそれぞれの前記第2方向の他方側に連なり且つ有底である複数のポケット部と、前記第1方向に隣接する2つの前記端子間を隔て且つ前記端子接続部よりも前記第2方向の一方側に突出する隔壁と、を備える、端子台である。
【発明の効果】
【0007】
本開示によれば、ボルト締結時に金属粉の外部への放出及び端子の短絡を抑制することができる端子台を提供することができる。
【図面の簡単な説明】
【0008】
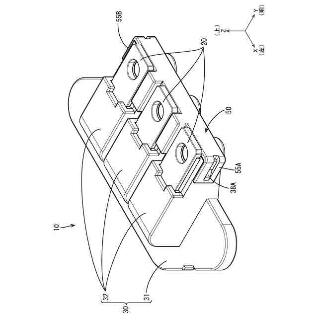
図1は、実施形態にかかる端子台の斜視図である。
図2は、端子台の分解斜視図である。
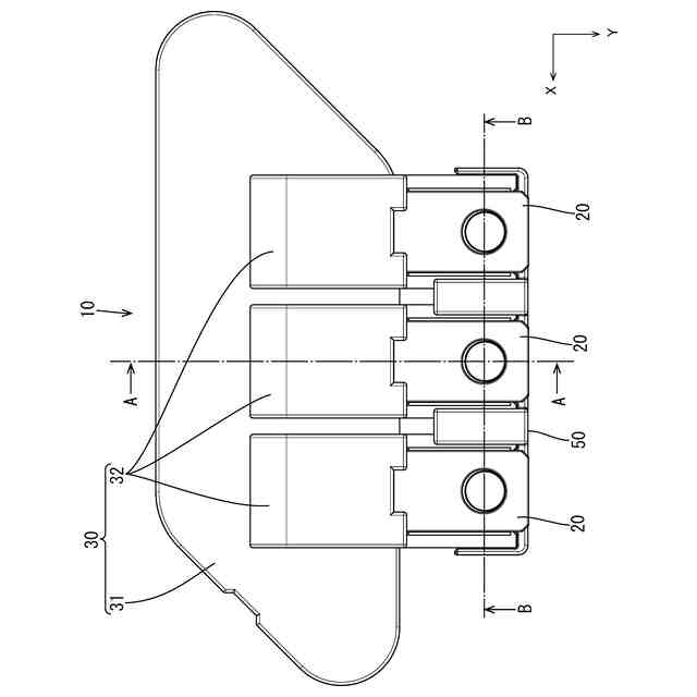
図3は、端子台の平面図である。
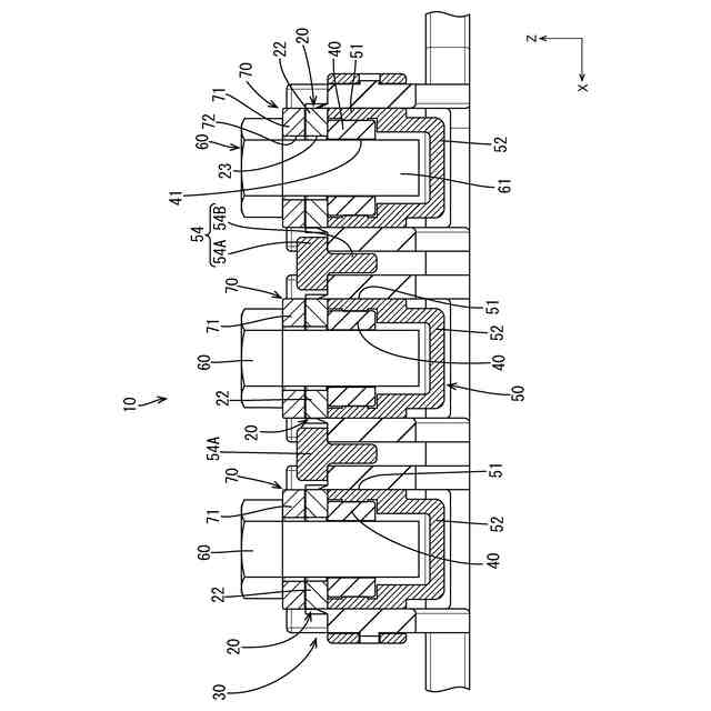
図4は、図3のA-A断面図である。
図5は、図3のB-B断面図である。
図6は、図3のB-B断面において端子と相手端子とを接続した状態を示す図である。
図7は、ナットが保持されたナット保持部の平面図である。
図8は、ナット保持部の斜視図である。
【発明を実施するための形態】
【0009】
[本開示の実施形態の説明]
最初に本開示の実施態様を列挙して説明する。
[1]本開示の端子台は、第1方向に並ぶ複数の端子と、前記複数の端子を保持する樹脂部と、複数のナットと、前記複数のナットを保持し且つ前記樹脂部に組み付けられるナット保持部と、を備え、各前記端子は、端子接続部と、前記端子接続部を前記第1方向に直交する第2方向に貫通する挿通孔と、を有し、各前記ナットは、前記挿通孔と前記第2方向に並んで配されるボルト孔を有し、前記ナット保持部は、前記第2方向の一方側に開口し且つ前記複数のナットをそれぞれ収容する複数の収容部と、前記複数の収容部のそれぞれの前記第2方向の他方側に連なり且つ有底である複数のポケット部と、前記第1方向に隣接する2つの前記端子間を隔て且つ前記端子接続部よりも前記第2方向の一方側に突出する隔壁と、を備える。
【0010】
このような構成によると、ナット保持部は収容部に連なる有底のポケット部を備えるから、ナットにボルトを締結する際に生じる金属粉が端子台の外部に放出されることを抑制することができる。また、ナット保持部は端子間を隔てる隔壁を備え、隔壁は端子接続部よりも第2方向の一方側に突出しているから、端子に対して相手端子をボルト締結する際、相手端子同士が第1方向に接触することを抑制することができる。よって、端子の短絡を抑制することができる。
(【0011】以降は省略されています)
この特許をJ-PlatPat(特許庁公式サイト)で参照する
関連特許
住友電装株式会社
端子台
1か月前
住友電装株式会社
コネクタ
1か月前
住友電装株式会社
コネクタ
1か月前
住友電装株式会社
コネクタ
1日前
住友電装株式会社
コネクタ
1か月前
住友電装株式会社
コネクタ
22日前
住友電装株式会社
プロテクタ
1か月前
住友電装株式会社
シールド端子
16日前
住友電装株式会社
シールドコネクタ
22日前
住友電装株式会社
ブラケット付きコネクタ
1か月前
住友電装株式会社
端子台、及び端子台の製造方法
1か月前
住友電装株式会社
電気接続箱および制御ユニット
1か月前
住友電装株式会社
コネクタ及びコネクタアセンブリ
14日前
住友電装株式会社
外導体端子及びシールドコネクタ
22日前
住友電装株式会社
プロテクタとホルダとの一体化ユニット
28日前
住友電装株式会社
プロテクタ及びプロテクタ付ワイヤハーネス
28日前
株式会社オートネットワーク技術研究所
電装品
14日前
株式会社オートネットワーク技術研究所
電装品
14日前
株式会社オートネットワーク技術研究所
雌端子
23日前
株式会社オートネットワーク技術研究所
車載装置
1か月前
株式会社オートネットワーク技術研究所
コネクタ
24日前
株式会社オートネットワーク技術研究所
コネクタ
1か月前
株式会社オートネットワーク技術研究所
コネクタ
1か月前
株式会社オートネットワーク技術研究所
コネクタ
1か月前
株式会社オートネットワーク技術研究所
コネクタ
24日前
株式会社オートネットワーク技術研究所
コネクタ
1日前
株式会社オートネットワーク技術研究所
コネクタ
1か月前
株式会社オートネットワーク技術研究所
固定部材
15日前
株式会社オートネットワーク技術研究所
接続構造体
1か月前
株式会社オートネットワーク技術研究所
コネクタ装置
1か月前
株式会社オートネットワーク技術研究所
コネクタ装置
1か月前
株式会社オートネットワーク技術研究所
コネクタ装置
1か月前
株式会社オートネットワーク技術研究所
コネクタ装置
1か月前
株式会社オートネットワーク技術研究所
基板用コネクタ
1日前
株式会社オートネットワーク技術研究所
車載用制御装置
1か月前
住友電装株式会社
接続構造体、リアクトル装置および接続構造体の製造方法
14日前
続きを見る
他の特許を見る