TOP
|
特許
|
意匠
|
商標
特許ウォッチ
Twitter
他の特許を見る
10個以上の画像は省略されています。
公開番号
2025147983
公報種別
公開特許公報(A)
公開日
2025-10-07
出願番号
2024048528
出願日
2024-03-25
発明の名称
コネクタ装置
出願人
株式会社オートネットワーク技術研究所
,
住友電装株式会社
,
住友電気工業株式会社
代理人
弁理士法人グランダム特許事務所
主分類
H01R
13/629 20060101AFI20250930BHJP(基本的電気素子)
要約
【課題】ハウジングを支持する支持部材同士の接近方向において小型化を図る。
【解決手段】コネクタ装置は、第1支持部材11と、第1支持部材11に接近可能にガイドされた第2支持部材41と、第1支持部材11に相対移動可能に支持された第1ハウジング30と、第2支持部材41に相対移動可能に支持された第2ハウジング50と、両ハウジング30,50に形成したラック34,55と、両ハウジング30,50に取り付けたギヤ37,57と、ギヤ37,57の偏心位置に形成されたカム突起38,58と、第1支持部材11に形成したカム面17,18とを備え、ラック34,55は、両支持部材11,41の接近方向と交差する嵌合方向に延びており、両支持部材11,41が接近する過程では、カム突起38,58とカム面17,18との当接によってギヤ37,57がラック34,55と噛み合った状態で回転し、両ハウジング30,50が嵌合する。
【選択図】図1
特許請求の範囲
【請求項1】
第1支持部材と、
前記第1支持部材に対して接近可能にガイドされた第2支持部材と、
前記第1支持部材に対して相対移動可能に支持された第1ハウジングと、
前記第1ハウジングと嵌合可能であって前記第2支持部材に対して相対移動可能に支持された第2ハウジングと、
前記第1ハウジングと前記第2ハウジングの少なくとも一方に形成されたラックと、
前記第1ハウジングと前記第2ハウジングの少なくとも他方に取り付けたギヤと、
前記ギヤの偏心位置に形成されたカム突起と、
前記第1支持部材に形成されたカム面と、を備え、
前記ラックは、前記第1支持部材と前記第2支持部材の接近方向と交差する嵌合方向に延びており、
前記第1支持部材と前記第2支持部材が接近する過程では、前記カム突起が前記カム面に当接することによって前記ギヤが前記ラックと噛み合った状態で回転し、前記第1ハウジングと前記第2ハウジングが前記嵌合方向に接近して嵌合されるコネクタ装置。
続きを表示(約 690 文字)
【請求項2】
一対の前記ギヤが、前記接近方向及び前記嵌合方向の両方向に対して交差する交差方向に間隔を空けて配置され、
一対の前記ラックが、前記交差方向に間隔を空けて配置されている請求項1に記載のコネクタ装置。
【請求項3】
前記一対のギヤは、前記第1ハウジングに取り付けた第1ギヤと、前記第2ハウジングに取り付けた第2ギヤとを含み、
前記一対のラックは、前記第1ハウジングに形成した第1ラックと、前記第2ハウジングに形成した第2ラックとを含み、
前記第1ギヤと前記第2ラックとが噛み合い、
前記第2ギヤと前記第1ラックとが噛み合っている請求項2に記載のコネクタ装置。
【請求項4】
前記一対のギヤは、回転中心軸を前記交差方向に向けて配置され、
前記交差方向に視たときに、前記第1ラックと前記第2ラックとが、前記ギヤに対して反対側から噛み合うように配置されている請求項3に記載のコネクタ装置。
【請求項5】
前記第1ハウジングは、第1支持部材に対して、前記接近方向への相対移動を可能にガイドされ、
前記第2ハウジングは、第2支持部材に対して前記嵌合方向への相対移動を可能に支持されている請求項4に記載のコネクタ装置。
【請求項6】
前記第1支持部材には、前記第1ハウジングと前記第2ハウジングの嵌合が完了した状態において、前記カム突起を前記第1支持部材に対して前記接近方向へ相対移動させることが可能な位置ずれ吸収溝が形成されている請求項5に記載のコネクタ装置。
発明の詳細な説明
【技術分野】
【0001】
本開示は、コネクタ装置に関するものである。
続きを表示(約 3,100 文字)
【背景技術】
【0002】
特許文献1には、乗り物のルーフパネルを覆う天井材本体に設けた照明側コネクタと、天井材本体を補強する補強部材に設けた給電側コネクタとを嵌合する構造が開示されている。補強部材は、天井材本体に対して、上方から接近させることによって組み付けられる。補強部材を天井材本体に組み付けることによって、給電側コネクタが照明側コネクタに嵌合される。
【先行技術文献】
【特許文献】
【0003】
特開2021-185058号公報
【発明の概要】
【発明が解決しようとする課題】
【0004】
一般的なコネクタ装置では、2つのコネクタの寸法が嵌合方向において大きくなる傾向にある。上記の構造では、2つのコネクタ(照明側コネクタと給電側コネクタ)の嵌合方向が、2つのコネクタを支持する2つの部材(天井材本体と補強部材)の組み付け方向(上下方向)と平行である。そのため、装置全体が上下方向(組み付け方向)において大型化するという問題がある。
【0005】
本開示のコネクタ装置は、上記のような事情に基づいて完成されたものであって、ハウジングを支持する支持部材同士の接近方向において小型化を図ることを目的とする。
【課題を解決するための手段】
【0006】
本開示のコネクタ装置は、
第1支持部材と、
前記第1支持部材に対して接近可能にガイドされた第2支持部材と、
前記第1支持部材に対して相対移動可能に支持された第1ハウジングと、
前記第1ハウジングと嵌合可能であって前記第2支持部材に対して相対移動可能に支持された第2ハウジングと、
前記第1ハウジングと前記第2ハウジングの少なくとも一方に形成されたラックと、
前記第1ハウジングと前記第2ハウジングの少なくとも他方に取り付けたギヤと、
前記ギヤの偏心位置に形成されたカム突起と、
前記第1支持部材に形成されたカム面と、を備え、
前記ラックは、前記第1支持部材と前記第2支持部材の接近方向と交差する嵌合方向に延びており、
前記第1支持部材と前記第2支持部材が接近する過程では、前記カム突起が前記カム面に当接することによって前記ギヤが前記ラックと噛み合った状態で回転し、前記第1ハウジングと前記第2ハウジングが前記嵌合方向に接近して嵌合される。
【発明の効果】
【0007】
本開示によれば、ハウジングを支持する支持部材同士の接近方向において小型化を図ることができる。
【図面の簡単な説明】
【0008】
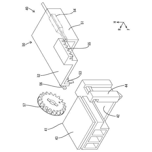
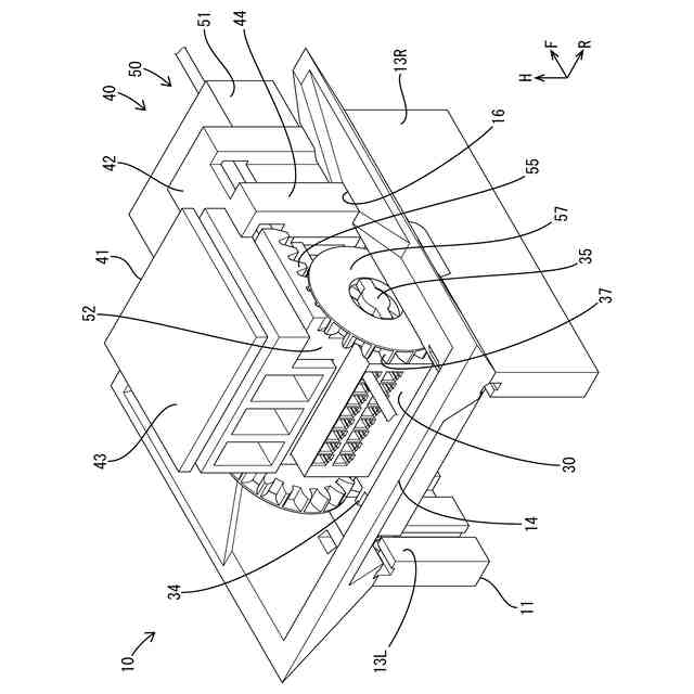
図1は、実施例1のコネクタ装置を斜め右後方から視た斜視図である。
図2は、図1に示すコネクタ装置を斜め左後方から視た斜視図である。
図3は、図1に示す第1支持部材を斜め左前方から視た斜視図である。
図4は、図1に示す第1支持部材を斜め右前方から視た斜視図である。
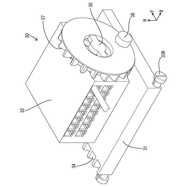
図5は、図1に示す第1ハウジングと第1ギヤを斜め右後方から視た斜視図である。
図6は、図1に示す第1ハウジングと第1ギヤを斜め左前方から視た斜視図である。
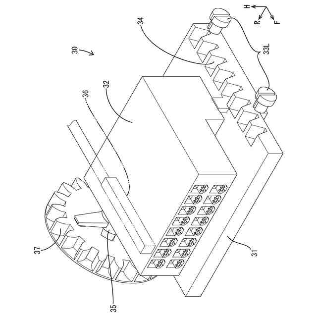
図7は、図1に示す第2コネクタを斜め左前方から視た斜視図である。
図8は、図1に示す第2コネクタであって、分解状態の第2コネクタを斜め左前方から視た斜視図である。
図9は、実施例1における第1ハウジングと第2ハウジングの嵌合開始状態において、第1カム突起と第1カム面との位置関係をあらわす右側断面図である。
図10は、実施例1における第1ハウジングと第2ハウジングの嵌合開始状態において、第1ギヤと第2ラックとの噛み合い状態をあらわす右側断面図である。
図11は、実施例1における第1ハウジングと第2ハウジングの嵌合開始状態において、第2カム突起と第2カム面との位置関係をあらわす左側断面図である。
図12は、実施例1における第1ハウジングと第2ハウジングの嵌合開始状態において、第2ギヤと第1ラックとの噛み合い状態をあらわす左側断面図である。
図13は、実施例1における第1ハウジングと第2ハウジングの嵌合完了状態において、第1カム突起と第1カム面との位置関係をあらわす右側断面図である。
図14は、実施例1における第1ハウジングと第2ハウジングの嵌合完了状態において、第1ギヤと第2ラックとの噛み合い状態をあらわす右側断面図である。
図15は、実施例1における第1ハウジングと第2ハウジングの嵌合完了状態において、第2カム突起と第2カム面との位置関係をあらわす左側断面図である。
図16は、実施例1における第1ハウジングと第2ハウジングの嵌合完了状態において、第2ギヤと第1ラックとの噛み合い状態をあらわす左側断面図である。
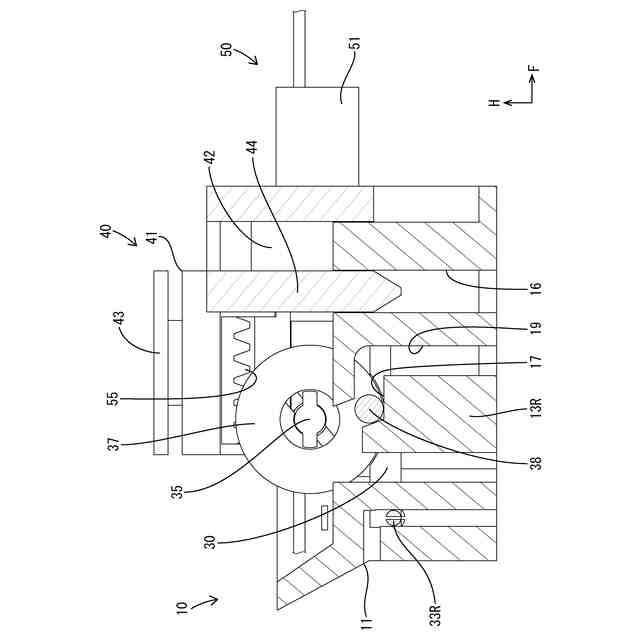
図7は、実施例1における第1ハウジングと第2ハウジングの嵌合が完了し、第1支持部材と第2支持部材との組み付けが完了した状態をあらわす右側断面図である。
図8は、実施例1における第1ハウジングと第2ハウジングの嵌合が完了し、第1支持部材と第2支持部材との組み付けが完了した状態をあらわす左側断面図である。
【0009】
[本開示の実施形態の説明]
最初に本開示の実施形態を列記して説明する。下記の複数の実施形態を、矛盾を生じない範囲で任意に組み合わせたものも、発明を実施するための形態に含まれる。
本開示のコネクタ装置は、
(1)第1支持部材と、前記第1支持部材に対して接近可能にガイドされた第2支持部材と、前記第1支持部材に対して相対移動可能に支持された第1ハウジングと、前記第1ハウジングと嵌合可能であって前記第2支持部材に対して相対移動可能に支持された第2ハウジングと、前記第1ハウジングと前記第2ハウジングの少なくとも一方に形成されたラックと、前記第1ハウジングと前記第2ハウジングの少なくとも他方に取り付けたギヤと、前記ギヤの偏心位置に形成されたカム突起と、前記第1支持部材に形成されたカム面と、を備え、前記ラックは、前記第1支持部材と前記第2支持部材の接近方向と交差する嵌合方向に延びており、前記第1支持部材と前記第2支持部材が接近する過程では、前記カム突起が前記カム面に当接することによって前記ギヤが前記ラックと噛み合った状態で回転し、前記第1ハウジングと前記第2ハウジングが前記嵌合方向に接近して嵌合される。この構成によれば、第1ハウジングと第2ハウジングの嵌合方向が、第1支持部材と第2支持部材の接近方向に対して交差する方向となっているので、第1ハウジングを支持する第1支持部材と第2ハウジングを支持する第2支持部材の接近方向において、小型化を図ることができる。
【0010】
(2)(1)において、一対の前記ギヤが、前記接近方向及び前記嵌合方向の両方向に対して交差する交差方向に間隔を空けて配置され、一対の前記ラックが、前記交差方向に間隔を空けて配置されていることが好ましい。この構成によれば、ギヤとラックとの噛み合いによる嵌合力が、嵌合方向と交差する交差方向に間隔を空けた2箇所で生じる。よって、嵌合過程において、一対のハウジングは、接近方向に視たときに斜めになるようなこじりを生じ難い。
(【0011】以降は省略されています)
この特許をJ-PlatPat(特許庁公式サイト)で参照する
関連特許
APB株式会社
蓄電セル
1か月前
東ソー株式会社
絶縁電線
1か月前
日機装株式会社
加圧装置
3日前
マクセル株式会社
電源装置
1か月前
株式会社東芝
端子台
1か月前
ローム株式会社
半導体装置
1か月前
日新イオン機器株式会社
イオン源
3日前
三菱電機株式会社
回路遮断器
26日前
株式会社GSユアサ
蓄電装置
18日前
富士電機株式会社
電磁接触器
18日前
株式会社ホロン
冷陰極電子源
1か月前
株式会社GSユアサ
蓄電装置
1か月前
株式会社GSユアサ
蓄電装置
1か月前
株式会社GSユアサ
蓄電装置
1か月前
トヨタ自動車株式会社
バッテリ
1か月前
株式会社東芝
電子源
3日前
日新イオン機器株式会社
基板処理装置
1か月前
株式会社トクミ
ケーブル
4日前
トヨタ自動車株式会社
蓄電装置
1か月前
個人
電源ボックス及び電子機器
3日前
ホシデン株式会社
複合コネクタ
12日前
トヨタ自動車株式会社
蓄電装置
10日前
トヨタ自動車株式会社
冷却構造
1か月前
大電株式会社
電線又はケーブル
10日前
日本特殊陶業株式会社
保持装置
1か月前
日本特殊陶業株式会社
保持装置
1か月前
北道電設株式会社
配電具カバー
1か月前
日本無線株式会社
レーダアンテナ
1か月前
ローム株式会社
半導体装置
1か月前
住友電装株式会社
コネクタ
18日前
トヨタ自動車株式会社
密閉型電池
1か月前
日亜化学工業株式会社
半導体レーザ素子
1か月前
株式会社レゾナック
冷却器
26日前
トヨタ自動車株式会社
電池パック
1か月前
住友電装株式会社
コネクタ
1か月前
株式会社デンソー
電子装置
1か月前
続きを見る
他の特許を見る