TOP
|
特許
|
意匠
|
商標
特許ウォッチ
Twitter
他の特許を見る
10個以上の画像は省略されています。
公開番号
2025149310
公報種別
公開特許公報(A)
公開日
2025-10-08
出願番号
2024049865
出願日
2024-03-26
発明の名称
電気接続箱および制御ユニット
出願人
住友電装株式会社
,
スズキ株式会社
代理人
個人
,
個人
主分類
H02G
3/16 20060101AFI20251001BHJP(電力の発電,変換,配電)
要約
【課題】免振ゴム等の別部品の緩衝材を用いることなく制御モジュールの振動を抑制することができる電気接続箱および制御ユニットを提供する。
【解決手段】電気接続箱3は、電気的な処理を制御する制御モジュール2の電気経路を中継する素子13をハウジング8の内部に有する。電気接続箱3は、制御モジュール2が嵌合される嵌合部20と、制御モジュール2が嵌合部20を介してハウジング8に嵌合された場合に、制御モジュール2の当接部30に当接して制御モジュール2の位置を調整する位置調整部29と、を備える。位置調整部29は、当接部30の寸法と部分的に重なる寸法を有する。
【選択図】図5
特許請求の範囲
【請求項1】
電気的な処理を制御する制御モジュールの電気経路を中継する素子をハウジングの内部に有する電気接続箱であって、
前記制御モジュールが嵌合される嵌合部と、
前記制御モジュールが前記嵌合部を介して前記ハウジングに嵌合された場合に、前記制御モジュールの当接部に当接して前記制御モジュールの位置を調整する位置調整部と、を備え、
前記位置調整部は、前記当接部の寸法と部分的に重なる寸法を有する、電気接続箱。
続きを表示(約 1,000 文字)
【請求項2】
前記位置調整部は、嵌合時、前記当接部を嵌合方向の反対の方向に持ち上げる形状を有する、請求項1に記載の電気接続箱。
【請求項3】
前記嵌合部は、前記制御モジュールに設けられた被係合部が嵌合の過程で係合される係合部を有し、
前記係合部と前記位置調整部とは、前記ハウジングの厚さ方向と前記厚さ方向の直交方向とにおいて互いにずれた位置に配置され、
前記位置調整部は、斜面を有する前記当接部と部分的に重なる寸法に形成された傾斜部を有し、
前記傾斜部は、嵌合時に前記当接部を嵌合方向の反対の方向に持ち上げることにより、前記被係合部を前記係合部に密着させる、請求項1に記載の電気接続箱。
【請求項4】
前記嵌合部は、前記被係合部を前記係合部に係合させた状態で前記制御モジュールの被ロック部をロックするロック部を有し、
前記制御モジュールの嵌合構造は、前記被係合部を支点として前記制御モジュールを回転させるとともに、回転終端で前記被ロック部を前記ロック部にロックさせる回転嵌合構造であり、
前記傾斜部は、嵌合時に前記当接部を回転嵌合方向の反対の方向に持ち上げる形状を有する、請求項3に記載の電気接続箱。
【請求項5】
前記係合部よりも前記ロック部に近い位置に配置され、嵌合時、前記制御モジュールの干渉部に密着することによって、前記ハウジングの厚さ方向の直交方向の振動を抑える防振部を備えた、請求項4に記載の電気接続箱。
【請求項6】
前記位置調整部は、前記ハウジングの幅方向に複数配置されている、請求項1に記載の電気接続箱。
【請求項7】
電気的な処理を制御する制御モジュールと、前記制御モジュールの電気経路を中継する素子をハウジングの内部に有する電気接続箱と、を備えた制御ユニットであって、
前記制御モジュールの一部を前記電気接続箱の嵌合部に嵌合させる嵌合機構と、
前記制御モジュールが前記嵌合機構を介して前記ハウジングに嵌合された場合に、前記電気接続箱に設けられた位置調整部を、前記制御モジュールに設けられた当接部に当接させて、前記制御モジュールの位置を調整する位置調整機構と、を備え、
前記位置調整部は、前記当接部の寸法と部分的に重なる寸法を有する、制御ユニット。
発明の詳細な説明
【技術分野】
【0001】
本発明は、電気接続箱および制御ユニットに関する。
続きを表示(約 1,700 文字)
【背景技術】
【0002】
従来、特許文献1に開示されるように、ボディコントロールモジュール等の制御モジュールを備えた電気接続箱が周知である。特許文献1の電気接続箱は、制御モジュールの他に、メインカバー、配線板、布線シート電線、および中間カバーを備える。メインカバーは、複数のリレーを有するリレーホルダが組付けられている。
【先行技術文献】
【特許文献】
【0003】
特開2008-22683号公報
【発明の概要】
【発明が解決しようとする課題】
【0004】
ところで、制御モジュールには、様々な電子部品が搭載されるので、振動を極力抑える必要がある。この対策としては、例えば、制御モジュールを電気接続箱のハウジングに免振ゴム等の緩衝材を介して取付けることが考えられる。しかし、この対策の場合、免振ゴム等の緩衝材が別部品として必要となるので、部品コストが高くなる。また、免振ゴム等の緩衝材を貼り付ける工程が必要となるので、製造工程の簡素化が妨げられる。更には、免振ゴム等の緩衝材が剥がれてしまうと、振動を抑制できなくなる。
【0005】
本開示の目的は、免振ゴム等の別部品の緩衝材を用いることなく制御モジュールの振動を抑制することができる電気接続箱および制御ユニットを提供することにある。
【課題を解決するための手段】
【0006】
前記課題を解決する電気接続箱は、電気的な処理を制御する制御モジュールの電気経路を中継する素子をハウジングの内部に有する構成であって、前記制御モジュールが嵌合される嵌合部と、前記制御モジュールが前記嵌合部を介して前記ハウジングに嵌合された場合に、前記制御モジュールの当接部に当接して前記制御モジュールの位置を調整する位置調整部と、を備え、前記位置調整部は、前記当接部の寸法と部分的に重なる寸法を有する。
【発明の効果】
【0007】
本開示は、免振ゴム等の別部品の緩衝材を用いることなく制御モジュールの振動を抑制することができる。
【図面の簡単な説明】
【0008】
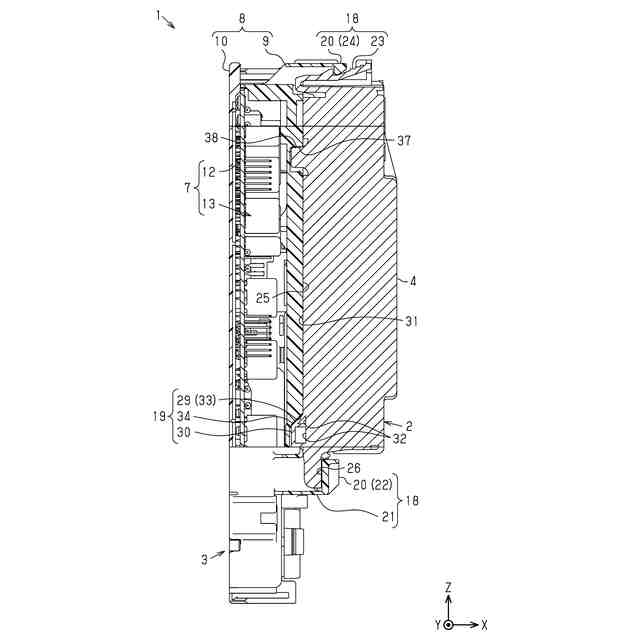
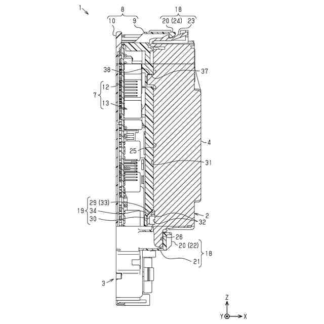
図1は、一実施形態に係る制御ユニットの斜視図である。
図2は、制御ユニットの正面図である。
図3は、電気接続箱の斜視図である。
図4は、電気接続箱の分解斜視図である。
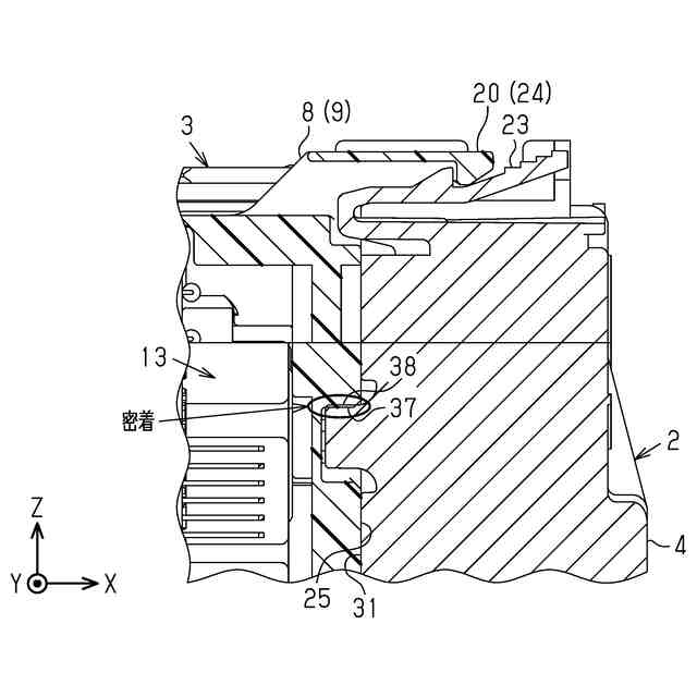
図5は、図2に示すV-V線組み合せ断面図である。
図6は、制御モジュールの斜視図である。
図7(a)、図7(b)は、回転嵌合構造の説明図である。
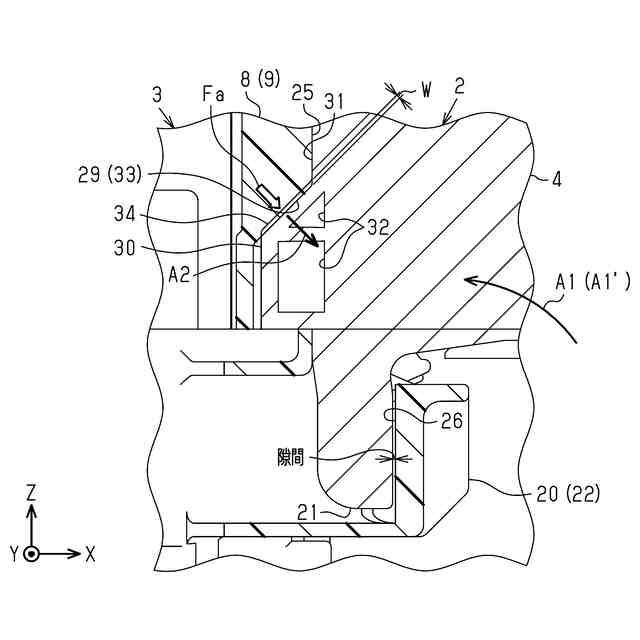
図8は、位置調整機構の作用を説明するための断面図である。
図9は、防振部の作用を説明するための断面図である。
【発明を実施するための形態】
【0009】
最初に本開示の実施態様を列記して説明する。
[1]本開示の電気接続箱は、電気的な処理を制御する制御モジュールの電気経路を中継する素子をハウジングの内部に有する構成であって、前記制御モジュールが嵌合される嵌合部と、前記制御モジュールが前記嵌合部を介して前記ハウジングに嵌合された場合に、前記制御モジュールの当接部に当接して前記制御モジュールの位置を調整する位置調整部と、を備え、前記位置調整部は、前記当接部の寸法と部分的に重なる寸法を有する。
【0010】
本構成によれば、電気接続箱の位置調整部と制御モジュールの当接部とが部分的に重なる寸法を有しているので、制御モジュールと電気接続箱とを嵌合させた際に、これらを密着させることが可能となる。このため、制御モジュールと電気接続箱との嵌合を、免振ゴムと同等の挿入荷重で成立させることが可能となる。このように、本構成の場合、制御モジュールと電気接続箱との間の寸法を工夫することにより、電気接続箱に対する制御モジュールの振動を小さく抑える。よって、免振ゴム等の別部品の緩衝材を用いることなく制御モジュールの振動を抑制することが可能となる。
(【0011】以降は省略されています)
この特許をJ-PlatPat(特許庁公式サイト)で参照する
関連特許
住友電装株式会社
端子台
1か月前
住友電装株式会社
コネクタ
1か月前
住友電装株式会社
コネクタ
1か月前
住友電装株式会社
コネクタ
26日前
住友電装株式会社
コネクタ
25日前
住友電装株式会社
コネクタ
17日前
住友電装株式会社
プロテクタ
1か月前
住友電装株式会社
シールド端子
11日前
住友電装株式会社
シールドコネクタ
17日前
住友電装株式会社
ブラケット付きコネクタ
1か月前
住友電装株式会社
電気接続箱および制御ユニット
1か月前
住友電装株式会社
端子台、及び端子台の製造方法
1か月前
住友電装株式会社
外導体端子及びシールドコネクタ
17日前
住友電装株式会社
絶縁構造体、及びワイヤハーネス
1か月前
住友電装株式会社
コネクタ及びコネクタアセンブリ
9日前
住友電装株式会社
プロテクタ、及びワイヤハーネス
1か月前
住友電装株式会社
プロテクタとホルダとの一体化ユニット
23日前
住友電装株式会社
プロテクタ及びプロテクタ付ワイヤハーネス
23日前
株式会社オートネットワーク技術研究所
雌端子
18日前
株式会社オートネットワーク技術研究所
電装品
9日前
株式会社オートネットワーク技術研究所
電装品
9日前
株式会社オートネットワーク技術研究所
コネクタ
1か月前
株式会社オートネットワーク技術研究所
コネクタ
1か月前
株式会社オートネットワーク技術研究所
コネクタ
1か月前
株式会社オートネットワーク技術研究所
固定部材
10日前
株式会社オートネットワーク技術研究所
コネクタ
1か月前
株式会社オートネットワーク技術研究所
コネクタ
19日前
株式会社オートネットワーク技術研究所
コネクタ
19日前
株式会社オートネットワーク技術研究所
車載装置
1か月前
株式会社オートネットワーク技術研究所
接続構造体
1か月前
株式会社オートネットワーク技術研究所
コネクタ装置
1か月前
株式会社オートネットワーク技術研究所
コネクタ装置
1か月前
株式会社オートネットワーク技術研究所
コネクタ装置
1か月前
株式会社オートネットワーク技術研究所
コネクタ装置
1か月前
株式会社オートネットワーク技術研究所
ワイヤハーネス
1か月前
住友電装株式会社
接続構造体、リアクトル装置および接続構造体の製造方法
9日前
続きを見る
他の特許を見る