TOP
|
特許
|
意匠
|
商標
特許ウォッチ
Twitter
他の特許を見る
公開番号
2025152382
公報種別
公開特許公報(A)
公開日
2025-10-09
出願番号
2024054248
出願日
2024-03-28
発明の名称
接続構造体
出願人
株式会社オートネットワーク技術研究所
,
住友電装株式会社
,
住友電気工業株式会社
代理人
弁理士法人グランダム特許事務所
主分類
H02G
3/16 20060101AFI20251002BHJP(電力の発電,変換,配電)
要約
【課題】電気接続箱に複数の車載装置を接続する作業を簡素化することが可能な技術を提供する。
【解決手段】接続構造体20は、車両に搭載される電気接続箱10に複数の車載装置11を接続する。接続構造体20は、基材21と、基材21に固定される複数の配線部22と、を有する。複数の配線部22は、電気接続箱10に各車載装置11を接続する。
【選択図】図1
特許請求の範囲
【請求項1】
車両に搭載される電気接続箱に複数の車載装置を接続する接続構造体であって、
基材と、前記基材に固定される複数の配線部と、を有し、
前記複数の配線部は、前記電気接続箱に前記各車載装置を接続する
接続構造体。
続きを表示(約 300 文字)
【請求項2】
前記基材は、絶縁性を有し、前記配線部間を絶縁する
請求項1に記載の接続構造体。
【請求項3】
前記各配線部は、バスバによって構成され、
前記各バスバの少なくとも一部は全周が前記基材内に埋設される
請求項2に記載の接続構造体。
【請求項4】
前記バスバは、前記基材の外部に突出する突出部を有し、
前記突出部には、ボルト挿通孔が形成されている
請求項3に記載の接続構造体。
【請求項5】
前記基材及び前記バスバを貫通するボルト挿通孔が形成されている
請求項3に記載の接続構造体。
発明の詳細な説明
【技術分野】
【0001】
本開示は、接続構造体に関する。
続きを表示(約 1,100 文字)
【背景技術】
【0002】
特許文献1には、車両に搭載される電源システムが開示されている。この電源システムは、バッテリパックと、バッテリパックに接続される電子機器モジュールと、を備える。電子機器モジュールは、PCU、急速充電器、通常充電器、コンセント、低圧機器、及び高圧機器と電気的に接続されている。
【先行技術文献】
【特許文献】
【0003】
特開2022-120744号公報
【発明の概要】
【発明が解決しようとする課題】
【0004】
この種の構成では、電子機器モジュールのような電気接続箱に対し、被覆電線を用いて、各車載装置を接続しようとする場合、配線の接続作業が煩雑になりやすい。
【0005】
本開示は、電気接続箱に複数の車載装置を接続する作業を簡素化することが可能な技術を提供することを目的とする。
【課題を解決するための手段】
【0006】
本開示の接続構造体は、
車両に搭載される電気接続箱に複数の車載装置を接続する接続構造体であって、
基材と、前記基材に固定される複数の配線部と、を有し、
前記複数の配線部は、前記電気接続箱に前記各車載装置を接続する。
【発明の効果】
【0007】
本開示の技術によれば、電気接続箱に複数の車載装置を接続する作業を簡素化することができる。
【図面の簡単な説明】
【0008】
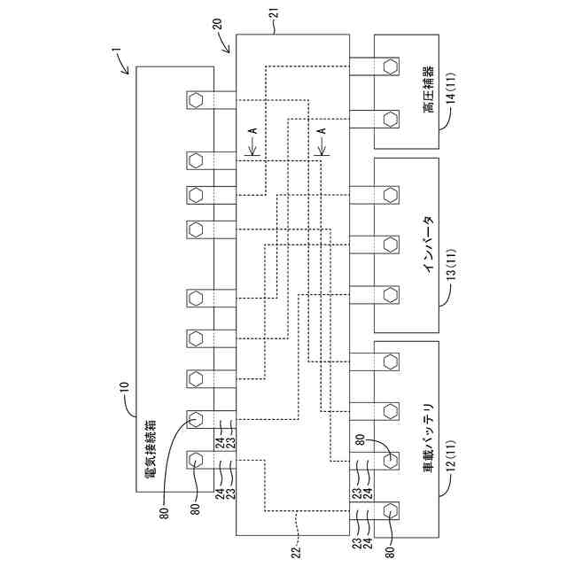
図1は、第1実施形態の接続構造体が電気接続箱及び車載装置に接続される前の状態を示す平面図である。
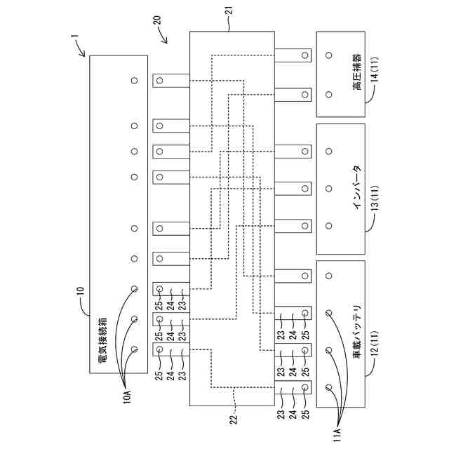
図2は、第1実施形態の接続構造体が電気接続箱及び車載装置に接続された状態を示す平面図である。
図3は、図2のA-A線断面図である。
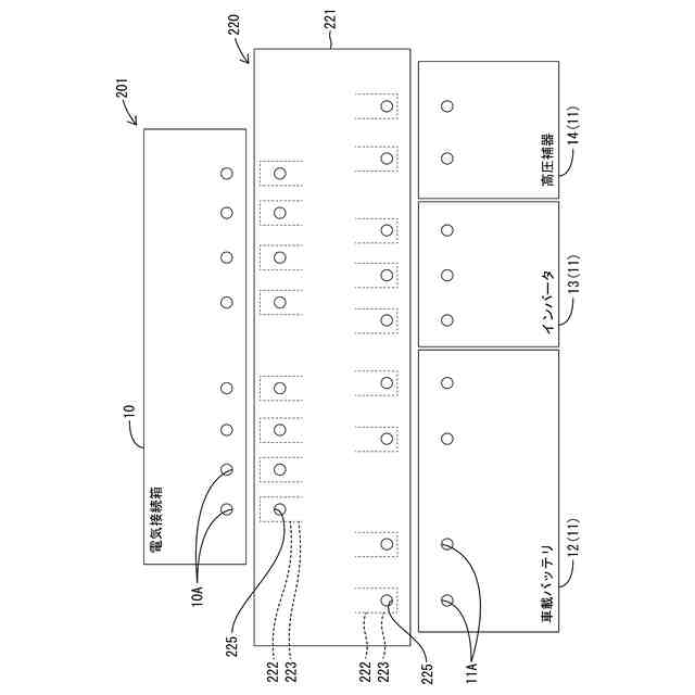
図4は、第2実施形態の接続構造体が電気接続箱及び車載装置に接続される前の状態を示す平面図である。
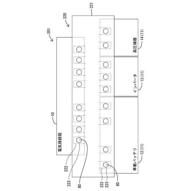
図5は、第2実施形態の接続構造体が電気接続箱及び車載装置に接続された状態を示す平面図である。
【発明を実施するための形態】
【0009】
[本開示の実施形態の説明]
最初に本開示の実施態様を列記して説明する。
【0010】
〔1〕車両に搭載される電気接続箱に複数の車載装置を接続する接続構造体であって、
基材と、前記基材に固定される複数の配線部と、を有し、
前記複数の配線部は、前記電気接続箱に前記各車載装置を接続する
接続構造体。
(【0011】以降は省略されています)
この特許をJ-PlatPat(特許庁公式サイト)で参照する
関連特許
個人
電気を重力で発電装置
23日前
個人
高圧電気機器の開閉器
10日前
キヤノン電子株式会社
モータ
22日前
キヤノン電子株式会社
モータ
1か月前
コーセル株式会社
電源装置
1か月前
日星電気株式会社
ケーブル組立体
1か月前
トヨタ自動車株式会社
モータ
22日前
株式会社アイドゥス企画
減反モータ
10日前
株式会社デンソー
端子台
3日前
個人
二次電池繰返パルス放電器用印刷基板
1か月前
株式会社デンソー
電力変換装置
1か月前
ローム株式会社
半導体集積回路
1日前
矢崎総業株式会社
電源回路
9日前
株式会社デンソー
非接触受電装置
1か月前
トヨタ自動車株式会社
固定子の加熱装置
1か月前
矢崎総業株式会社
給電装置
2日前
株式会社日立製作所
回転電機
1日前
株式会社TMEIC
制御装置
2日前
日産自動車株式会社
ロータシャフト
17日前
日産自動車株式会社
ロータシャフト
17日前
トヨタ自動車株式会社
ステータの製造装置
23日前
大和ハウス工業株式会社
敷設用機器
2日前
ローム株式会社
モータドライバ回路
17日前
個人
非対称鏡像力を有する4層PWB電荷搬送体
17日前
山洋電気株式会社
モータ
1か月前
京商株式会社
模型用非接触電力供給システム
10日前
個人
電線盗難防止方法及び電線盗難防止装置
1か月前
株式会社明治ゴム化成
ワイヤレス給電用部品
1か月前
トヨタ紡織株式会社
ロータの製造装置
1か月前
株式会社マキタ
電動作業機
1か月前
株式会社アイシン
電力変換装置
22日前
株式会社TMEIC
電力変換装置
2日前
トヨタ自動車株式会社
可変界磁ロータ
25日前
株式会社土井製作所
ケーブル保護管路
1日前
ニデック株式会社
回転電機
22日前
本田技研工業株式会社
回転電機用ロータ
10日前
続きを見る
他の特許を見る