TOP
|
特許
|
意匠
|
商標
特許ウォッチ
Twitter
他の特許を見る
10個以上の画像は省略されています。
公開番号
2025150208
公報種別
公開特許公報(A)
公開日
2025-10-09
出願番号
2024050982
出願日
2024-03-27
発明の名称
太陽エネルギー収集システム
出願人
個人
代理人
個人
主分類
H02S
20/32 20140101AFI20251002BHJP(電力の発電,変換,配電)
要約
【課題】部品点数が少なく、構造が簡素化され、安価に製造することが可能な太陽エネルギー収集システムの提供。
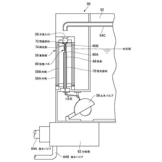
【解決手段】ソーラーパネル12が設置される傾動部20を傾動可能に支持する支持用架台14と、傾斜角変更手段50とを具備し、傾斜角変更手段50は、メイン水タンク52と、メイン水タンク52内への水の供給・停止を行うボールタップと、メイン水タンク52内の水を、止水又は吐水させる止水バルブと、断熱性・保温性素材からなる集熱部と、形状記憶合金製の弾性部材とを有し、弾性部材の一端はメイン水タンク52内の止水バルブと接続され、常温では弾性部材は弾性力が働かない一方、該集熱部内に太陽光が射しこむことによって弾性部材が所定温度以上となった際に弾性力が働くことにより止水バルブを開放して、メイン水タンク52から水を吐水させて、サブ水タンク62A,62B内に水を導入することにより、傾動部20の傾斜角度を変更する。
【選択図】図3
特許請求の範囲
【請求項1】
ソーラーパネルが設置される傾動部を有し、該傾動部を支点によって傾動可能に支持する支持用架台と、該傾動部を太陽光の日射角度の変化に追従して一定範囲で傾動させることにより傾斜角度を変更する傾斜角変更手段とを具備する太陽エネルギー収集システムであって、
前記傾斜角変更手段は、
メイン水タンクと、該メイン水タンク内への水の供給・停止動作を行うボールタップと、前記メイン水タンク内の水を、止水又は吐水させる止水バルブと、断熱性・保温性素材からなる集熱部と、該集熱部内に収容されている形状記憶合金製の弾性部材と、を有し、
前記弾性部材の一端は、直接若しくは索条を介して、前記メイン水タンク内の止水バルブと接続され、他端は前記集熱部内に固定されており、
常温では、該弾性部材は弾性力が働かない一方、
該集熱部内に太陽光が射しこむことによって該弾性部材が所定温度以上となった際は、弾性力が働いて前記メイン水タンク内の前記止水バルブを開放することにより、前記メイン水タンクから水を吐水させて、前記傾動部に取り付けられているサブ水タンク内に水を導入し、
該サブ水タンク内の水の重量により前記傾動部の重心位置を変化させて、該傾動部の傾斜角度を変更するように構成されていることを特徴とする太陽エネルギー収集システム。
続きを表示(約 830 文字)
【請求項2】
前記ソーラーパネルの裏面に水の気化を促進する気化促進シートを取り付け、該気化促進シートに、前記傾動部に取り付けられているサブ水タンクから、水を導くことにより、ソーラーパネルを裏面から冷却することを特徴とする請求項1に記載の太陽エネルギー収集システム。
【請求項3】
前記集熱部の内側に管状部材が配置され、該管状部材の内部には、前記弾性部材の一端と接続された索条が配置されているとともに、該弾性部材の他端は集熱部内の上方位置に、網状部材により吊り下げられるようにして取り付けられていることを特徴とする請求項1又は2に記載の太陽エネルギー収集システム。
【請求項4】
前記水メインタンク内への水の供給は、その内側上部に設けられたボールタップによって行われ、該ボールタップは、前記メイン水タンク内へ水を供給する給水パイプが接続されているとともに、前記集熱部に水を供給する導水パイプが接続されていることを特徴とする請求項1~3のうち、いずれか1項に記載の太陽エネルギー収集システム。
【請求項5】
前記集熱部は外筒及び内筒からなる二重構造であり、該外筒と内筒との間に形成されるリング状部分を断熱層とし、該内筒内に設置されている前記形状記憶合金製の弾性部材における、日射による温度上昇の応答性を向上させていることを特徴とする請求項1~4のうち、いずれか1項に記載の太陽エネルギー収集システム。
【請求項6】
集熱部は、太陽光の日射角度に対応する複数の凸レンズが配置された筒状部材によって形成され、該複数の凸レンズにおける、それぞれの焦点位置は該筒状部材内に設置されている形状記憶合金製の弾性部材上に合致しているとともに、該複数の凸レンズの傾き角は、それぞれ異なる角度となるように取り付けられていることを特徴とする請求項1~4のうち、いずれか1項に記載の太陽エネルギー収集システム。
発明の詳細な説明
【技術分野】
【0001】
本発明は、ソーラーパネル(太陽電池)を利用した太陽エネルギーの収集システムに係り、太陽の日射角度に応じてソーラーパネルの傾斜角度(日射に対する傾斜角度)を自動的に傾動させることが可能な支持用架台を備えた太陽エネルギー収集システムに関する。また、ソーラーパネルの冷却機構をも併せて備えた太陽エネルギー収集システムに関する。
続きを表示(約 2,900 文字)
【背景技術】
【0002】
一般に、太陽光を利用した発電装置や集熱装置は、屋根や地上などに固定した状態で設置されるが、発電装置におけるソーラーパネルの太陽に対する傾斜角度については地域の気候、降雪の有無など、地域の諸特性に合わせて設定される。例えば傾斜角度は、年間の最低発電量若しくは最高発電量を基準に決定するなど、いくつかの設定の仕方がある。一例を挙げると、北緯45度近辺に属する北海道地域では積雪の影響を考慮して35度前後の急角度、北緯27度近辺の沖縄では太陽高度が高くなることから18度前後とするなど、地域によっても変わってくる。
また、太陽は、高度を変えながら東から西へと移動するため、時間帯並びに季節によって日射角度が異なり、ソーラーパネルは可能であるならばパネル面に対して、太陽光が直角に射し込むように傾斜角度を調節することが、発電効率を向上させる上で好ましい。
【0003】
従来、太陽光の日射角度の変化に対応すべく、特開2007-324387号公報(特許文献1)記載の太陽光自動追尾装置に関する発明が公知である。同公報記載の発明は、太陽熱により伸縮する熱変形部材(例えば、形状記憶合金製のバネ)、この熱変形部材に連結された往復軸、ラッチ、歯車等を構成要素とし、太陽光によって加熱された熱変形部材の収縮力を利用して、集光用ミラーの仰角を変化させるようになっている。これによれば、電力を消費することなく、太陽光に対し最適な角度となるよう集光用ミラーの仰角を可変し、集熱効率の向上に寄与するとされている。
【0004】
また、特許第6468575号公報(特許文献2)には太陽光パネルを支持する架台を含む発電システムに関する発明が開示されている。当該発明は一つの架台を、一つの支柱に傾動可能に支持するとともに、第1の展開索条及び巻き取り索条からなる第1索条群、2本の第2展開索条及び1本の係止索条からなる第2索条群等を備え、これらの第1索条群、第2索条群としてワイヤやチェーンなどを利用し、これらの索条群を巻き上げる、又は巻き戻すことにより、架台を支柱に対して上下に傾動させて、太陽光パネルを太陽の日射に対して適する角度に調整するようになっている。当該発明によれば、作業員一人での角度変更作業が可能であるとともに、第1索条群、第2索条群の重量物を支柱の下端直近に集中させることとなるので、架台の揺れを防止して風力による振動を抑制し得るとされている。
【0005】
他方、ソーラーパネルによる発電量はパネルの温度にも左右される。つまり、パネル面の温度が1°C上昇すると発電効率は0.4パーセント程度低下することが知られており、夏季などにパネル面の温度が70°Cに達した場合、2割程度の発電量低下を招くこととなる。そのため、パネルを冷却する仕組みを採り入れた特開2022-172631号公報(特許文献3)に記載された発明が存在している。
【0006】
特許文献3には、その段落番号「0040」~「0044」に記載されているように、ソーラーパネルを支持する架台の下方領域に、空気調和装置の室外機及び偏向部材を設置し、室外機から排出される排気について、室外機の筐体上に設置した偏向部材により、ソーラーパネルの架台の支柱に囲まれた空間内から、室外機の排気を外方向へ吹き出すように構成している。そして、この吹き出された空気に誘引されてソーラーパネルの下方領域周囲の空気も流動することから、それに伴ってソーラーパネル裏面の空気も流れ、これによりソーラーパネルの冷却を行うことができるとされている。
【先行技術文献】
【特許文献】
【0007】
特開2007-324387号公報
特許第6468575号公報
特開2022-172631号公報
【発明の開示】
【発明が解決しようとする課題】
【0008】
しかしながら、前述した特許文献1記載の太陽光自動追尾装置は、駆動機構として、ウォームギア、形状記憶合金バネ、ラッチなどを使用しており、構造の複雑化を招くとともに、部品点数の増大や保守管理に手間を要するという課題があった。
また、特許文献2に記載された発電システムでは一つの支柱によってソーラーパネルを含む架台を支え、且つ、それらのソーラーパネル及び架台をワイヤ等の索条群によって巻き取ることにより傾斜角度を設定する構成である。このため、風が強い地域では多数のソーラーパネルを設置するのは難しいと考えられること、又、季節などに応じソーラーパネルを支える架台の角度変更作業が適時必要であり、保守管理に人手を要するという課題が存する。
さらに、特許文献3に記載されているソーラーパネル用の架台は、空調設備の存在する建物の屋上など、設置可能な箇所が限られるという制限が存在する。
【0009】
本発明はこのような事情に鑑みてなされたものであり、人手による保守管理の手間を少なくすることが可能なであり、且つ、モータなどの電力を必要とする動力が不要な太陽エネルギー収集システムを提供することを目的とする。
また、部品点数の削減が可能であり、構造が簡素化された太陽エネルギー収集システムを提供することを目的とする。
【課題を解決するための手段】
【0010】
請求項1記載の発明は、ソーラーパネル(12)が設置される傾動部(20)を有し、該傾動部(20)を支点によって傾動可能に支持する支持用架台(14)と、該傾動部(20)を太陽光の日射角度の変化に追従して一定範囲で傾動させることにより傾斜角度を変更する傾斜角変更手段(50)とを具備する太陽エネルギー収集システムであって、前記傾斜角変更手段(50)は、メイン水タンク(52)と、該メイン水タンク(52)内への水の供給・停止動作を行うボールタップ(54)と、前記メイン水タンク(52)内の水を、止水又は吐水させる止水バルブ(56)と、断熱性・保温性素材からなる集熱部(58)と、該集熱部(58)内に収容されている形状記憶合金製の弾性部材(60)と、を有し、前記弾性部材(60)の一端は、直接若しくは索条(68)を介して、前記メイン水タンク(52)内の止水バルブ(56)と接続され、他端は前記集熱部(58)内に固定されており、常温では、該弾性部材(60)は弾性力が働かない一方、該集熱部(58)内に太陽光が射しこむことによって該弾性部材(60)が所定温度以上となった際は、弾性力が働いて前記メイン水タンク(52)内の前記止水バルブ(56)を開放することにより、前記メイン水タンク(52)から水を吐水させて、前記傾動部(20)に取り付けられているサブ水タンク(62A,62B)内に水を導入し、該サブ水タンク(62A,62B)内の水の重量により前記傾動部(20)の重心位置を変化させて、該傾動部(20)の傾斜角度を変更するように構成されていることを特徴とする。
(【0011】以降は省略されています)
この特許をJ-PlatPat(特許庁公式サイト)で参照する
関連特許
個人
電気を重力で発電装置
1か月前
個人
高圧電気機器の開閉器
18日前
キヤノン電子株式会社
モータ
1か月前
トヨタ自動車株式会社
モータ
1か月前
株式会社アイドゥス企画
減反モータ
18日前
株式会社デンソー
端子台
11日前
株式会社デンソー
回転電機
2日前
株式会社ダイヘン
送配電装置
2日前
富士電機株式会社
電力変換装置
2日前
ローム株式会社
半導体集積回路
9日前
富士電機株式会社
電力変換装置
2日前
株式会社不二越
空冷式油圧装置
2日前
本田技研工業株式会社
回転電機
4日前
矢崎総業株式会社
給電装置
10日前
株式会社TMEIC
制御装置
10日前
株式会社日立製作所
回転電機
9日前
矢崎総業株式会社
電源回路
17日前
日産自動車株式会社
ロータシャフト
25日前
株式会社イノコンバンク
無線給電システム
2日前
ローム株式会社
モータドライバ回路
25日前
トヨタ自動車株式会社
ステータの製造装置
1か月前
日産自動車株式会社
ロータシャフト
25日前
大和ハウス工業株式会社
敷設用機器
10日前
個人
非対称鏡像力を有する4層PWB電荷搬送体
25日前
株式会社アイシン
電力変換装置
1か月前
株式会社TMEIC
電力変換装置
10日前
京商株式会社
模型用非接触電力供給システム
18日前
サンデン株式会社
モータ
3日前
サンデン株式会社
モータ
3日前
株式会社土井製作所
ケーブル保護管路
9日前
矢崎総業株式会社
電気接続箱
4日前
株式会社日立産機システム
回転電機
9日前
ジヤトコ株式会社
治具
2日前
Astemo株式会社
充電制御装置
9日前
ニデック株式会社
回転電機
1か月前
ローム株式会社
半導体装置
9日前
続きを見る
他の特許を見る