TOP
|
特許
|
意匠
|
商標
特許ウォッチ
Twitter
他の特許を見る
公開番号
2025151691
公報種別
公開特許公報(A)
公開日
2025-10-09
出願番号
2024053241
出願日
2024-03-28
発明の名称
駆動装置
出願人
株式会社アイシン
代理人
弁理士法人R&C
主分類
H02K
5/173 20060101AFI20251002BHJP(電力の発電,変換,配電)
要約
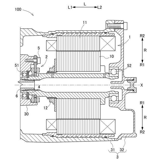
【課題】ロータに対して軸方向第1側においてロータ軸を支持する支持軸受が、径方向の外側及び軸方向第1側からケースに支持されると共に、回転センサがロータと支持軸受との軸方向の間に配置され、更に、センサステータの内径が支持軸受の外径よりも小さい構成であっても、支持軸受及びロータ軸のケースに対する組み付けを可能としつつ、支持軸受を適切に軸方向に付勢できることが可能な技術を実現する。
【解決手段】駆動装置は、回転電機とロータ軸12と回転センサ2とケースとを備える。支持軸受51の内輪51bは、付勢機構4により軸方向第1側L1に付勢され、付勢機構4は、第1支持体41と、第2支持体42と、第1支持体41と第2支持体42とを軸方向Lに互いに離間させる方向に付勢する弾性体43とを備え、弾性体43の内径D3は、内輪51bの外径D4よりも大きい。
【選択図】図2
特許請求の範囲
【請求項1】
ロータを備えた回転電機と、前記ロータと一体的に回転するように前記ロータに固定されたロータ軸と、前記ロータの回転を検出する回転センサと、前記回転電機及び前記回転センサを収容するケースと、を備えた駆動装置であって、
前記ロータ軸の回転軸心に沿う方向を軸方向とし、前記回転軸心に直交する方向を径方向とし、前記軸方向の一方側を軸方向第1側とし、前記軸方向の他方側を軸方向第2側として、
前記ロータ軸は、前記ロータに対して前記軸方向第1側において、支持軸受を介して前記ケースに対して回転自在に支持され、
前記回転センサは、前記ロータと一体的に回転するセンサロータと、前記ケースに固定されたセンサステータと、を備えていると共に、前記ロータと前記支持軸受との前記軸方向の間に配置され、
前記センサステータの内径は、前記支持軸受の外径よりも小さく、
前記支持軸受は、外輪と、内輪と、前記外輪と前記内輪との間で転動する転動体と、を備え、
前記ケースは、前記外輪を前記径方向の外側及び前記軸方向第1側から支持するケース側支持部を備え、
前記内輪は、前記ロータ軸の外周面に嵌合していると共に、当該内輪と前記ロータ軸における前記軸方向第1側を向く支持面との間に配置された付勢機構により前記軸方向第1側に付勢され、
前記付勢機構は、前記支持面に対して前記軸方向第1側から接するように配置された第1支持体と、前記外輪に接することなく前記内輪に対して前記軸方向第2側から接するように配置された第2支持体と、前記第1支持体と前記第2支持体との間に配置されて前記第1支持体と前記第2支持体とを前記軸方向に互いに離間させる方向に付勢する弾性体と、を備え、
前記弾性体の内径は、前記内輪の外径よりも大きい、駆動装置。
続きを表示(約 380 文字)
【請求項2】
前記ケース側支持部を構成する材料の線膨張係数は、前記外輪を構成する材料の線膨張係数よりも大きく、
前記外輪と前記ケース側支持部との前記径方向の嵌め合い隙間が、前記内輪と前記ロータ軸との前記径方向の嵌め合い隙間よりも小さい、請求項1に記載の駆動装置。
【請求項3】
前記付勢機構は、予め定められた範囲よりも外側に前記第1支持体と前記第2支持体とが離間しないように、前記第1支持体と前記第2支持体とを前記軸方向に係止する係止機構を備える、請求項1又は2に記載の駆動装置。
【請求項4】
前記弾性体は、ウェーブワッシャ又は皿ばねであり、
前記ケース側支持部は、前記第1支持体及び前記第2支持体の少なくとも一方を前記径方向の外側から支持するように構成されている、請求項1又は2に記載の駆動装置。
発明の詳細な説明
【技術分野】
【0001】
本発明は、ロータを備えた回転電機と、ロータに固定されたロータ軸と、ロータの回転を検出する回転センサと、回転電機及び回転センサを収容するケースと、を備えた駆動装置に関する。
続きを表示(約 3,100 文字)
【背景技術】
【0002】
上記のような駆動装置の一例が、特開2020-156279号公報(特許文献1)に開示されている。以下、背景技術の説明において括弧内に示す符号は特許文献1のものである。特許文献1の駆動装置は、回転電機(100)と、ロータ軸としてのロータシャフト(3B)と、回転センサとしてのレゾルバ(7)と、ケースとしてのハウジング(1)と、を備えている。ロータシャフト(3B)は、ロータ(3)に対して軸方向の一方側である軸方向第1側(特許文献1の図1における左側)において、リヤボールベアリング(6)を介してハウジング(1)に対して回転自在に支持されている。
【0003】
特許文献1の図1に示されているように、リヤボールベアリング(6)は、径方向の外側及び軸方向第1側(当該図1における左側)からハウジング(1)に支持されている。そして、特許文献1の段落0020に記載されているように、リヤボールベアリング(6)は、内輪(6B)がしまり嵌めによりロータシャフト(3B)に固定され、外輪(6A)がすきま嵌めによりハウジング(1)に固定されている。そのため、この駆動装置の製造時には、リヤボールベアリング(6)がしまり嵌めにより固定されたロータシャフト(3B)が、軸方向の他方側である軸方向第2側(特許文献1の図1における右側)からハウジング(1)に対して組み付けられると理解される。そして、特許文献1の段落0043に記載されている目的のために、リヤボールベアリング(6)は、ウェーブワッシャ(9)によって軸方向に付勢されている。
【先行技術文献】
【特許文献】
【0004】
特開2020-156279号公報
【発明の概要】
【発明が解決しようとする課題】
【0005】
上記のように、特許文献1の駆動装置では、ロータに対して軸方向第1側(特許文献1の図1における左側)においてロータ軸を支持する支持軸受(特許文献1では、リヤボールベアリング)が、径方向の外側及び軸方向第1側からケース(特許文献1では、ハウジング)に支持され、回転センサ(特許文献1では、レゾルバ)は、支持軸受に対して軸方向第1側に配置されている。特許文献1には記載されていないが、回転センサが、ロータと支持軸受との軸方向の間に配置される構成とすることも考えられる。このような構成を採用した場合であっても、支持軸受及びロータ軸のケースに対する組み付けを可能としつつ、支持軸受を適切に軸方向に付勢できることが望ましい。この点に関して、特許文献1の駆動装置では、当該文献1の図1に示されているように、回転センサにおけるケースに対して固定される部材であるセンサステータの内径が、支持軸受の外径よりも小さい。そのため、仮に回転センサがロータと支持軸受との軸方向の間に配置される構成とした場合、センサステータと支持軸受との干渉により、上記のように支持軸受がしまり嵌めにより固定されたロータ軸をケースに対して軸方向第2側(特許文献1の図1における右側)から組み付けることができないおそれがある。
【0006】
そこで、ロータに対して軸方向第1側においてロータ軸を支持する支持軸受が、径方向の外側及び軸方向第1側からケースに支持されると共に、回転センサがロータと支持軸受との軸方向の間に配置され、更に、センサステータの内径が支持軸受の外径よりも小さい構成であっても、支持軸受及びロータ軸のケースに対する組み付けを可能としつつ、支持軸受を適切に軸方向に付勢できることが可能な技術の実現が望まれる。
【課題を解決するための手段】
【0007】
本開示に係る駆動装置は、ロータを備えた回転電機と、前記ロータと一体的に回転するように前記ロータに固定されたロータ軸と、前記ロータの回転を検出する回転センサと、前記回転電機及び前記回転センサを収容するケースと、を備えた駆動装置であって、前記ロータ軸の回転軸心に沿う方向を軸方向とし、前記回転軸心に直交する方向を径方向とし、前記軸方向の一方側を軸方向第1側とし、前記軸方向の他方側を軸方向第2側として、前記ロータ軸は、前記ロータに対して前記軸方向第1側において、支持軸受を介して前記ケースに対して回転自在に支持され、前記回転センサは、前記ロータと一体的に回転するセンサロータと、前記ケースに固定されたセンサステータと、を備えていると共に、前記ロータと前記支持軸受との前記軸方向の間に配置され、前記センサステータの内径は、前記支持軸受の外径よりも小さく、前記支持軸受は、外輪と、内輪と、前記外輪と前記内輪との間で転動する転動体と、を備え、前記ケースは、前記外輪を前記径方向の外側及び前記軸方向第1側から支持するケース側支持部を備え、前記内輪は、前記ロータ軸の外周面に嵌合していると共に、当該内輪と前記ロータ軸における前記軸方向第1側を向く支持面との間に配置された付勢機構により前記軸方向第1側に付勢され、前記付勢機構は、前記支持面に対して前記軸方向第1側から接するように配置された第1支持体と、前記外輪に接することなく前記内輪に対して前記軸方向第2側から接するように配置された第2支持体と、前記第1支持体と前記第2支持体との間に配置されて前記第1支持体と前記第2支持体とを前記軸方向に互いに離間させる方向に付勢する弾性体と、を備え、前記弾性体の内径は、前記内輪の外径よりも大きい。
【0008】
本構成によれば、付勢機構により支持軸受の内輪を軸方向に付勢する構成となっているため、外輪とケース側支持部との嵌め合い隙間を、内輪とロータ軸との嵌め合い隙間よりも小さくしやすい。これにより、ロータに対して軸方向第1側においてロータ軸を支持する支持軸受を、ケース側支持部に先に組み付けた状態で、ロータ軸をケースに組み付けるという組み付け順序とすることができる。従って、支持軸受が径方向の外側及び軸方向第1側からケースに支持されると共に、回転センサがロータと支持軸受との軸方向の間に配置され、更に、センサステータの内径が支持軸受の外径よりも小さい構成であっても、センサステータとの干渉を回避しつつ支持軸受及びロータ軸をケースに対して組み付けることが可能となっている。
【0009】
また、本構成によれば、支持軸受が付勢機構によって軸方向に付勢されているため、ロータ及びロータ軸の軸方向のがたつきを少なく抑えることができる。そして、本構成によれば、第1支持体がロータ軸の支持面に対して軸方向第1側から接するように配置され、第2支持体が内輪に対して軸方向第2側から接するように配置され、弾性体が第1支持体と第2支持体との間に配置されているため、弾性体の内径を内輪の外径よりも大きくしつつ、当該弾性体により内輪を軸方向に付勢することができる。従って、弾性体の径を大きく確保しやすく、その結果、支持軸受を適切に軸方向に付勢できる程度に弾性体の弾性力を確保しやすい。
【0010】
以上のように、本構成によれば、ロータに対して軸方向第1側においてロータ軸を支持する支持軸受が、径方向の外側及び軸方向第1側からケースに支持されると共に、回転センサがロータと支持軸受との軸方向の間に配置され、更に、センサステータの内径が支持軸受の外径よりも小さい構成であっても、支持軸受及びロータ軸のケースに対する組み付けを可能としつつ、支持軸受を適切に付勢できることが可能となっている。
(【0011】以降は省略されています)
この特許をJ-PlatPat(特許庁公式サイト)で参照する
関連特許
株式会社アイシン
車両
10日前
株式会社アイシン
車両
10日前
株式会社アイシン
熱交換器
10日前
株式会社アイシン
熱交換器
10日前
株式会社アイシン
キックセンサ
23日前
株式会社アイシン
電力変換装置
23日前
株式会社アイシン
操作検出装置
4日前
株式会社アイシン
動力変換装置
10日前
株式会社アイシン
ヒートシンク
23日前
株式会社アイシン
ドアロック装置
1か月前
株式会社アイシン
冷却モジュール
23日前
株式会社アイシン
車両用駆動装置
23日前
株式会社アイシン
車両用駆動装置
25日前
株式会社アイシン
車両用ドア装置
23日前
株式会社アイシン
車両用駆動装置
10日前
株式会社アイシン
回転角検出装置
10日前
株式会社アイシン
位置姿勢取得装置
3日前
株式会社アイシン
車両用駆動伝達装置
10日前
株式会社アイシン
複合歯車の製造方法
2日前
株式会社アイシン
車両用駆動伝達装置
25日前
株式会社アイシン
車両用駆動伝達装置
26日前
株式会社アイシン
静電容量センサシステム
24日前
株式会社アイシン
二酸化炭素回収システム
3日前
株式会社アイシン
車両用のドアロック装置
23日前
株式会社アイシン
ペロブスカイト太陽電池
24日前
株式会社アイシン
ペロブスカイト太陽電池の製造方法
11日前
株式会社アイシン
バルブ制御装置及びバルブ制御方法
26日前
株式会社アイシン
バルブ装置の学習装置及び学習方法
26日前
株式会社アイシン
ペロブスカイト太陽電池及びカーボン液
2日前
株式会社アイシン
車両用制御装置及び車両用制御プログラム
3日前
株式会社豊田中央研究所
非接触給電可能な回転電機
1か月前
株式会社アイシン
水性エマルジョン系制振塗料組成物及びその硬化塗膜
23日前
株式会社アイシン
ホール輸送材料およびホール輸送材料を用いた太陽電池
1か月前
株式会社アイシン
ホール輸送材料およびホール輸送材料を用いた太陽電池
1か月前
株式会社アイシン
ペロブスカイト太陽電池及びペロブスカイト太陽電池の製造方法
1か月前
トヨタ自動車株式会社
計数装置、計数方法及び計数用コンピュータプログラム
2日前
続きを見る
他の特許を見る